lemon-mirror:
Home >> Honda >> 2012 >> Ridgeline RT >> Repair and Diagnosis >> Body & Frame >> Windows >> Power Windows >> Back Power Window Position Switch Test

Back Power Window Position Switch Test

  1. Remove the rear panel trim (see REAR PANEL INSULATOR REPLACEMENT ).
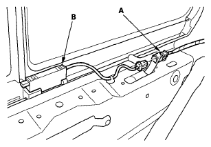
  2. Disconnect the 2P connector (A) from the back power window position switch (B).
    Fig 1: Identifying Back Power Window Position Switch 2P Connector Terminals
    G05968796Courtesy of AMERICAN HONDA MOTOR CO., INC.
  3. Check for continuity between the terminals in each back power window position according to the table.
    Fig 2: Terminal Continuity Reference Chart
    G00509299Courtesy of AMERICAN HONDA MOTOR CO., INC.
  4. If the continuity is not as specified, replace the switch.
  5. Install the switch in the reverse order of removal.