lemon-mirror:
Home >> Honda >> 2012 >> Ridgeline RT >> Repair and Diagnosis >> Transmission >> Automatic Trans >> Automatic Transmission >> ATF Level Check

ATF Level Check

NOTE: Keep all foreign particles out of the transmission.
  1. Park the vehicle on the level ground.
  2. Warm up the engine to normal operating temperature (the radiator fan comes on), and turn the engine off. Do not allow the engine to warm up longer than the time it takes for the radiator fan to come on twice.
    NOTE: Check the fluid level within 60-90 seconds after turning the engine off. Higher fluid level may be indicated if the radiator fan comes on twice or more.
  3. Remove the dipstick (yellow loop) (A) from the dipstick guide tube, and wipe it with a clean cloth.
    Fig 1: Identifying Dipstick (Yellow Loop)
    G06628761Courtesy of AMERICAN HONDA MOTOR CO., INC.
  4. Insert the dipstick into the tube.
  5. Remove the dipstick (A) and check the fluid level. It should be between the upper mark (B) and the lower mark (C).
    Fig 2: Identifying Dipstick Fluid Level
    G06628762Courtesy of AMERICAN HONDA MOTOR CO., INC.
  6. If the level is below the lower mark, check for fluid leaks at the transmission, the hose and the line joints, and the cooler lines. If a problem is found, fix it before filling the transmission.
    NOTE: If the vehicle is driven when the ATF level is below the lower mark, one or more of these symptoms may occur:
    • Transmission damage.
    • Vehicle does not move in any gear.
    • Vehicle accelerates poorly, and flares when starting off in D and R.
    • The engine vibrates at idle.
  7. If the level is above the upper mark, drain the ATF to the proper level.
    NOTE: If the vehicle is driven when the ATF level is above the upper mark, the vehicle may creep forward while in N, or have shifting problems.
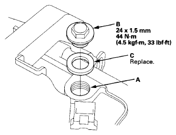
  8. If necessary fill the transmission with the recommended fluid through the filler hole (A) to bring the fluid level midway between the upper mark and the lower mark of the dipstick. Do not fill past the upper mark. Always use Honda ATF-Z1 Automatic Transmission Fluid (ATF). Using a non-Honda ATF can affect shift quality.
    Fig 3: Filler Hole, ATF Filler Bolt And Sealing Washer With Torque Specifications
    G06628763Courtesy of AMERICAN HONDA MOTOR CO., INC.
  9. Install the ATF filler bolt (B) and a new sealing washer (C).
  10. Check the ATF level.