lemon-mirror:
Home >> Honda >> 2012 >> Ridgeline RT >> Repair and Diagnosis >> Transmission >> Automatic Trans >> Automatic Transmission >> Shift Cable Replacement

Shift Cable Replacement

  1. Raise the vehicle on a lift, and make sure it is supported securely (see LIFT AND SUPPORT POINTS ).
  2. Remove the driver's dashboard lower cover (see DRIVER'S DASHBOARD LOWER COVER REMOVAL/INSTALLATION ).
  3. Remove the steering column covers (see STEERING COLUMN REMOVAL AND INSTALLATION ), and lower the steering column.
  4. Shift the shift lever to R.
  5. Slide the lock tab (A) on the shift cable end holder (B) toward the shift cable socket holder.
    Fig 1: Sliding Lock Tab On Shift Cable End Holder Toward Shift Cable Socket Holder
    G06628924Courtesy of AMERICAN HONDA MOTOR CO., INC.
  6. Grasp the shift cable lock (C) in the middle with angle-jaw needle-nose pliers (D), and remove it from the shift cable end and the shift cable end holder. Do not pry the shift cable lock with a screwdriver, it may damage the shift cable end holder.
  7. Separate the shift cable end (A) from the shift cable end holder (B).
    Fig 2: Identifying Shift Cable End And Shift Cable End Holder
    G06628925Courtesy of AMERICAN HONDA MOTOR CO., INC.
  8. Rotate the socket holder (A) on the shift cable (B) a quarter turn; the tab (C) on the socket holder will be in the opening (D) of the socket holder bracket (E). Then slide the holder to remove the shift cable from the socket holder bracket.
    Fig 3: Removing Shift Cable From Socket Holder Bracket
    G06628926Courtesy of AMERICAN HONDA MOTOR CO., INC.
  9. Do the battery removal procedure (see BATTERY TERMINAL DISCONNECTION AND RECONNECTION ), then remove the battery tray.
  10. Remove the engine cover, the air intake duct, the resonator, and the air cleaner housing.
  11. Remove the battery base and the battery base bracket.
  12. Remove the nuts securing the shift cable bracket (A).
    Fig 4: Identifying Shift Cable Bracket, Spring Clip, Control Pin And Control Lever
    G06628927Courtesy of AMERICAN HONDA MOTOR CO., INC.
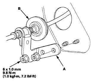
  13. Remove the spring clip (B) and control pin (C), then separate the shift cable end (D) from the control lever (E).
  14. Remove the nuts securing the shift cable bracket (A).
    Fig 5: Identifying Shift Cable Bracket And Shift Cable Grommet
    G06628928Courtesy of AMERICAN HONDA MOTOR CO., INC.
  15. Remove the shift cable grommet (B), and pull out the shift cable.
  16. Insert a new shift cable through the grommet hole, and install the grommet in its hole. Do not bend the shift cable excessively.
  17. Secure the shift cable bracket with the nuts.
  18. Apply molybdenum grease to the hole in the bushing (A) in the shift cable end (B).
    Fig 6: Identifying Control Lever, Control Pin, Bushing And Spring Clip
    G06628929Courtesy of AMERICAN HONDA MOTOR CO., INC.
  19. Attach the shift cable end to the control lever (C), then insert the control pin (D) into the control lever hole through the shift cable end, and secure the control pin with the spring clip (E).
  20. Secure the shift cable bracket (F) with the nuts on the transmission housing.
  21. Verify that the transmission is in R at the control lever on the transmission range switch.
  22. If necessary, push the shift cable (A) until it stops, then release it. Pull the shift cable back one step so that the shift position is in R. Do not hold the shift cable guide (B) and the damper (C) to adjust the shift cable.
    Fig 7: Identifying Shift Cable, Cable Guide And Damper
    G06628930Courtesy of AMERICAN HONDA MOTOR CO., INC.
  23. Place the shift lever in R, then insert a 6.0 mm (0.24 in) pin (A) through the positioning hole (B) on the shift lever link, and into the positioning hole on the shift lever bracket. The shift lever (C) is secured in R.
    Fig 8: Inserting Pin Through Positioning Hole On Shift Lever Link
    G06628931Courtesy of AMERICAN HONDA MOTOR CO., INC.
  24. Rotate the socket holder (A) on the shift cable (B) to place the tab (C) on the holder opposite to the opening (D) in the socket holder bracket (E). Align the holder with the opening (F) in the bracket, then slide the holder into the bracket. Rotate the holder a quarter turn until the holder lock (G) stops at the projection (H) to secure the shift cable. Do not install the shift cable by twisting the shift cable guide (I) and the damper (J).
    Fig 9: Installing Shift Cable
    G06628932Courtesy of AMERICAN HONDA MOTOR CO., INC.
  25. Install the shift cable end (A) in the shift cable end holder (B). Keep the shift cable end and end holder free of grease.
    Fig 10: Identifying Shift Cable End And Shift Cable End Holder
    G06628933Courtesy of AMERICAN HONDA MOTOR CO., INC.
  26. Install a new shift cable lock (A) to secure the shift cable end and shift cable end holder, then slide the lock tab (B) toward the shift lever link until it stops to lock the joint (C).
    Fig 11: Identifying Shift Cable Lock, Lock Tab And Joint
    G06628934Courtesy of AMERICAN HONDA MOTOR CO., INC.
  27. Remove the 6.0 mm (0.24 in) pin that was installed to hold the shift lever.
  28. Install the battery base bracket and the battery base.
  29. Install the air cleaner housing, the resonator, the air intake duct, and the engine cover.
  30. Install the battery tray, then do the battery installation procedure (see BATTERY TERMINAL DISCONNECTION AND RECONNECTION ).
  31. Move the shift lever to each position, and check that the A/T gear position indicator follows the transmission range switch.
  32. Raise the vehicle on a lift, and allow all the wheels to rotate freely.
  33. Start the engine, and check the shift lever operation in all gears.
  34. Push the shift lock release, and verify that the shift lever releases.
  35. Install the steering column covers (see STEERING COLUMN REMOVAL AND INSTALLATION ).
  36. Install the driver's dashboard lower cover (see DRIVER'S DASHBOARD LOWER COVER REMOVAL/INSTALLATION ).