lemon-mirror:
Home >> Honda >> 2012 >> Ridgeline RT >> Repair and Diagnosis >> Transmission >> Automatic Trans >> Automatic Transmission >> System Description >> Electronic Control System >> Lock-up Control

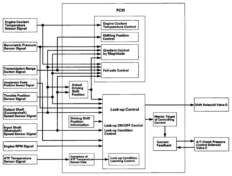
Lock-up Control

Shift solenoid valve D controls the hydraulic pressure to switch the lock-up shift valve and lock-up ON and OFF. When the PCM actuates shift solenoid valve D and A/T clutch pressure control solenoid valve C ON, and lock-up starts. A/T clutch pressure control solenoid valve C regulates and applies hydraulic pressure to the lock-up control valve to control the amount of lock-up. The lock-up mechanism operates in D (2nd, 3rd, 4th, and 5th gears), and in the D3 driving mode (2nd and 3rd gears).

Fig 1: Lock-Up Control System Diagram
G06628609Courtesy of AMERICAN HONDA MOTOR CO., INC.