lemon-mirror:
Home >> Honda >> 2012 >> Ridgeline RT >> Repair and Diagnosis >> Transmission >> Automatic Trans >> Automatic Transmission >> Transfer Assembly Inspection

Transfer Assembly Inspection

  1. Raise the vehicle on a lift, and make sure it is supported securely (see LIFT AND SUPPORT POINTS ).
  2. Shift the shift lever into N.
  3. Make a reference mark (A) across the propeller shaft (B) and the transfer companion flange (C).
    Fig 1: Reference Mark Across Propeller Shaft And Transfer Companion Flange With Torque Specifications
    G06628768Courtesy of AMERICAN HONDA MOTOR CO., INC.
  4. Separate the propeller shaft from the transfer companion flange.
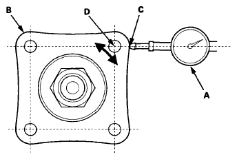
  5. Set a dial indicator (A) on the transfer companion flange (B); position dial indicator tip (C) on the direct extension of the bolt hole center (D).
    Fig 2: Positioning Dial Indicator On Transfer Companion Flange
    G06628769Courtesy of AMERICAN HONDA MOTOR CO., INC.
  6. Measure the transfer gear backlash.

    Standard: 0.06-0.17 mm (0.002-0.007 in) 

  7. If the backlash is out of standard, remove the transfer assembly, and adjust the transfer gear backlash (see REASSEMBLY ).
  8. Check for fluid leaks between the mating faces of the transfer assembly and the transmission.
  9. If there is a leak, remove the transfer assembly, remove the transfer cover, and replace the O-ring.
  10. Check for fluid leaks between the transfer companion flange and the transfer oil seal.
  11. If there is a leak, remove the transfer assembly from the transmission, and replace the transfer oil seal and the O-ring on the transfer output shaft (hypoid gear). If an oil seal and an O-ring replacement is required, you will need to check and adjust the transfer gear tooth contact, the transfer gear backlash, the tapered roller bearing starting torque, and the total starting torque (see REASSEMBLY ). Do not replace the oil seal with the transfer assembly on the transmission.