lemon-mirror:
Home >> Honda >> 2014 >> Pilot EX, FWD >> Repair and Diagnosis >> Body & Frame >> Windows >> Power Windows >> Rear Power Window Switch Test/Replacement

Rear Power Window Switch Test/Replacement

  1. Remove the rear door panel (see FRONT DOOR SIDE SILL SEAL REPLACEMENT ).
  2. Remove the screws and disconnect the connector (A) from the rear power window switch (B), then remove the switch assembly from the door panel.
    Fig 1: Identifying Connector And Rear Power Window Switch
    G08089045Courtesy of AMERICAN HONDA MOTOR CO., INC.
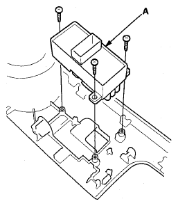
  3. Remove the three screws and the rear power window switch (A).
    Fig 2: Identifying Rear Power Window Switch
    G08089046Courtesy of AMERICAN HONDA MOTOR CO., INC.
  4. Swap the rear power window switch with another known-good rear power window switch and test. If the original power window switch is faulty; replace it.
  5. Install the switch in the reverse order of removal.