lemon-mirror:
Home >> Honda >> 2015 >> Pilot Touring, FWD >> Repair and Diagnosis >> Transmission >> Automatic Trans >> Automatic Transmission >> Automatic Transmission >> Electronic Control System >> Electronic Control >> Lock-Up Control

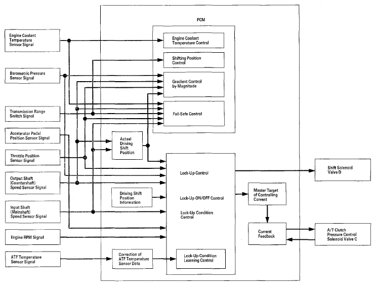
Lock-Up Control

Shift solenoid valve D controls the hydraulic pressure to switch the lock-up shift valve ON and OFF. When the PCM actuates shift solenoid valve D and A/T clutch pressure control solenoid valve C ON, and lock-up starts. A/T clutch pressure control solenoid valve C applies and regulates hydraulic pressure to the lock-up control valve to control the amount of lock-up. The lock-up mechanism operates in D (2nd, 3rd, 4th, and 5th), and D with the D3 driving mode (2nd and 3rd).

Fig 1: Lock-Up Control Circuit Diagram
G08087088Courtesy of AMERICAN HONDA MOTOR CO., INC.