lemon-mirror:
Home >> Hummer >> 2003 >> H2 >> Repair and Diagnosis >> Body & Frame >> Windows >> Stationary Windows >> Repair Instructions >> Rearview Mirror Replacement >> Installation Procedure

Installation Procedure

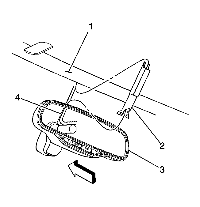
    Fig 1: Electrical Connector & Rearview Mirror
    GM1453822Courtesy of GENERAL MOTORS CORP.
  1. Slide the mirror (3) onto the mirror support.
  2. NOTE: Refer to Fastener Notice in Cautions and Notices.
  3. Install the set screw.

    Tighten:  Tighten the set screw to 2 N.m (18 lb in).

  4. Connect the electrical connector (4), if equipped.
  5. Install the wire cover (2), if equipped.
  6. Ensure the wire cover is tucked into the forward edge of the headliner (1).
  7. Re-calibrate the compass. Refer to Compass Calibration and Variance Procedure .