lemon-mirror:
Home >> Hummer >> 2003 >> H2 >> Repair and Diagnosis >> External Pages >> Different car >> Section 17 (Supplemental Inflatable Restraint System) >> Diagnostics >> Connector Identification

Connector Identification

WARNING: This page is about a different car, the 2002 Oldsmobile Aurora. However, it is still accessible from the selected car via links, so may be relevant.
NOTE: Refer to illustrations to identify SIR connector terminals. See Fig 1 - Fig 6 .
Fig 1: Identifying SDM Connector Terminals
G99H23975Courtesy of GENERAL MOTORS CORP.
Fig 2: Identifying Driver-side Air Bag Module Connector Terminals
G99A26724Courtesy of GENERAL MOTORS CORP.
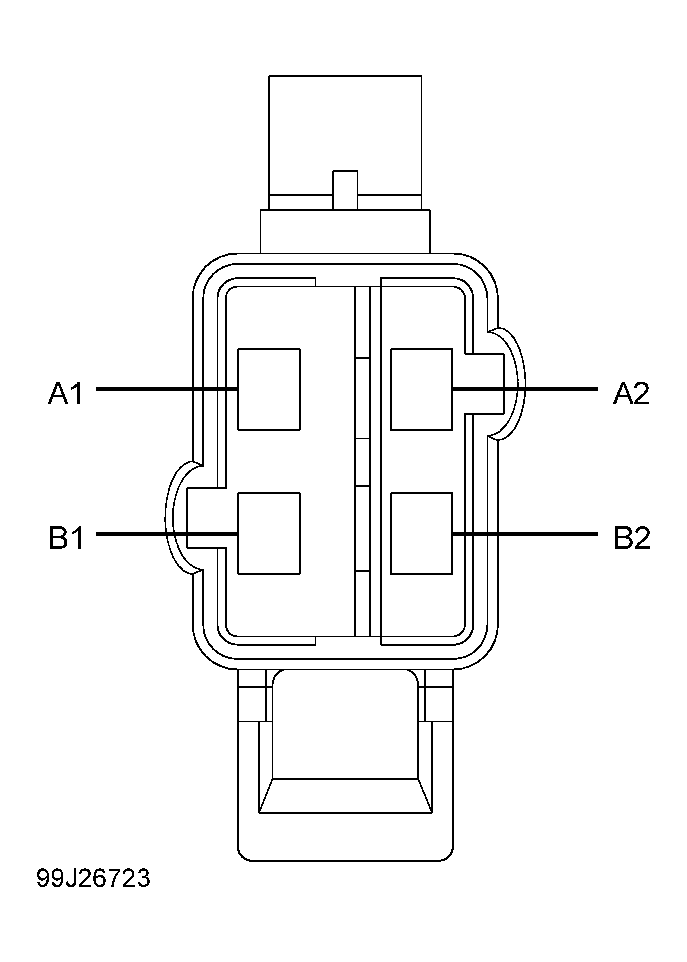
Fig 3: Identifying Passenger-side Air Bag Module Connector Terminals
G99J26723Courtesy of GENERAL MOTORS CORP.
Fig 4: Identifying Side Impact Air Bag Module Terminals
G99J22151Courtesy of GENERAL MOTORS CORP.
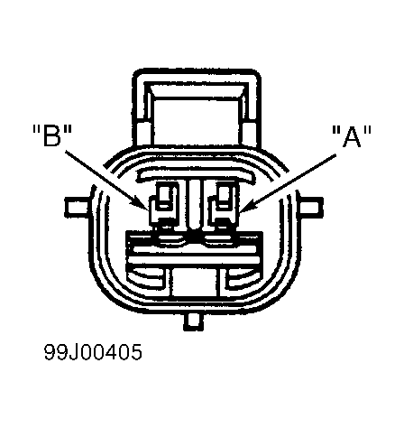
Fig 5: Identifying Side Impact Sensor (SIS) Connector Terminals
G99J00405Courtesy of GENERAL MOTORS CORP.
Fig 6: Identifying Front End Discriminating Sensor Connector Terminals
G99J23969Courtesy of GENERAL MOTORS CORP.