lemon-mirror:
Home >> Hummer >> 2003 >> H2 >> Repair and Diagnosis >> External Pages >> Different car >> Section 292 (Lighting System) >> Combination Switch Disassembly/Assembly

Combination Switch Disassembly/Assembly

WARNING: This page is about a different car, the 2004 Mazda 3. However, it is still accessible from the selected car via links, so may be relevant.
  1. Disassemble in the order indicated in the table.
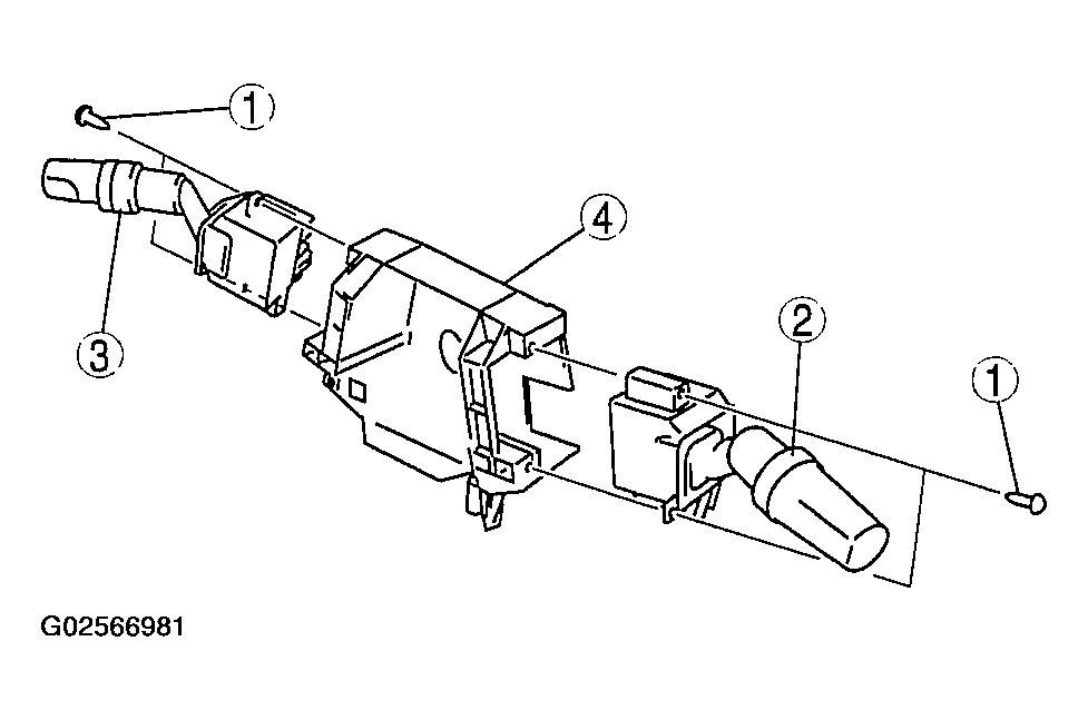
    Fig 1: Disassembling/Assembling Combination Switch
    G02566981Courtesy of MAZDA MOTORS CORP.
    DISASSEMBLING ORDER OF COMBINATION OF SWITCH

    Removal Order Part
    1 Screw
    2 Wiper and washer switch
    3 Light switch
    4 Body
  2. Assemble in the reverse order of disassembly.