lemon-mirror:
Home >> Hummer >> 2003 >> H2 >> Repair and Diagnosis >> External Pages >> Different car >> Section 292 (Lighting System) >> Inboard Light Removal/Installation >> Notes

Inboard Light Removal/Installation: Notes

WARNING: This page is about a different car, the 2004 Mazda 3. However, it is still accessible from the selected car via links, so may be relevant.
  1. Disconnect the negative battery cable.
  2. Remove the trunk lid trim. (4 door) (See TRUNK LID TRIM REMOVAL/INSTALLATION .)
  3. Remove the service hole cover. (5 door)
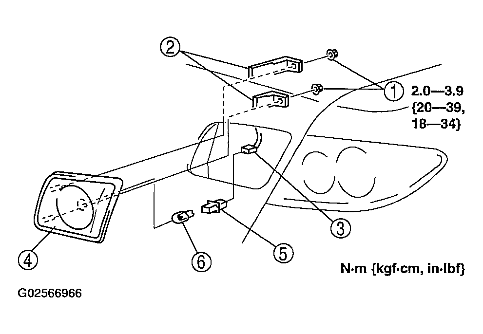
  4. Remove in the order indicated in the table.
    Fig 1: Inboard Light With Torque Specifications
    G02566966Courtesy of MAZDA MOTORS CORP.
    REMOVAL ORDER OF INBOARD LIGHT

    Removal Order Part
    1 Nut
    2 Bracket
    3 Connector
    4 Inboard light (See Inboard Light Installation Note .)
    5 Socket
    6 Back-up light bulb
  5. Install in the reverse order of removal.