lemon-mirror:
Home >> Hummer >> 2003 >> H2 >> Repair and Diagnosis >> External Pages >> Different car >> Section 294 (Entertainment System) >> Audio Unit Disassembly/Assembly

Audio Unit Disassembly/Assembly

WARNING: This page is about a different car, the 2004 Mazda 3. However, it is still accessible from the selected car via links, so may be relevant.
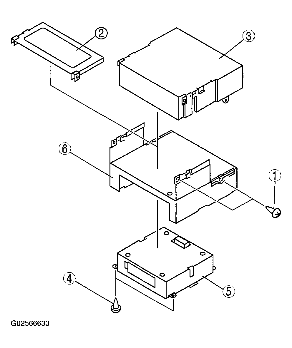
  1. Disassemble in the order indicated in the table.
    DISASSEMBLING ORDER OF AUDIO UNIT

    1 Screw
    2 Cover (Vehicles without the upper module)
    3 Upper module
    4 Screw
    5 Lower module
    6 Base unit
  2. Assemble in the reverse order of disassembly.
    Fig 1: Disassembling/Assembling Audio Unit
    G02566633Courtesy of MAZDA MOTORS CORP.