lemon-mirror:
Home >> Hummer >> 2003 >> H2 >> Repair and Diagnosis >> External Pages >> Different car >> Section 316 (Lighting Systems) >> Component Locator >> Lighting Systems Component Views

Lighting Systems Component Views

WARNING: This page does not describe the selected car, but rather 8 other vehicles, including the 2003 GMC Yukon XL, 2003 GMC Yukon, 2003 Chevrolet Tahoe, 2003 Chevrolet Suburban, and 2003 Chevrolet Avalanche. However, it is still accessible from the selected car via links, so may be relevant.
Fig 1: Lighting Systems Component - Cargo Lamps (Avalanche/Escalade EXT)
G01457330Courtesy of GENERAL MOTORS CORP.
Fig 2: Lighting Systems Component - Hood
G01457331Courtesy of GENERAL MOTORS CORP.
Fig 3: Lighting Systems Component - Roof Marker & Clearance Lamps
G01457332Courtesy of GENERAL MOTORS CORP.
Fig 4: Lighting Systems Component (Junction Block - Rear Lamps)
G01457333Courtesy of GENERAL MOTORS CORP.
Fig 5: Lighting Systems Component - LF Corner Of Bumper
G01457334Courtesy of GENERAL MOTORS CORP.
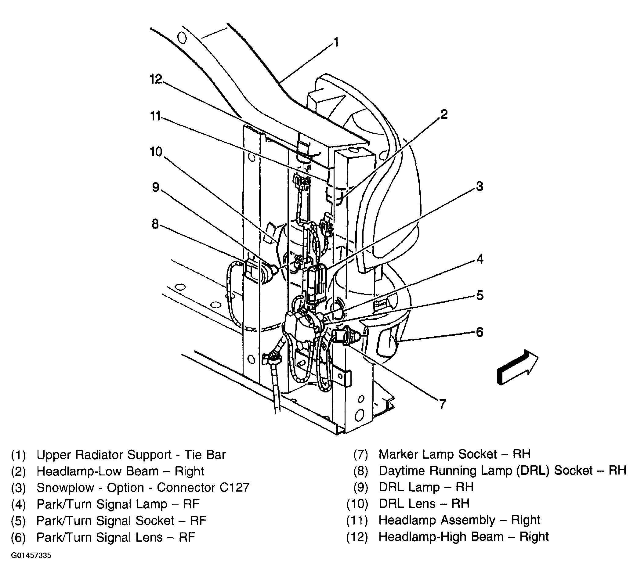
Fig 6: Lighting Systems Component (RF Corner Of Vehicle - Lighting Components)
G01457335Courtesy of GENERAL MOTORS CORP.
Fig 7: Lighting Systems Component (LF Corner Of Vehicle - Lighting Components)
G01457336Courtesy of GENERAL MOTORS CORP.
Fig 8: Lighting Systems Component - Sunload Sensor Assembly
G01457337Courtesy of GENERAL MOTORS CORP.
Fig 9: Lighting Systems Component - Center Rear Of Roof (Pickup)
G01457338Courtesy of GENERAL MOTORS CORP.
Fig 10: Lighting Systems Component - Steering Column Components
G01457339Courtesy of GENERAL MOTORS CORP.
Fig 11: Lighting Systems Component (Left Side Of I/P - Switches)
G01457340Courtesy of GENERAL MOTORS CORP.
Fig 12: Lighting Systems Component - Lower Left Side Of I/P Components
G01457341Courtesy of GENERAL MOTORS CORP.
Fig 13: Lighting Systems Component (Center Of I/P - Accessory Switches)
G01457342Courtesy of GENERAL MOTORS CORP.
Fig 14: Lighting Systems Component - Lower Center Of I/P Components
G01457343Courtesy of GENERAL MOTORS CORP.
Fig 15: Lighting Systems Component - Instrument Panel Compartment Lamp
G01457344Courtesy of GENERAL MOTORS CORP.
Fig 16: Lighting Systems Component (Driver Door Panel Components - Courtesy Lamp)
G01457345Courtesy of GENERAL MOTORS CORP.
Fig 17: Lighting Systems Component - Overhead Console
G01457346Courtesy of GENERAL MOTORS CORP.
Fig 18: Lighting Systems Component - Rear Bumper (Utility)
G01457347Courtesy of GENERAL MOTORS CORP.
Fig 19: Lighting Systems Component - License Lamps
G01457348Courtesy of GENERAL MOTORS CORP.
Fig 20: Lighting Systems Component - Trailer Wiring Harness
G01457349Courtesy of GENERAL MOTORS CORP.