lemon-mirror:
Home >> Hummer >> 2003 >> H2 >> Repair and Diagnosis >> External Pages >> Different car >> Section 808 (Hybrid Control System) >> Repair Instructions >> Generator Control Module 3-Phase Cable Assembly Replacement >> Removal Procedure

Removal Procedure

WARNING: This page is about a different car, the 2007 Saturn Vue. However, it is still accessible from the selected car via links, so may be relevant.
    Fig 1: View Of Engine Wiring Harness Auxiliary Bussed Electrical Center (BEC)
    GM1813960Courtesy of GENERAL MOTORS CORP.
  1. Disconnect the hybrid battery. Refer to Hybrid Battery Service Disconnect/Connect .
  2. Remove the air cleaner outlet duct. Refer to Air Cleaner Outlet Duct Replacement .
  3. Remove the drive belt. Refer to Drive Belt Replacement .
  4. Remove the engine wiring harness auxiliary bussed electrical center (BEC) (1) from the wiring harness relay block bracket.
  5. Remove the engine wiring harness clip (2) from the positive battery cable bracket.
  6. Reposition the engine wiring harness auxiliary BEC (1) out of the way.
  7. Fig 2: Underhood Bussed Electrical Center (UBEC)
    GM1814045Courtesy of GENERAL MOTORS CORP.
  8. Remove the underhood bussed electrical center (UBEC) cover (1).
  9. Loosen the UBEC bolts (2), once loose, tap the bolts once, in order to disengage the bolt from the electrical connectors.
  10. Disengage the UBEC retaining tabs on the 4 corners and remove the UBEC.
  11. Fig 3: Forward Lamp Wiring Harness Clips And Ubec Electrical Connector
    GM1814035Courtesy of GENERAL MOTORS CORP.
  12. Remove the forward lamp wiring harness clips (2) from the positive battery cable bracket.
  13. Remove the forward lamp wiring harness UBEC electrical connector (1) from the UBEC bracket and secure out of the way.
  14. Fig 4: View Of Clip And UBEC Connector
    GM1814036Courtesy of GENERAL MOTORS CORP.
  15. Remove the engine wiring harness clip (2) from the battery tray.
  16. Remove the engine wiring harness UBEC electrical connector (1) from the UBEC bracket and secure out of the way.
  17. Fig 5: Forward Lamp Wiring Harness Electrical Connector And UBEC Electrical Connector
    GM1814033Courtesy of GENERAL MOTORS CORP.
  18. Remove the forward lamp wiring harness electrical connector (2) from the battery tray.
  19. Remove the body wiring harness UBEC electrical connector (1) from the UBEC bracket and secure out of the way.
  20. Fig 6: Clips And Bolts
    GM1820891Courtesy of GENERAL MOTORS CORP.
  21. Remove the 12-volt positive battery cable clips (4) from the UBEC bracket.
  22. Remove the 12-volt positive battery cable clip (3) from the positive battery cable bracket.
  23. Fig 7: UBEC Bracket And Bolts
    GM1814038Courtesy of GENERAL MOTORS CORP.
  24. Remove the UBEC bracket bolts (1) and bracket.
  25. Fig 8: Identifying Forward Lamp Wiring Harness Electrical Connector
    GM1813958Courtesy of GENERAL MOTORS CORP.
  26. Remove the forward lamp wiring harness electrical connector (1) from the positive battery cable bracket.
  27. Fig 9: Bracket And Nut
    GM1816288Courtesy of GENERAL MOTORS CORP.
  28. Remove the air conditioning compressor and condenser hose nut (1) from the generator control module bracket stud.
  29. Remove the positive battery cable bracket (2) from the stud.
  30. Fig 10: Battery Hold Down Bracket And Retainers
    GM1813962Courtesy of GENERAL MOTORS CORP.
  31. Remove the battery hold down bracket nuts (1, 4).
  32. Remove the wiring harness relay block bracket nut (3) and bracket (2).
  33. Remove the battery hold down retainer (5).
  34. Fig 11: Generator Control Module Bracket, Bolts And Stud
    GM1815938Courtesy of GENERAL MOTORS CORP.
  35. Remove the generator control module bracket bolts and stud.
  36. Remove the generator control module bracket.
  37. Fig 12: 3-Phase Voltage Cable Bracket And Bolt
    GM1810869Courtesy of GENERAL MOTORS CORP.
  38. Remove the generator control module 3-phase cable bracket to tie bar bolt.
  39. Fig 13: Engine Wiring Harness Electrical Connectors
    GM1816292Courtesy of GENERAL MOTORS CORP.
    CAUTION: To help avoid personal injury, additional precautions must be taken prior to working on the generator control module or the generator starter. After removing the 36V battery cables from the generator battery, remove both engine wiring harness connectors from the generator control module. Wait at least 5 minutes and then remove the generator control module cover. Verify voltage levels at all 36V, 12V, and 3-phase connections, are less than 3 volts using a DMM before proceeding.
  40. Disconnect the 2 engine wiring harness electrical connectors (1) from the generator control module.
  41. WAIT at least 5 minutes in order to allow the voltage stored in the generator control module to discharge.
  42. Fig 14: Generator Control Module Cover Bolts And Cover
    GM1816289Courtesy of GENERAL MOTORS CORP.
  43. Remove the generator control module cover bolts and cover.
  44. The generator control module will have to be checked for voltage potential using a voltmeter. First, verify that the voltmeter works:
    1. Set the voltmeter to DC voltage.
    2. Measure the vehicle 12-volt battery voltage.
    3. The meter should read greater than +12 volts DC.
  45. Fig 15: Identifying Generator Control Module Terminals
    GM1824550Courtesy of GENERAL MOTORS CORP.
  46. Now, check the generator control module for voltage potential, in order to ensure that the module has been disabled.
    1. Measure from the 36-volt positive terminal (3) to vehicle chassis ground (2). The voltage should be less than 3 volts.
    2. Measure from the 12-volt positive terminal (5) to vehicle chassis ground (2). The voltage should be less than 3 volts.
    3. Measure from the negative terminal (4) to vehicle chassis ground (2). The voltage should be less than 3 volts.
  47. CAUTION: To help avoid personal injury, always treat the 3-phase cable and connectors as if voltage is present and as if the surface of all parts of the cable is hot.
  48. Verify that the generator control module 3-phase cables are disabled.
    1. Measure from each phase 1, 2, and 3 connection (1) to ground (2). The voltage should be less than 3 volts.
    2. After verifying that there is no voltage present, the generator control module 3-phase cables can now be removed from the generator control module.
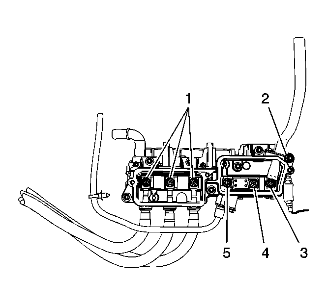
  49. Fig 16: Identifying Engine Electrical Connectors Left Side
    GM1810743Courtesy of GENERAL MOTORS CORP.
  50. Partially raise and support the vehicle. Refer to Lifting and Jacking the Vehicle .
  51. Remove the fuel injector wiring harness electrical connector retainer (6) from the generator starter tab.
  52. Disconnect the engine wiring harness electrical connectors (2, 4) from the generator starter.
  53. Fig 17: Generator Control Module 3-Phase Cable Nuts
    GM1824552Courtesy of GENERAL MOTORS CORP.
  54. Remove the generator control module 3-phase cable nuts at the generator control module.
  55. Fig 18: Positive Battery Cable Nuts
    GM1824553Courtesy of GENERAL MOTORS CORP.
  56. Remove the 12-volt positive battery cable nut (5) from the generator control module.
  57. Remove the 36-volt positive battery cable nut (2) from the generator control module.
  58. Remove the 36-volt terminal block nuts (1) from the generator control module.
  59. Lift up, remove, and reposition the 36-volt terminal block, secure the block out of the way. Discard the terminal block seal.
  60. Fig 19: Generator Control Module 3-Phase Cable Terminal Block Nuts
    GM1824554Courtesy of GENERAL MOTORS CORP.
  61. Remove the generator control module 3-phase cable terminal block nuts from the generator control module.
  62. Remove the generator control module 3-phase cable terminal block from the generator control module. Discard the terminal block seal.
  63. Fig 20: Generator Starter And Bolts
    GM1810870Courtesy of GENERAL MOTORS CORP.
  64. Remove the generator starter bolts.
  65. Remove the generator starter with the generator control module 3-phase cables from the vehicle and place on a clean work surface.
  66. Fig 21: Generator Starter Cover Bolts And Bracket Bolts
    GM1824551Courtesy of GENERAL MOTORS CORP.
  67. Remove the generator starter cover bolts (1) and cover.
  68. Remove the generator control module 3-phase cable bracket bolts (2) and bracket.
  69. Remove the generator control module 3-phase cable to generator starter nuts.
  70. Fig 22: Rear Generator Control Module 3-Phase Cable Bolts
    GM1830824Courtesy of GENERAL MOTORS CORP.
  71. Remove the rear generator control module 3-phase cable bolts.
  72. Fig 23: Generator Control Module 3-Phase Cable Assembly
    GM1830827Courtesy of GENERAL MOTORS CORP.
  73. Remove the generator control module 3-phase cable assembly from the generator starter.