lemon-mirror:
Home >> Hummer >> 2004 >> H2 4D Utility Pickup >> Repair and Diagnosis >> Body & Frame >> Windows >> Door System >> Component Locator >> Power Door Systems Component Views

Power Door Systems Component Views

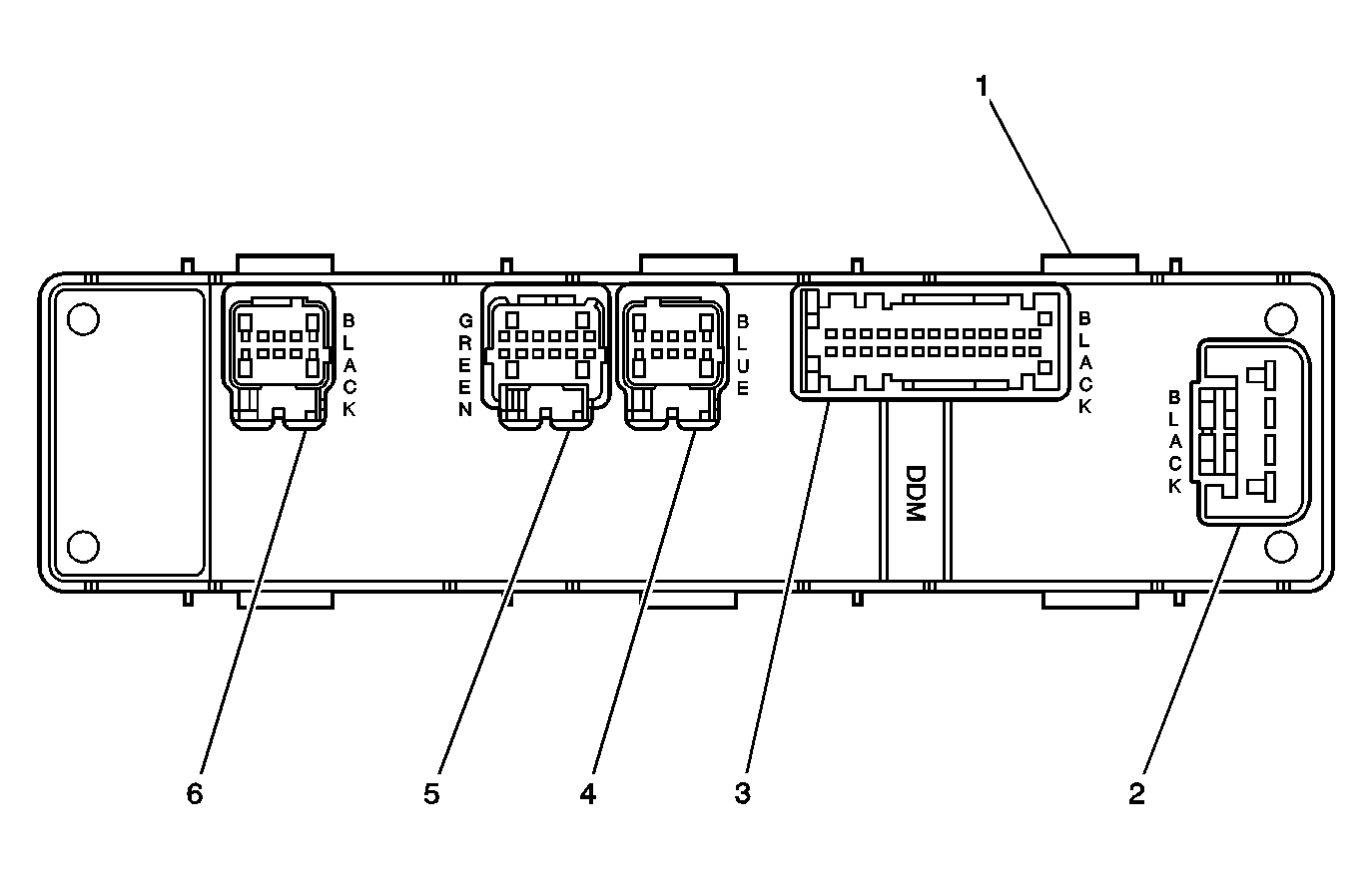
Fig 1: Driver Door Module (DDM) Connector Locations Component Views
GM851137Courtesy of GENERAL MOTORS CORP.
Callout Component Name
1 DDM
2 DDM - C1 (Black)
3 DDM - C2 (Black)
4 Mirror Harness Connector - C3 (Blue)
5 Memory/Heated Seat Switch Connector - C5 (Green)
6 Mirror Harness Connector - C4 (Black)
Fig 2: Front Passenger Door Module (FPDM) Connector Locations Component Views
GM851144Courtesy of GENERAL MOTORS CORP.
Callout Component Name
1 FPDM
2 Mirror Harness Connector - C4 (Black)
3 Memory/Heated Seat Switch Connector - C5 (Green)
4 Mirror Harness Connector - C3 (Blue)
5 FPDM - C2 (Black)
6 FPDM - C1 (Black)
Fig 3: Driver Door Component Views
GM1217663Courtesy of GENERAL MOTORS CORP.
Callout Component Name
1 Driver Door
2 Outside Rearview Mirror
3 Memory/Heated Seat Switch
4 Memory/Heated Seat Switch Connector - C5 (Green)
5 Driver Door Module (DDM)
6 Fuse Block - I/P - C3
7 Speaker - LF Door
8 Window Motor - Driver
9 Courtesy Lamp - Left Door
10 Door Latch Assembly - Driver
11 Door Latch Assembly Connector - Driver
Fig 4: Passenger Door Component Views
GM1219137Courtesy of GENERAL MOTORS CORP.
Callout Component Name
1 Passenger Door
2 Outside Rearview Mirror
3 Passenger Door Module (PDM)
4 Door Latch Assembly - Passenger
5 Courtesy Lamp - Right Door
6 Window Motor - Front Passenger
7 Speaker - RF Door
8 Junction Block - I/P - C2
9 Junction Block - I/P - C7
10 Heated Seat Switch
Fig 5: Left Rear Door Component Views (RT Rear Door Similar)
GM827737Courtesy of GENERAL MOTORS CORP.
Callout Component Name
1 Door Window Motor - LR
2 Door Window Motor Connector - LR
3 Door Harness Pass-Through Grommet
4 Door Window Switch - LR
5 Door Window Switch Connector - LR
6 Door Latch Assembly - LR
7 Speaker - LR Door
Fig 6: Liftgate Relay Component Views
GM1395254Courtesy of GENERAL MOTORS CORP.
Callout Component Name
1 Right B-Pillar
2 C390
3 G306
4 Liftgate Lock Relay
5 Courtesy Lamp - Right B-Pillar
6 Body Harness
Fig 7: Door Lock Switch-Rear Cargo Area Component Views
GM825882Courtesy of GENERAL MOTORS CORP.
Callout Component Name
1 Door Lock Switch Connector - Rear
2 Door Lock Switch - Rear
3 Rear Storage Bin
Fig 8: Door Lock Actuator - Liftgate Component Views
GM827705Courtesy of GENERAL MOTORS CORP.
Callout Component Name
1 Center High Mounted Stop Lamp (CHMSL) Connector
2 Rear Window Defogger Grid Connector
3 Rear Window Defogger Grid Connector
4 Splice S900
5 Rear Window Wiper Module - w/Motor
6 Door Lock Actuator - Liftgate
7 Liftgate Ajar Switch - Left
8 Liftgate Ajar Switch - Right
9 Splice S902
10 Splice S901