lemon-mirror:
Home >> Hummer >> 2007 >> H2 4D Utility Pickup >> Repair and Diagnosis >> External Pages >> Different car >> Section 249 (Cruise Control System) >> Repair Instructions >> Cruise Control Cable Replacement >> Removal Procedure

Removal Procedure

WARNING: This page does not describe the selected car, but rather 6 other vehicles, including the 2003 GMC Savana Special, 2003 GMC Savana Camper Special, 2003 GMC Savana, 2003 Chevrolet RV Cutaway, and 2003 Chevrolet Cutaway. However, it is still accessible from the selected car via links, so may be relevant.
  1. Open the hood
  2. Remove the air cleaner assembly.
    Fig 1: Identifying Cruise Control Cable Connector Screw End
    G02422748Courtesy of GENERAL MOTORS CORP.
  3. Remove the cruise control cable end from the throttle linkage.

    Use a suitable tool to lightly pry off the end of the cruise control cable end from the throttle linkage.

    Fig 2: Removing Cruise Control Cable End From Throttle Linkage
    G02422749Courtesy of GENERAL MOTORS CORP.
  4. Disconnect the cruise control cable from the cable bracket by squeezing the retaining tabs on the cable.
  5. Disconnect the cruise cable from the retaining clip on the fan shroud.
    Fig 3: Disconnecting Cruise Control Cable From Cable Bracket
    G02422750Courtesy of GENERAL MOTORS CORP.
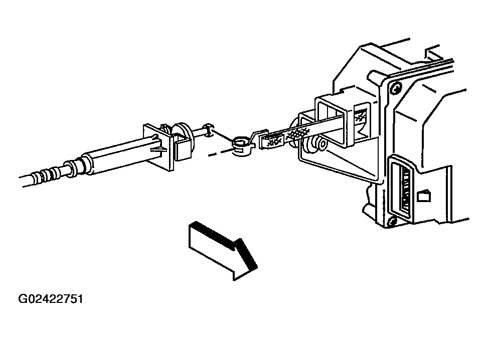
  6. Squeeze the retaining tabs on the cruise control cable fitting to expose the cable bead and the buckle of the ribbon.

    Important:  Do not allow the cruise control ribbon to retract into the module assembly.

  7. Disconnect the cruise control cable from the cruise control module.
  8. Disconnect the cruise control cable bead from the buckle on the end of the ribbon.
  9. Remove the cruise control cable from the vehicle.
    Fig 4: Disconnecting Cruise Control Cable From Module
    G02422751Courtesy of GENERAL MOTORS CORP.