lemon-mirror:
Home >> Hummer >> 2007 >> H3 Automatic >> Repair and Diagnosis >> Electrical >> Body Electrical >> OEM Connector End Views >> Powertrain Control Module Connector End Views >> Powertrain Control Module (PCM) Connector End View C3 (M30)

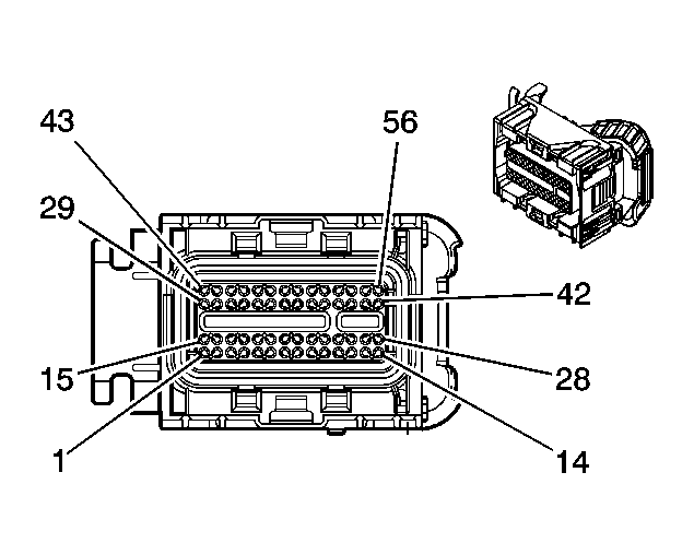
Powertrain Control Module (PCM) Connector End View C3 (M30)

Fig 1: Powertrain Control Module (PCM) C3 (M30) Connector End Views
GM1567143Courtesy of GENERAL MOTORS CORP.
Powertrain Control Module (PCM) C3 (M30) Connector Parts Information

Connector Part Information 
  • OEM: 13513942
  • Service: See Catalog
  • Description: 28-Way F Micro 64 Series Sealed (GY)
Terminal Part Information 
  • Terminal/Tray: 15359541/4
  • Core/Insulation Crimp: M/M
  • Release Tool/Test Probe: 15381651-2/J-35616-64A (L-BU)
Powertrain Control Module (PCM) C3 (M30) Connector Terminal Identification

Pin Wire Color Circuit No. Function
1 PK 1224 Transmission Fluid Pressure Switch Signal A
2 GY 773 Transmission Range Switch Signal C
3 - - Not Available
4 TN/WH 1669 HO2S Low Signal Bank 1 Sensor 2
5 - - Not Available
6 RD/BK 1228 PC Solenoid Valve High Control (Sol. A)
7 YE/BK 1227 TFT Sensor Signal
8-14 - - Not Available
15 TN/BK 231 Oil Pressure Switch Signal
16 - - Not Available
17 BK 2762 Low Reference
18 - - Not Available
19 PU/WH 1668 HO2S High Signal Bank 1 Sensor 2
20 BK/WH 771 Transmission Range Switch Signal A
21 WH 687 3-2 Shift Solenoid Valve Control
22-24 - - Not Available
25 TN/BK 422 TCC Solenoid Valve Control
26-29 - - Not Available
30 RD 1226 Transmission Fluid Pressure Switch Signal C
31 YL 6787 Air Injection Reaction Control Valve #1 Control (K18)
32 - - Not Available
33 L-GN 1222 1-2 Shift Solenoid Valve Control
34 TN/BK 464 Delivered Torque Signal
35 YE/BK 1223 2-3 Shift Solenoid Valve Control
36 PU 114 Low Reference
37 D-GN/WH 428 EVAP Canister Purge Solenoid Control
38 - - Not Available
39 BN 418 TCC PWM Solenoid Valve Control
40-42 - - Not Available
43 D-BU 1225 Transmission Fluid Pressure Switch Signal B
44 PU 401 Signal Low - Front
45 YE 400 Signal High - Front
46 BK/WH 1423 HO2S Heater Low Control Bank 1 Sensor 2
47 OG/BK 463 Requested Torque Signal
48 L-BU/WH 1229 PC Solenoid Valve Low Control (Sol.A)
49 D-BU 6253 Low Reference
50 YE 772 Transmission Range Switch Signal B
51 - - Not Available
52 WH 776 Transmission Range Switch Signal P
53-56 - - Not Available