Computer/Integrating Systems Connectors
WARNING: This page is about a different car, the 2005 GMC Canyon and 2005 Chevrolet Colorado. However, it is still accessible from the selected car via links, so may be relevant.
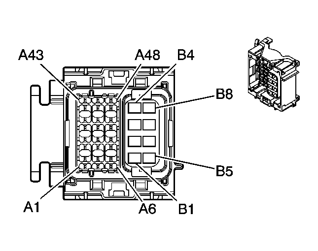
Body Control Module (BCM) C1 Connector End View
| Connector Part Information |
|
||
|---|---|---|---|
| Pin | Wire Color | Circuit Number | Function |
| A1 | - | - | Not Used |
| A2 | YE | 317 | Fog Lamp Relay Control |
| A3 | L-BU | 14 | Left Turn Signal Lamps Supply Voltage |
| A4 | GY/BK | 690 | Courtesy Lamp Supply Voltage (TR9) |
| A5 | PK/WH | 1970 | Headlamp Relay Control |
| A6 | BK | 755 | RAP Relay Coil Control |
| A7 | OG | 740 | Battery Positive Voltage |
| A8 | D-GN | 113 | Windshield Wiper Switch Signal 2 |
| A9-A10 | - | - | Not Used |
| A11 | L-BU | 244 | Passenger Door Lock Switch Lock Control (AUO) |
| A12 | WH | 194 | Door Unlock Control (AUO) |
| A13-A17 | - | - | Not Used |
| A18 | BK/WH | 1969 | Beam Select Relay Control |
| A19 | D-BU | 15 | Right Turn Signal Lamps Supply Voltage |
| A20 | YE | 196 | Windshield Wiper Motor Park Switch Signal |
| A21-A23 | - | - | Not Used |
| A24 | BN/WH | 301 | Park Lamp Relay Control |
| A25 | BK/WH | 238 | Seat Belt Switch - Left |
| A26 | OG | 300 | Ignition 3 Voltage |
| A27-A28 | - | - | Not Used |
| A29 | OG | 1732 | Courtesy Lamps Supply Voltage |
| A30 | OG | 1732 | Courtesy Lamps Supply Voltage |
| A31 | L-BU | 1134 | Park Brake Switch Signal |
| A32 | GY/BK | 745 | Left Front Door Ajar Switch Signal |
| A33-A37 | - | - | Not Used |
| A38 | L-GN/BK | 748 | Right Rear Door Ajar Switch Signal |
| A39 | BK/WH | 746 | Right Rear Door Ajar Switch Signal (CREW CAB) |
| A40 | BK | 28 | Horn Relay Control |
| A41 | PU | 1807 | Class 2 Serial Data (UE1) |
| A42 | PU | 1807 | Class 2 Serial Data |
| A43 | D-GN/WH | 762 | A/C Request Signal |
| A44 | L-BU/BK | 747 | Left Rear Door Ajar Switch Signal (CREW CAB) |
| A45 | PK | 849 | Brake Fluid Level Sensor Signal |
| A46 | WH | 156 | Courtesy Lamp Low Control |
| A47 | PU | 1807 | Class 2 Serial Data |
| A48 | BN | 9 | Park Lamp Supply Voltage |
| B1 | YE | 18 | Left Rear Turn Signal Lamps Supply Voltage |
| B2 | D-GN | 19 | Right Rear Turn Signal Lamps Supply Voltage |
| B3 | BK/WH | 1251 | Ground |
| B4 | RD | 228 | Windshield Washer Pump Control |
| B5 | OG | 840 | Battery Positive Voltage |
| B6 | D-BU | 338 | Run/Crank Voltage |
| B7 | BN | 4 | Accessory Voltage |
| B8 | OG | 1340 | Battery Positive Voltage |
Body Control Module (BCM) C2 Connector End View
| Connector Part Information |
|
||
|---|---|---|---|
| Pin | Wire Color | Circuit Number | Function |
| A1 | PU | 524 | Headlamp Dimmer Switch High Beam Signal |
| A2 | WH | 103 | Headlamp Switch Headlamps On Signal |
| A3 | GY | 112 | Windshield Wiper Switch Signal 1 |
| A4 | BN/WH | 230 | Instrument Panel Lamps Dimming Control |
| A5 | YE | 183 | Front Fog Lamp Indicator Control |
| A6 | - | - | Not Used |
| A7 | BN/WH | 301 | Park Lamp Relay Control |
| A8 | BN | 1356 | Flash To Pass Switch Signal |
| A9 | PU/WH | 549 | Headlamp Switch Headlamps Off Signal |
| A10 | PU | 719 | Low Reference |
| A11 | D-BU/WH | 1495 | Dome Override Switch Signal |
| A12 | PU | 328 | Interior Lamp Switch Signal |
| A13 | WH/BK | 158 | Cargo lamp Switch Signal (TR9) |
| A14 | WH | 1390 | Off/Run/Crank Voltage |
| A15-A16 | - | - | Not Used |
| A17 | BN/WH | 1571 | Traction Control Switch Signal (2WD w/NW9) |
| A18 | OG | 192 | Fog Lamps Enable (T96) |
| A19 | GY | 728 | Security Indicator Control |
| A20-A24 | - | - | Not Used |
| A25 | BK | 28 | Horn Relay Control |
| A26 | PU/WH | 1572 | TCS Requested Indicator Control (2WD w/NW9) |
| A27 | - | - | Not Used |
| A28 | GY | 8 | Instrument Panel Lamps Dimmer Switch Signal |
| A29 | GY | 8 | Instrument Panel Lamps Dimmer Switch Signal |
| A30 | - | - | Not Used |
| A31 | BN | 323 | Shift Solenoid Supply Voltage |
| A32-A34 | - | - | Not Used |
| A35 | GY | 8 | Instrument Panel Lamp Dimmer Switch Signal |
| A36 | GY | 8 | Instrument Panel Lamp Dimmer Switch Signal |
| A37 | WH | 278 | Ambient Light Sensor Signal |
| A38 | PU | 1807 | Class 2 Serial Data |
| A39 | PU | 1807 | Class 2 Serial Data |
| A40 | OG | 1732 | Courtesy Lamps Supply Voltage (TR9) |
| A41 | WH | 156 | Courtesy Lamp Low Control (TR9) |
| A42 | WH/BK | 1073 | Ignition Key Resistor Signal |
| A43 | BK | 279 | Ambient Light Sensor Low Reference |
| A44 | PU | 1807 | Class 2 Serial Data |
| A45 | L-BU | 1508 | Turn Signal Switch Signal |
| A46 | OG | 1732 | Courtesy Lamps Supply Voltage (TR9) |
| A47 | WH | 156 | Courtesy Lamp Low Control (TR9) |
| A48 | WH | 111 | Hazard Switch Signal |
| B1-B2 | - | - | Not Used |
| B3 | D-GN | 19 | Right Rear Turn Signal Lamps Supply Voltage |
| B4 | YE | 18 | Left Rear Turn Signal Lamps Supply Voltage |
| B5 | RD | 228 | Windshield Washer Pump Control |
| B6 | - | - | Not Used |
| B7 | BN | 4 | Accessory Voltage |
| B8 | D-BU | 338 | Run/Crank Voltage |
Data Link Connector (DLC) Connector End View
| Connector Part Information |
|
||
|---|---|---|---|
| Pin | Wire Color | Circuit Number | Function |
| 1 | - | - | Not Used |
| 2 | PU | 1807 | Class 2 Serial Data |
| 3 | - | - | Not Used |
| 4 | BK | 2050 | Ground |
| 5 | BK/WH | 1151 | Ground |
| 6-15 | - | - | Not Used |
| 16 | OG | 40 | Battery Positive Voltage |