lemon-mirror:
Home >> Hummer >> 2008 >> H2 4D Utility Pickup >> Repair and Diagnosis >> Quick Lookups >> Electrical Component Locations >> Component Locations >> Passenger Compartment/Roof Component Views

Passenger Compartment/Roof Component Views

Fig 1: Front Left Side of Passenger Compartment
GM1975955Courtesy of GENERAL MOTORS CORP.
Callout Component Name
1 Seat Belt Pretensioner - Left
2 Inflatable Restraint Roof Rail Module Connector - Left Front
3 Inflatable Restraint Roof Rail Module - Left Front
4 Rollover Sensor
5 Yaw Rate and Lateral Acceleration Sensor
6 Audio Amplifier
7 Inflatable Restraint Sensing and Diagnostic Module (SDM)
Fig 2: Right Front Passenger Compartment
GM1975965Courtesy of GENERAL MOTORS CORP.
Callout Component Name
1 Rear Object Sensor Control Module
2 Inflatable Restraint Roof Rail Module - Right Front
3 Seat Belt Pretensioner - Right
Fig 3: Driver Seat Component Views (1 Of 2)
GM854624Courtesy of GENERAL MOTORS CORP.
Callout Component Name
1 X327
2 Seat Adjuster Switch-Driver
3 Memory Seat Module-C4
4 Memory Seat Module-C3
5 Seat Bolster/Lumbar Switch-Driver
6 Seat Recline Motor-Driver
7 X325
8 X329
9 X330
10 C328
11 Seat Rear Vertical Motor-Driver
12 Seat Front Vertical Motor-Driver
13 Memory Seat Module-C2
14 Memory Seat Module-C1
15 Seat Horizontal Motor-Driver
16 X326
Fig 4: Driver Seat Component Views (2 Of 2)
GM854618Courtesy of GENERAL MOTORS CORP.
Callout Component Name
1 Seat Bolster Motor - Driver
2 Seat Lumbar Motor - Driver
3 Heated Seat Element - Driver Cushion
4 X333
5 Seat Belt Switch Connector
6 Heated Seat Element - Driver Cushion Connector
Fig 5: Front Passenger Seat Component Views (1 Of 2) (W/ AN3)
GM854616Courtesy of GENERAL MOTORS CORP.
Callout Component Name
1 Seat Horizontal Motor-Front Passenger
2 Seat Front Vertical Motor-Front Passenger
3 Seat Rear Vertical Motor-Front Passenger
4 X376
5 X377
6 X375
7 Seat Recline Motor-Front Passenger
8 Seat Bolster/Lumbar Switch-Front Passenger
9 Seat Adjuster Switch-Front Passenger
Fig 6: Front Passenger Seat Component Views (2 Of 2) (W/ AN3)
GM854613Courtesy of GENERAL MOTORS CORP.
Callout Component Name
1 Seat Bolster Motor-Passenger
2 Seat Lumbar Motor-Passenger
3 Heated Seat Element-Passenger Cushion Connector (w/KA7)
4 X378
Fig 7: 2nd Row Heated Seat (KA7) Component Views
GM1396134Courtesy of GENERAL MOTORS CORP.
Callout Component Name
1 Heated Seat Control Module-RR
2 2nd Row Seat-LR
3 Heated Seat Control Module-LR
4 Heated Seat Element Connector-LR
5 X320
6 Heated Seat Element Connector-RR
7 X380
8 2nd Row Seat-RR
Fig 8: Midgate Components (SUT)
GM1975957Courtesy of GENERAL MOTORS CORP.
Callout Component Name
1 Midgate Latch-Right
2 Midgate Latch Release Switch-Right
3 Midgate Latch Release Switch-Left
4 Midgate Latch-Left
5 Midgate Control Module
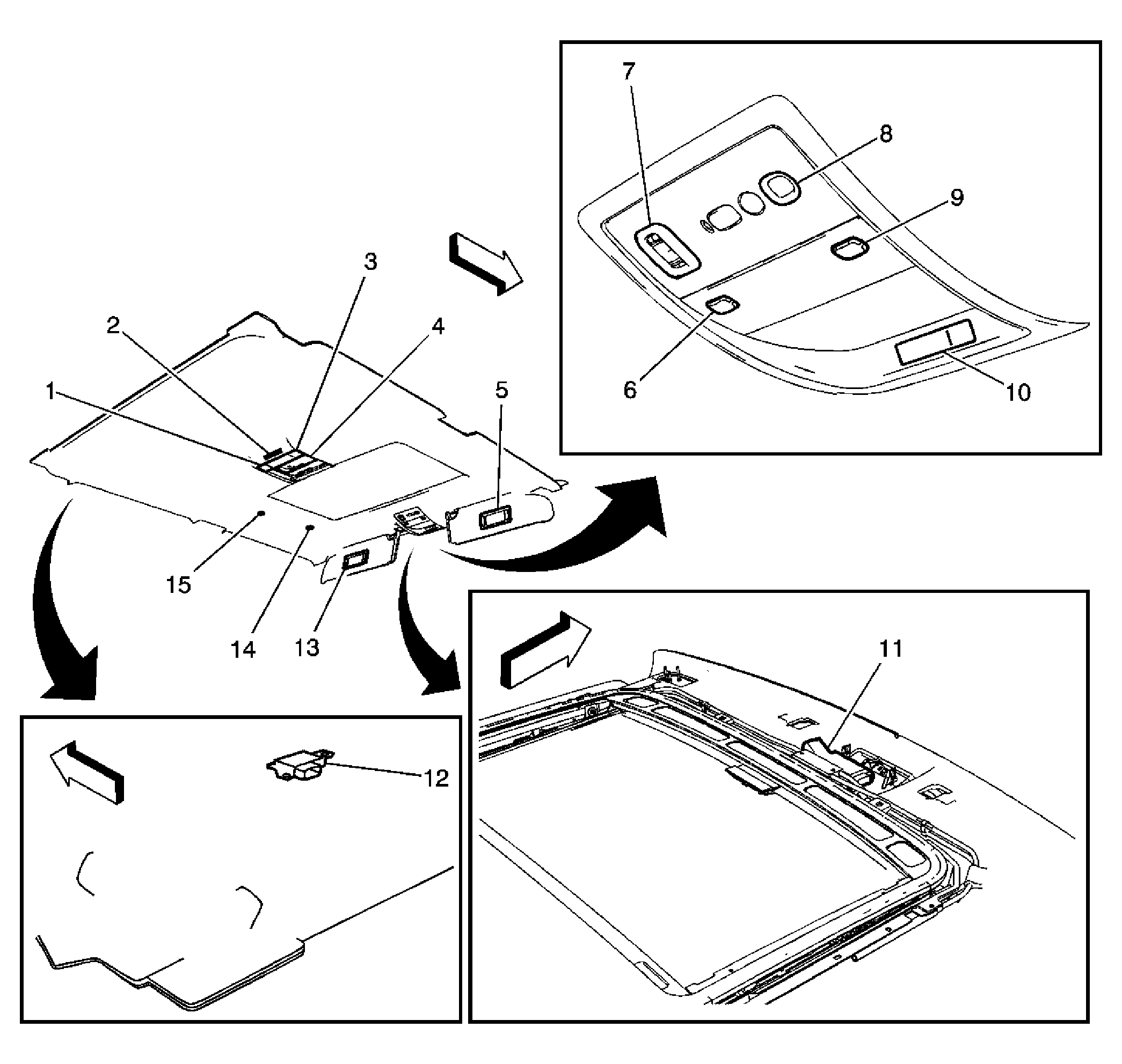
Fig 9: Headliner (SUT)
GM1975967Courtesy of GENERAL MOTORS CORP.
Callout Component Name
1 Courtesy/Reading Lamp - 2nd Row (-U42)
2 Infared Receiver (U42)
3 Infared Module (U42)
4 Video Display (U42)
5 Vanity Mirror Lamp - Right
6 Overhead Console Reading Lamp-Driver
7 Sunroof Switch (CF5)
8 Onstar Button Assembly
9 Overhead Console Reading Lamp-Passenger
10 Inflatable Restraint I/P Module Indicator
11 Sunroof Module (CF5)
12 Remote Compass Module
13 Ambient Air Temperature Sensor-Inside
14 Cellular Microphone
15 Vanity Mirror Lamp-Left
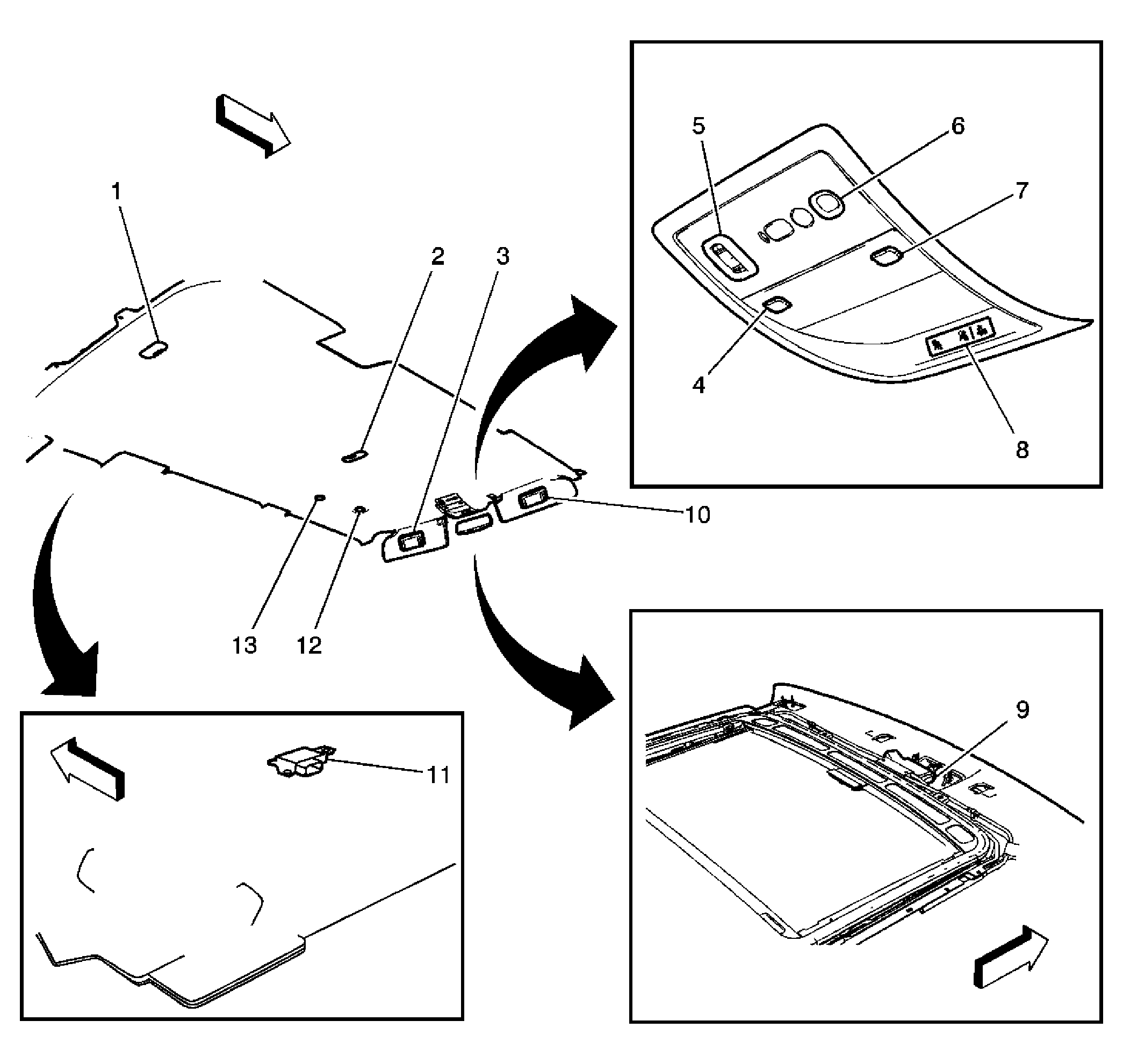
Fig 10: Headliner (SUV)
GM1975972Courtesy of GENERAL MOTORS CORP.
Callout Component Name
1 Courtesy/Reading Lamp - 3rd Row (SUV)
2 Courtesy/Reading Lamp - 2nd Row
3 Vanity Mirror Lamp-Left
4 Overhead Console Reading Lamp-Driver
5 Sunroof Switch (CF5)
6 Onstar Button Assembly
7 Overhead Console Reading Lamp-Front Passenger
8 Inflatable Restraint I/P Module Indicator
9 Vanity Mirror Lamp-Right
10 Sunroof Module (CF5)
11 Remote Compass Module
12 Cellular Microphone
13 Ambient Air Temperature Sensor-Inside
Fig 11: Stationary Window Component Views
GM1256393Courtesy of GENERAL MOTORS CORP.
Callout Component Name
1 Forward Lamp Harness
2 Radiator Support
3 Ambient Air Temperature Sensor - HVAC
4 Ambient Air Temperature Sensor - Mirror
5 Inside Rearview Mirror Connector
6 Vanity Mirror Lamp Connector - Left
7 Vanity Mirror Lamp Connector - Right
8 Center High Mounted Stop Lamp (CHMSL) Connector
9 Rear Window Defogger Grid Connector
10 Rear Window Defogger Grid Connector
Fig 12: ISRVM and Off-Road Lamps Switch
GM1764690Courtesy of GENERAL MOTORS CORP.
Callout Component Name
1 Inside Rearview Mirror (ISRVM)
2 Off-Road Lamps Switch (USB, USC, USD, UNR)
3 Outside Temperature/Compass Display
4 Rear Vision Camera Display (UVC)
Fig 13: Antenna Locations Component Views
GM1340677Courtesy of GENERAL MOTORS CORP.
Callout Component Name
1 Cellular and Navigational Antenna
2 Radio Antenna
3 Global Positioning System (GPS) Antenna (I/P)