lemon-mirror:
Home >> Hummer >> 2008 >> H3 Base, Automatic >> Repair and Diagnosis >> Electrical >> Component Locations >> Component Locations & Connector End Views >> Component Connector End Views >> Inflatable Restraint Steering Wheel Module X2

Inflatable Restraint Steering Wheel Module X2

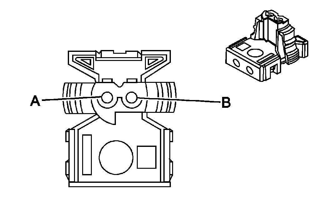
Fig 1: Restraint Steering Wheel Module X2 Connector End View
GM966373Courtesy of GENERAL MOTORS CORP.
Inflatable Restraint Steering Wheel Module X2

Pin Wire Circuit Function
A 0.5 RD 3022 Steering Wheel Module - Stage 2 - Low Control
B 0.5 WH 3023 Steering Wheel Module - Stage 2 - High Control
Connector Part Information 
  • OEM: 54550271
  • Service: See Catalog
  • Description: 2-Way F ABX-3 Cord G (PK)
Terminal Part Information 
  • Terminal/Tray: Service with Pigtail
  • Core/Insulation Crimp: N/A
  • Release Tool/Test Probe: N/A