lemon-mirror:
Home >> Hummer >> 2008 >> H3 Base, Automatic >> Repair and Diagnosis >> External Pages >> Different car >> Section 486 (Object Detection System) >> Repair Instructions >> Rear Object Sensor Replacement >> Installation Procedure

Installation Procedure

WARNING: This page is about a different car, the 2010 Cadillac STS. However, it is still accessible from the selected car via links, so may be relevant.
    IMPORTANT: Do not refinish previously painted sensors.
  1. Paint the new rear object sensor. Refer to Basecoat/Clearcoat Paint Systems .
  2. Check the paint thickness to ensure it does not exceed 6 mils using a paint thickness gauge suitable for non-ferrous metals. Refer to Paint Gauges .
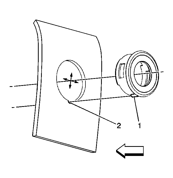
  3. Fig 1: Aligning Keyhole With Key
    GM500505Courtesy of GENERAL MOTORS CORP.
  4. Align the keyhole (2) with the key (1) and press the rear object sensor bezel flush to the fascia.
  5. Fig 2: Rear Object Sensor Housing
    GM489064Courtesy of GENERAL MOTORS CORP.
  6. Install the housing to the cutouts on the bezel through the back side of the fascia.
  7. IMPORTANT: The spring keys must be on the top and bottom of the housing.
    Fig 3: Spring & Housing
    GM489063Courtesy of GENERAL MOTORS CORP.
  8. Install the spring (1) to the housing (2).
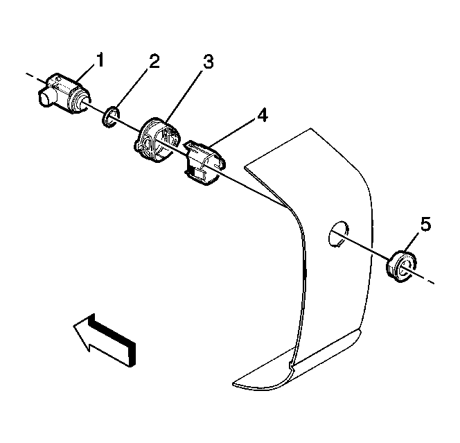
  9. Fig 4: Rear Object Sensor Components
    GM500502Courtesy of GENERAL MOTORS CORP.
  10. Install the decoupling ring (2) to the sensor (1).
  11. Insert the sensor into the housing (4) with the connector pointing toward the passenger side of the fascia. Press the sensor tabs into the cutouts on the housing (4).
  12. Fig 5: Rear Object Sensor Electrical Connector
    GM489061Courtesy of GENERAL MOTORS CORP.
  13. Connect the electrical connector to the rear object sensor.
  14. Install the rear bumper fascia. Refer to Rear Bumper Fascia Replacement