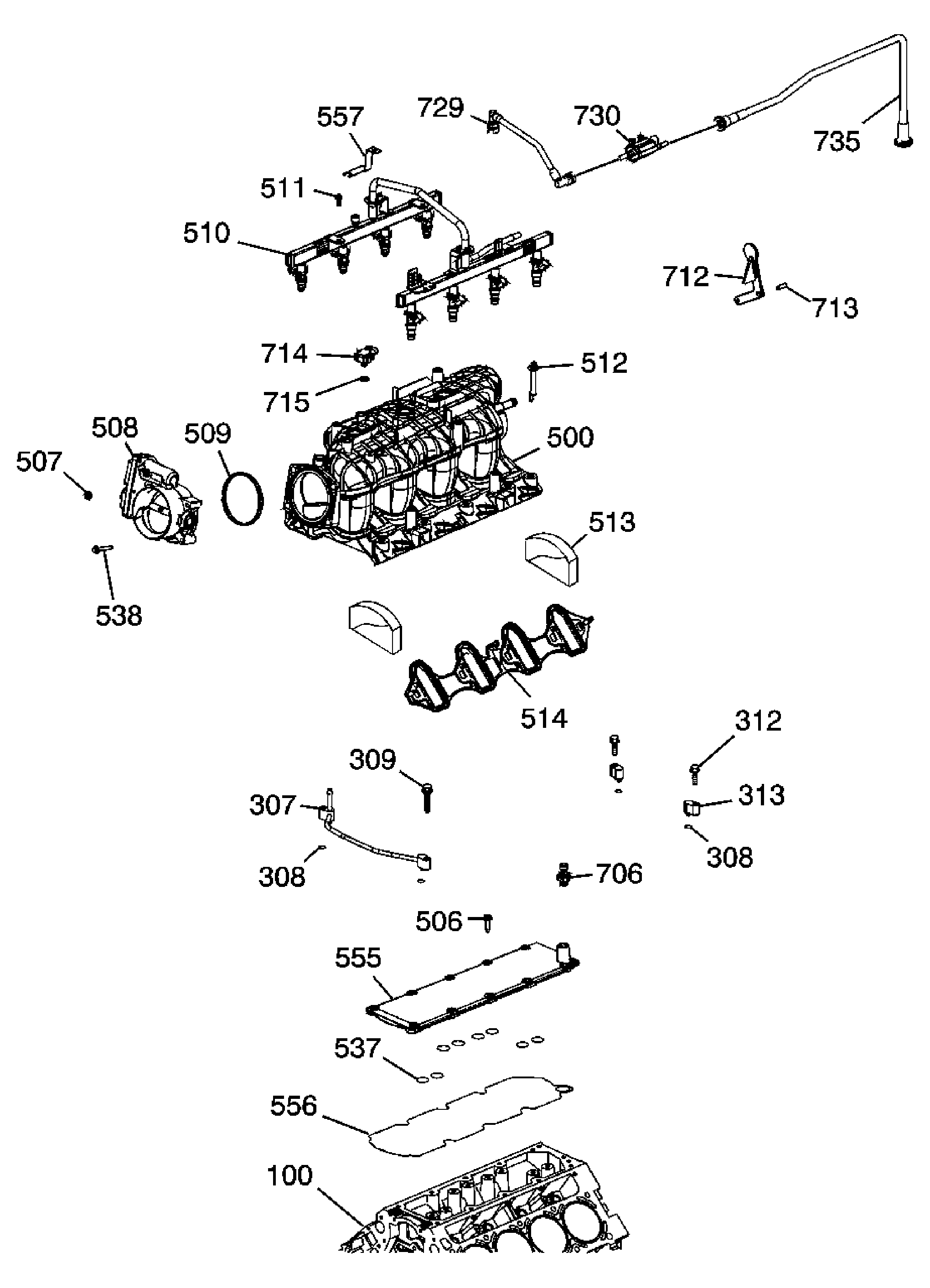
Disassembled Views
| Callout | Component Name |
|---|---|
| 100 | Engine Block |
| 307 | Engine Coolant Air Bleed Pipe |
| 308 | Engine Coolant Air Bleed Pipe O-Ring Seal |
| 308 | Engine Coolant Air Bleed Pipe O-Ring Seal |
| 309 | Bolt |
| 312 | Bolt |
| 313 | Engine Coolant Air Bleed Pipe Hole Cover |
| 500 | Intake Manifold |
| 506 | Bolt |
| 507 | Nut |
| 508 | Throttle Body |
| 509 | Throttle Body Seal |
| 510 | Sequential Multi-Port Fuel Injector Assembly with Fuel Rail |
| 511 | Bolt |
| 512 | Bolt |
| 513 | Intake Manifold Seal |
| 514 | Intake Manifold Gasket |
| 537 | O-Ring Seal |
| 538 | Bolt |
| 555 | Engine Valley Cover |
| 556 | Gasket |
| 557 | Fuel Injection Fuel Rail Bracket |
| 706 | Engine Oil Pressure Sensor |
| 712 | Fuel Injection Fuel Rail Stop |
| 713 | Bolt |
| 714 | Manifold Absolute Pressure (MAP) Sensor |
| 715 | MAP Sensor O-Ring Seal |
| 729 | Evaporative (EVAP) Emission Canister Purge Tube |
| 730 | EVAP Emission Canister Purge Solenoid Valve |
| 735 | EVAP Emission Canister Purge Tube |
| Callout | Component Name |
|---|---|
| 100 | Engine Block |
| 209 | Valve Lifter |
| 210 | Valve Lifter Guide |
| 211 | Valve Lifter Guide Bolt |
| 212 | Valve Push Rod |
| 213 | Valve Rocker Arm |
| 214 | Valve Rocker Arm Pivot Support Bolt |
| 215 | Valve Rocker Arm Pivot Support |
| 216 | Cylinder Head Core Hole Plug |
| 217 | Cylinder Head Gasket |
| 218 | Cylinder Head |
| 220 | Cylinder Head Bolt - M10 |
| 221 | Cylinder Head Bolt - M8 |
| 222 | Valve Stem Oil Seal |
| 223 | Valve Spring |
| 224 | Valve Spring Cap |
| 225 | Valve Stem Key |
| 226 | Cylinder Head Core Hole Plug |
| 227 | Intake Valve |
| 228 | Exhaust Valve |
| 229 | Cylinder Head Plug |
| 230 | Cylinder Head Locating Pin |
| 422 | Oil Fill Tube O-Ring Seal |
| 423 | Oil Fill Tube |
| 424 | Oil Fill Cap |
| 450 | Oil Fill Cap O-Ring Seal |
| 504 | Valve Rocker Arm Cover Gasket |
| 504 | Valve Rocker Arm Cover Gasket |
| 505 | Valve Rocker Arm Cover |
| 505 | Valve Rocker Arm Cover |
| 516 | Valve Rocker Arm Cover Bolt |
| 600 | Exhaust Manifold |
| 601 | Exhaust Manifold Gasket |
| 602 | Exhaust Manifold Flange Bolt |
| 603 | Exhaust Manifold Heat Shield |
| 604 | Exhaust Manifold Heat Shield Bolt |
| 700 | Positive Crankcase Ventilation (PCV) Hose - Fresh Air |
| 716 | PCV Hose - Dirty Air |
| 719 | Ignition Coil Bracket |
| 720 | Ignition Coil Bracket Stud |
| 721 | Ignition Coil Wire Harness Assembly |
| 722 | Ignition Coil |
| 723 | Ignition Coil Bolt |
| 724 | Spark Plug Wire |
| 725 | Engine Coolant Temperature Sensor |
| 726 | Spark Plug |
| Callout | Component Name |
|---|---|
| 100 | Engine Block |
| 138 | Crankshaft Balancer |
| 139 | Crankshaft Balancer Bolt |
| 140 | Crankshaft Front Oil Seal |
| 200 | Camshaft |
| 201 | Camshaft Bearing |
| 202 | Camshaft Sprocket Locating Pin |
| 203 | Camshaft Retainer |
| 204 | Camshaft Retainer Bolt |
| 207 | Crankshaft Sprocket |
| 208 | Timing Chain |
| 231 | Timing Chain Tensioner Bolt |
| 232 | Timing Chain Tensioner |
| 234 | Camshaft Position (CMP) Actuator Solenoid Valve |
| 235 | CMP Actuator |
| 300 | Water Pump |
| 301 | Water Pump Bolt |
| 302 | Water Pump Inlet Bolt |
| 303 | Water Pump Inlet |
| 305 | Engine Coolant Thermostat |
| 306 | Water Pump Gasket |
| 404 | Oil Pump Suction Pipe Nut |
| 405 | Oil Pump Suction Pipe Bolt |
| 406 | Oil Pump O-Ring Seal |
| 407 | Oil Pump Suction Pipe |
| 408 | Oil Pump Cover Bolt |
| 409 | Oil Pump Cover |
| 410 | Oil Pump Drive Gear |
| 411 | Oil Pump Bolt |
| 412 | Oil Pump Driven Gear |
| 413 | Oil Pump |
| 414 | Oil Pressure Relief Valve |
| 415 | Oil Pressure Relief Valve Spring |
| 416 | Oil Pressure Relief Valve Bore Plug |
| 417 | Oil Level Indicator O-Ring Seal |
| 418 | Oil Level Indicator |
| 419 | Oil Level Indicator Tube Bolt |
| 420 | Oil Level Indicator Tube |
| 421 | O-Ring |
| 501 | Engine Front Cover Bolt |
| 502 | Engine Front Cover |
| 503 | Engine Front Cover Gasket |
| 703 | CMP Sensor |
| 704 | CMP Sensor O-Ring Seal |
| 705 | CMP Sensor Bolt |
| 737 | CMP Sensor Wire Harness Assembly |
| 738 | CMP Sensor Wire Harness Assembly Bolt |
| 738 | CMP Sensor Wire Harness Assembly Bolt |
| 751 | CMP Actuator Hub Cover Bolt |
| 752 | CMP Actuator Magnet |
| 753 | CMP Actuator Magnet Gasket |
| Callout | Component Name |
|---|---|
| 100 | Engine Block |
| 132 | Flex Plate - Automatic Transmission |
| 133 | Flywheel Bolt |
| 141 | Crankshaft Rear Oil Seal |
| 517 | Crankshaft Rear Oil Seal Housing Bolt |
| 518 | Crankshaft Rear Oil Seal Housing |
| 519 | Crankshaft Rear Oil Seal Housing Gasket |
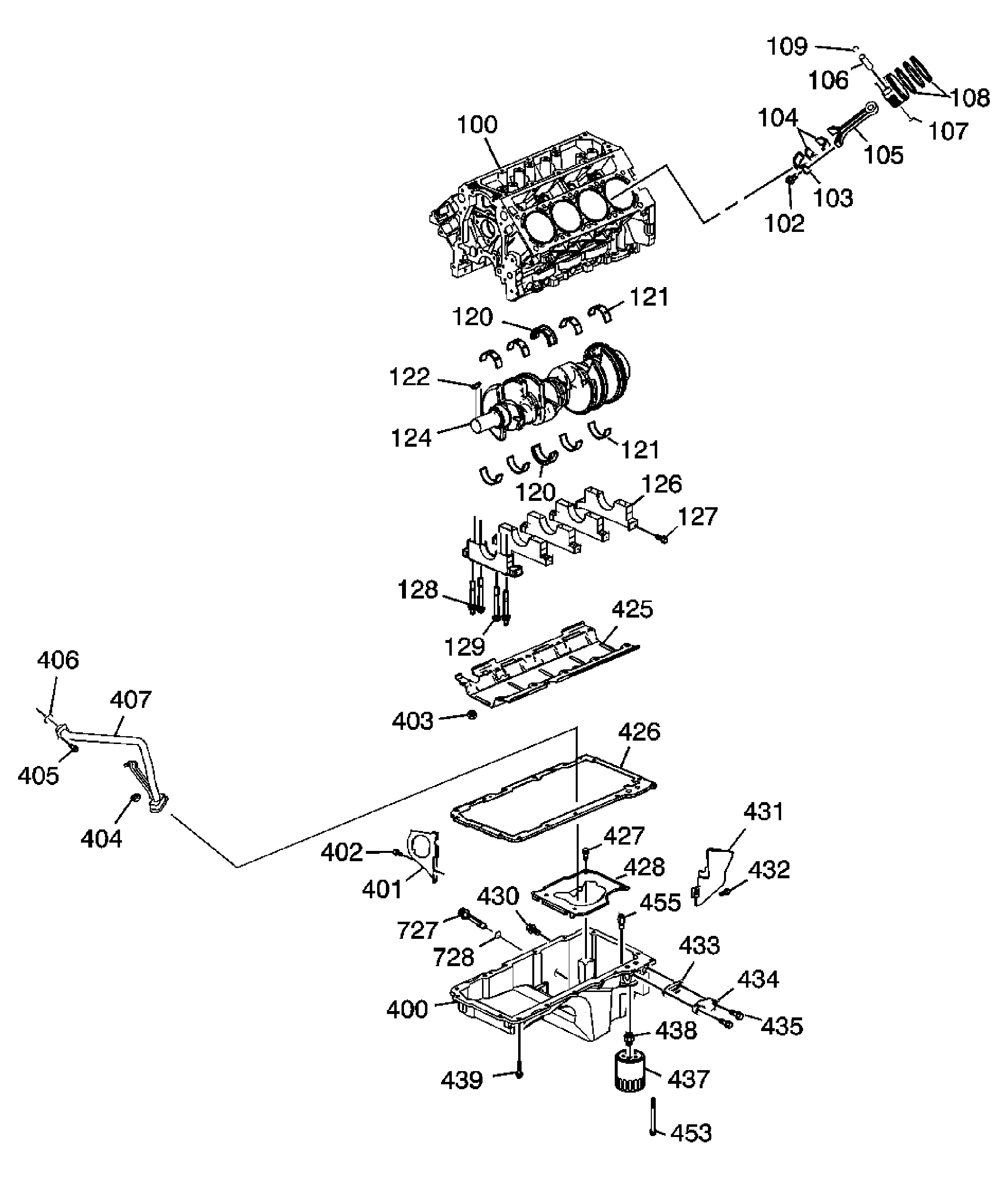
| Callout | Component Name |
|---|---|
| 100 | Engine Block |
| 102 | Connecting Rod Bolt |
| 103 | Connecting Rod Cap |
| 104 | Connecting Rod Bearing |
| 105 | Connecting Rod |
| 106 | Piston Pin |
| 107 | Piston |
| 108 | Piston Ring Set |
| 109 | Piston Pin Retainer |
| 120 | Crankshaft Thrust Bearing |
| 120 | Crankshaft Thrust Bearing |
| 121 | Crankshaft Bearing |
| 121 | Crankshaft Bearing |
| 122 | Crankshaft Balancer Key |
| 124 | Crankshaft |
| 126 | Crankshaft Bearing Cap |
| 127 | Crankshaft Bearing Cap Bolt - M8 |
| 128 | Crankshaft Bearing Cap Stud - M10 |
| 129 | Crankshaft Bearing Cap Bolt - M10 |
| 400 | Oil Pan |
| 401 | Oil Pan Closeout Cover |
| 402 | Oil Pan Closeout Cover Bolt |
| 403 | Crankshaft Oil Deflector Nut |
| 404 | Oil Pump Suction Pipe Nut |
| 405 | Oil Pump Suction Pipe Bolt |
| 406 | Oil Pump O-Ring Seal |
| 407 | Oil Pump Suction Pipe |
| 425 | Crankshaft Oil Deflector |
| 426 | Oil Pan Gasket |
| 427 | Oil Pan Baffle Bolt |
| 428 | Oil Pan Baffle |
| 430 | Oil Pan Drain Plug |
| 431 | Oil Pan Closeout Cover |
| 432 | Oil Pan Closeout Cover Bolt |
| 433 | Oil Pan Cover Gasket |
| 434 | Oil Pan Cover |
| 435 | Oil Pan Cover Bolt |
| 437 | Oil Filter |
| 438 | Oil Filter Fitting |
| 439 | Oil Pan Bolt |
| 453 | Oil Pan Bolt |
| 455 | Active Fuel Management Oil Pressure Relief Valve |
| 727 | Engine Oil Level Indicator Switch |
| 728 | O-Ring |
| Callout | Component Name |
|---|---|
| 100 | Engine Block |
| 100 | Engine Block |
| 101 | Oil Gallery Plug - Front |
| 110 | O-Ring |
| 111 | Oil Gallery Plug - Rear |
| 112 | Oil Gallery Plug - Side |
| 113 | Washer |
| 114 | Engine Coolant Heater |
| 115 | Washer |
| 116 | Oil Gallery Plug - Side |
| 117 | Washer |
| 130 | Transmission Housing Locating Pin |
| 145 | Washer |
| 146 | Engine Block Coolant Drain Hole Plug |
| 701 | Crankshaft Position (CKP) Sensor |
| 702 | O-Ring |
| 718 | Knock Sensor |
| 718 | Knock Sensor |
| 739 | Bolt |
| 739 | Bolt |
| 750 | CKP Sensor Bolt |
| Callout | Component Name |
|---|---|
| 408 | Bolt |
| 409 | Oil Pump Housing Cover |
| 410 | Oil Pump Drive Gear |
| 412 | Oil Pump Driven Gear |
| 413 | Oil Pump |
| 414 | Oil Pump Pressure Relief Valve |
| 415 | Oil Pump Pressure Relief Valve Spring |
| 416 | Oil Pump Housing Plug |