lemon-mirror:
Home >> Hummer >> 2009 >> H3 Alpha >> Repair and Diagnosis >> Engine Mechanical >> Engine Mechanical - 5.3L >> Specifications >> Thread Repair Specifications >> Engine Block - Top/Bottom Views

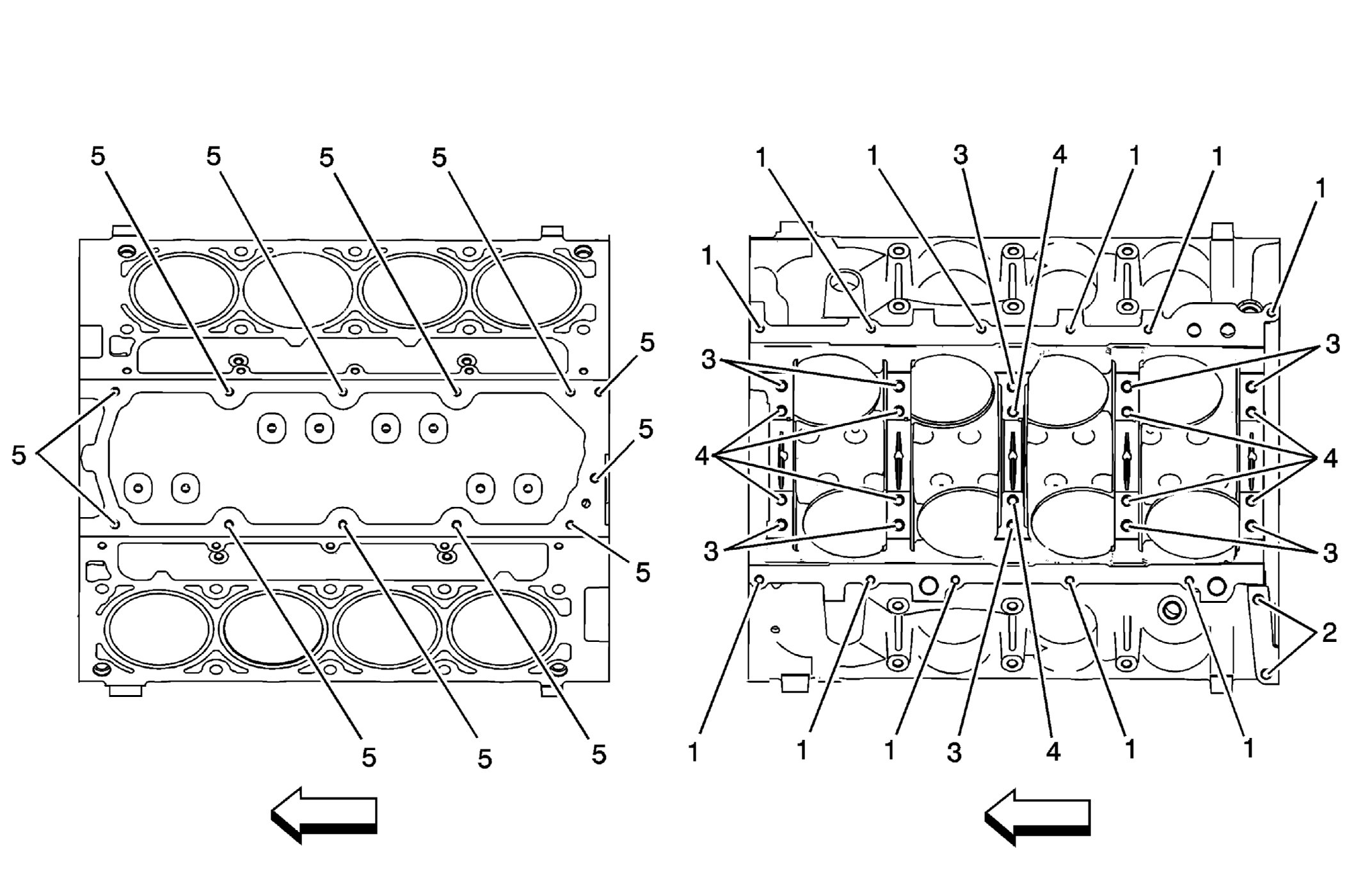
Engine Block - Top/Bottom Views

Fig 1: Engine Block - Top/Bottom Views
GM1402164Courtesy of GENERAL MOTORS CORP.
Engine Block - Top/Bottom Views

Hole Thread Size Insert Drill Counterbore Tool Tap Driver Drill Depth - Maximum mm (in) Tap Depth - Maximum mm (in)
J 42385-
1 M8 x 1.25 210 206 207 208 209 22.5 (0.885) 17.5 (0.688)
2 M10 x 1.5 215 211 212 213 214 42.5 (1.67) 37.0 (1.45)
3 M10 x 2.0 104 101 N/A 102 103 31.0 (1.22) 25.5 (1.0)
4 M10 x 2.0 104 101 N/A 102 103 53.5 (2.10) 44.0 (1.73)
5 M8 x 1.25 210 206 207 208 209 26.5 (1.043) 19.0 (0.748)
  • Bolt hole 2 has an 11.5 mm (0.452 in) counterbore included in the 42.5 mm (1.67 in) drill depth. Use sleeve J 42385-311 with the drill and tap.
  • Bolt hole 3 has a 1.5 mm (0.059 in) counterbore included in the 31.0 mm (1.22 in) drill depth. Use sleeve J 42385-316 with the drill and tap.
  • Bolt hole 4 has a 20.5 mm (0.807 in) counterbore included in the 53.5 mm (2.10 in) drill depth.