lemon-mirror:
Home >> Hummer >> 2009 >> H3 Base, Automatic >> Repair and Diagnosis >> Engine Mechanical >> Engine Mechanical - 3.7L >> Specifications >> Thread Repair Specifications >> Engine Block - Bottom View

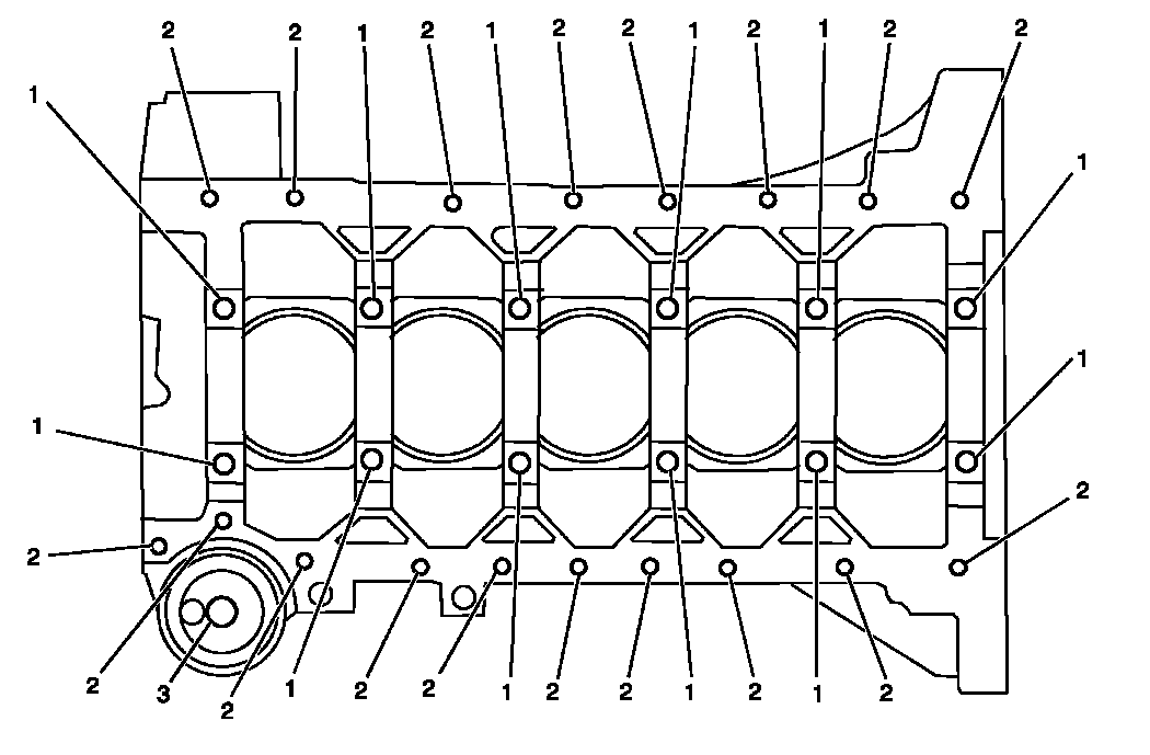
Engine Block - Bottom View

Fig 1: Engine Block - Bottom View
GM858381Courtesy of GENERAL MOTORS CORP.
Engine Block - Bottom View

Service Hole Location Thread Size Drill Counterbore Tool Stop Collar Tap Driver Insert Drill Depth (Max) Tap Depth (Min)
J 42385-400  . See Special Tools . mm (in) mm (in)
1 M 10 x 1.5 417 n/a n/a 418 419 420 49 1.93 42 1.655
2 M 8 x 1.25 206 207 n/a 208 209 210 30 1.182 25 0.985
3 M 10 x 1.5 417 n/a n/a 418 419 420 30 1.182 25 0.985