lemon-mirror:
Home >> Hummer >> 2009 >> H3 Base, Automatic >> Repair and Diagnosis >> Engine Mechanical >> Engine Mechanical - 3.7L >> Specifications >> Thread Repair Specifications >> Engine Block - Right Side View

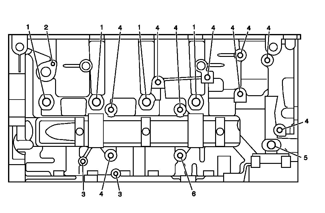
Engine Block - Right Side View

Fig 1: Engine Block - Right Side View
GM858385Courtesy of GENERAL MOTORS CORP.
Engine Block - Right Side View

Service Hole Location Thread Size Drill Counterbore Tool Stop Collar Tap Driver Insert Drill Depth (Max) Tap Depth (Min)
J 42385-400  . See Special Tools . mm (in) mm (in)
1 M 16 x 1.5 n/a n/a n/a n/a n/a n/a 32 1.260 23 0.906
2 M 6 x 1 201 202 n/a 203 204 205 22 0.866 18 0.709
3 M 8 x 1.25 206 207 n/a 208 209 210 23 0.906 18 0.709
4 M 10 x 1.5 211 212 n/a 213 214 420 33 1.300 27 1.063
5 M 16 x 2.0 n/a n/a n/a n/a n/a n/a 29 1.142 16 1.024
6 M 10 x 1.5 211 212 n/a 213 214 420 23 0.906 18 0.709