lemon-mirror:
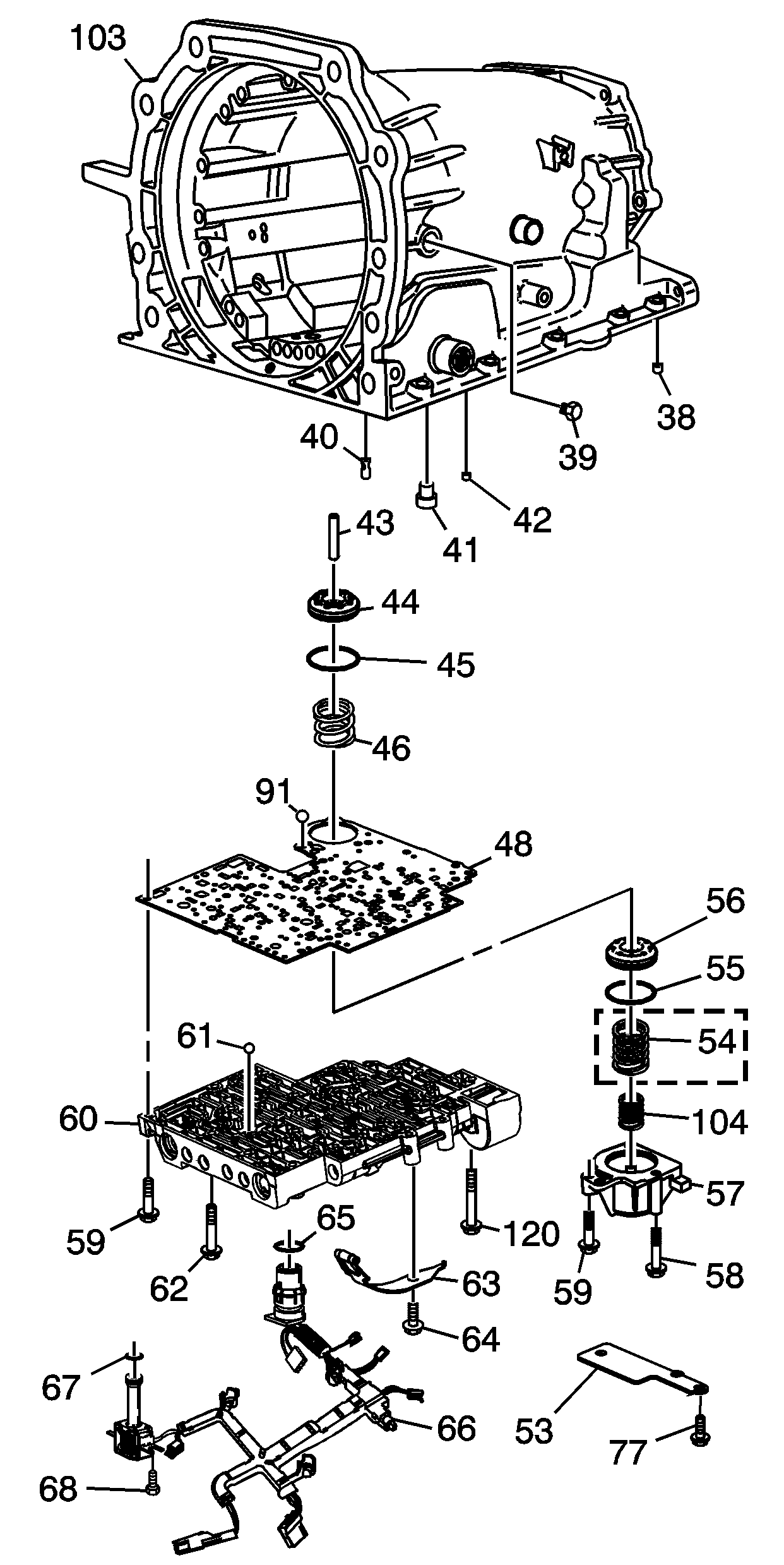
Home >> Hummer >> 2009 >> H3 Base, Automatic >> Repair and Diagnosis >> Transmission >> Automatic Trans >> Automatic Transmission - Introduction >> Component Locator >> Disassembled Views

Disassembled Views

Fig 1: Case and Associated Parts (1 of 2)
GM2035522Courtesy of GENERAL MOTORS CORP.
Callout Component Name
1 Torque Converter Assembly - Size Model Dependent
2 Pump to Case Bolt
3 Pump to Case Bolt O-Ring
4 Oil Pump Assembly
5 A/T Fluid Pump Seal - Pump to Case
6 Pump Cover to Case Gasket
7 Case Bushing
9 Transmission Vent Assembly
11 Case Servo Plug
12 Servo Return Spring
13 2nd Apply Piston Pin
14 Retainer Ring - 2nd Apply Piston
15 Servo Cushion Spring Retainer
16 Servo Cushion Spring - Outer
17 2nd Apply Piston
18 Oil Seal Ring - 2nd Apply Piston - Outer
19 Oil Seal Ring - 2nd Apply Piston - Inner
20 Servo Piston Housing - Inner
21 O-Ring Seal
22 Servo Apply Pin Spring
23 Servo Apply Pin Washer
24 Retainer Ring - Apply Pin
25 4th Apply Piston
26 Oil Seal Ring - 4th Apply Piston - Outer
27 O-Ring Seal - 2-4 Servo Cover
28 2-4 Servo Cover
29 Servo Cover Retaining Ring
30 Case Extension to Case Seal
31 Case Extension - Model Dependent
32 Case Extension to Case Bolt
33 Case Extension Bushing
34 Case Extension Oil Seal Assembly - Model Dependent
34 Case Extension Oil Seal Assembly - Model Dependent
35 Speed Sensor Retaining Bolt
36 Vehicle Speed Sensor (VSS)
37 O-Ring Seal - VSS to Case Extension
71 Filter Seal
72 Transmission Oil Filter Assembly - Model Dependent
73 Transmission Oil Pan Gasket
74 Chip Collector Magnet
75 Transmission Oil Pan - Model Dependent
76 Transmission Oil Pan Screw
94 Converter Housing to Case Bolt
95 Oil Cooler Quick Connector
96 Oil Cooler Quick Connect Clip
97 Converter Housing Access Hole Plug - Model Dependent
98 Converter Bolt Inspection Plate - Model Dependent
99 Cup D4 Orifice Plug
102 Converter Housing - Model Dependent
103 Main Section Case - Model Dependent
105 Servo Cushion Spring - Inner - Model Dependent
Fig 2: Case and Associated Parts (2 of 2)
GM2035523Courtesy of GENERAL MOTORS CORP.
Callout Component Name
38 Transmission Case Plug - Accumulator Bleed
39 Pressure Plug
40 Third Accumulator (#7) Retainer and Ball Assembly
41 Band Anchor Pin
42 Retainer and Ball Assembly - Double Orifice (#10)
43 Accumulator Piston Pin
44 3-4 Accumulator Piston
45 Oil Seal Ring - 3-4 Accumulator Piston
46 3-4 Accumulator Spring - Model Dependent
48 Valve Body Spacer Plate w/Gasket - Bonded
53 Spacer Plate Support Plate
54 1-2 Accumulator Spring - Outer - Model Dependent
55 Oil Seal Ring - 1-2 Accumulator
56 1-2 Accumulator Piston
57 1-2 Accumulator Cover and Pin Assembly - Model Dependent
58 Accumulator Cover Bolt
59 Accumulator Cover Bolt
60 Control Body Valve Assembly - Model Dependent
61 Checkball (#2, 3, 4, 5, 6, 8, 12)
62 Valve Body Bolt
63 Manual Detent Spring Assembly
64 Manual Detent Spring Bolt
65 Wiring Harness Pass-Through Connector O-Ring Seal
66 Wiring Harness Solenoid Assembly - Model Dependent
67 O-Ring Seal - Solenoid
68 Hex Washer Head Bolt - Solenoid
77 Spacer Plate Support Bolt
77 Spacer Plate Support Bolt
91 Number 1 Checkball
103 Main Section Case - Model Dependent
104 1-2 Accumulator Spring - Inner
120 Valve Body Bolt
Fig 3: Exploded View Of Oil Pump Assembly
GM1887594Courtesy of GENERAL MOTORS CORP.
Callout Component Name
200 Pump Body
201 Oil Seal Ring - Slide to Wear Plate
202 O-Ring Seal - Slide Seal Back-Up
203 Pump Slide
204 Pivot Pin Spring
205 Pivot Slide Pin
208 Pump Slide Seal Support
209 Pump Slide Seal
210 Pump Vane Ring
210 Pump Vane Ring
211 Rotor Guide
212 Oil Pump Rotor
213 Pump Vane
214 Stator Shaft
215 Pump Cover
216 Pressure Regulator Valve
217 Pressure Regulator Valve Spring
218 Pressure Regulator Isolator Spring
219 Reverse Boost Valve
220 Reverse Boost Valve Sleeve
221 Oil Pump Reverse Boost Valve Retaining Ring
222 Oil Pump Converter Clutch Valve Retaining Ring
223 Stop Valve
224 Converter Clutch Valve - Model Dependent
227 Pressure Relief Bolt Rivet
228 Pressure Relief Ball
229 Pressure Relief Spring
230 Oil Seal Ring - Stator Shaft
231 Oil Pump Cover Screen Seal
232 Oil Pump Cover Screen
233 Bolt M8 X 1.25 X 40 - Cover to Body
234 Stator Shaft Bushing - Front
235 Oil Pump Cover Plug - FWD Clutch Feed
236 Oil Pump Cover Plug
236 Oil Pump Cover Plug
236 Oil Pump Cover Plug
236 Oil Pump Cover Plug
236 Oil Pump Cover Plug
236 Oil Pump Cover Plug
237 Check Valve Retainer and Ball Assembly
237 Check Valve Retainer and Ball Assembly
238 Converter Clutch Signal Orifice - Cup Plug
240 Cup Orifice Plug
241 Stator Shaft Bushing - Rear
242 Pump Body Bushing
243 Oil Seal Assembly
244 Fluid Seal Retainer
245 A/T Fluid Pump Slide Outer Spring
246 Converter Clutch Valve Spring
247 A/T ISS Attaching Bolt - Model Dependent
249 O-ring
250 A/T Input Speed Sensor (ISS) Assembly
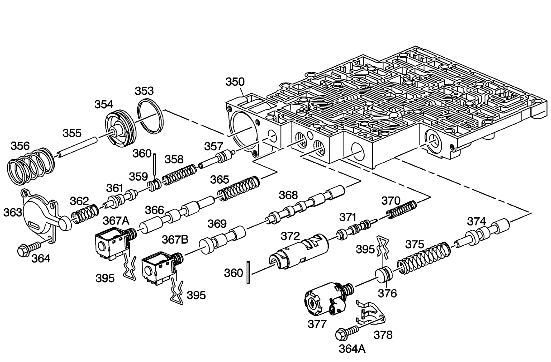
Fig 4: Control Valve Body Assembly Disassembled View (1 of 2)
GM1239557Courtesy of GENERAL MOTORS CORP.
Callout Component Name
350 Control Valve Body Assembly
353 Forward Accumulator Oil Seal
354 Forward Accumulator Piston
355 Forward Accumulator Pin
356 Forward Accumulator Spring
357 Forward Abuse Valve
358 Forward Abuse Valve Spring
359 Bore Plug
360 Coiled Spring Pin
360 Coiled Spring Pin
361 Low Overrun Valve
362 Low Overrun Valve Spring
363 Forward Accumulator Cover
364 Forward Accumulator Cover Bolt
364a Pressure Control Solenoid Retainer Bolt
365 1-2 Shift Valve Spring - Model Dependent
366 1-2 Shift Valve - Model Dependent
367a 1-2 Shift Solenoid Valve
367b 2-3 Shift Solenoid Valve
368 2-3 Shift Valve
369 2-3 Shuttle Valve
370 1-2 Accumulator Valve Spring
371 1-2 Accumulator Valve
372 1-2 Accumulator Valve Sleeve
374 Actuator Feed Limit Valve
375 Actuator Feed Limit Valve Spring
376 Bore Plug
377 Pressure Control Solenoid Valve
378 Pressure Control Solenoid Retainer
395 Bore Plug and Solenoid Retainer
395 Bore Plug and Solenoid Retainer
395 Bore Plug and Solenoid Retainer
Fig 5: Control Valve Body Assembly Disassembled View (2 of 2)
GM2035524Courtesy of GENERAL MOTORS CORP.
Callout Component Name
340 Manual Valve
350 Control Valve Body Assembly
359 Bore Plug
360 Coiled Spring Pin
380 Regulator Apply Valve
381 Bore Plug
381 Bore Plug
381 Bore Plug
381 Bore Plug
382 4-3 Sequence Valve Spring
383 4-3 Sequence Valve
384 3-4 Relay Valve
385 3-4 Shift Valve
386 3-4 Shift Valve Spring
387 Reverse Abuse Valve
388 Reverse Abuse Valve Spring
389 3-2 Downshift Valve
390 3-2 Downshift Valve Spring
395 Bore Plug and Solenoid Retainer
395 Bore Plug and Solenoid Retainer
395 Bore Plug and Solenoid Retainer
395 Bore Plug and Solenoid Retainer
395 Bore Plug and Solenoid Retainer
395 Bore Plug and Solenoid Retainer
396 TCC PWM Solenoid Valve
397 Regulator Apply Spring
398 Isolator Valve
399 Pump Ball Check Valve - M33 Only
Fig 6: Identifying Internal Parts (1 Of 2)
GM1552903Courtesy of GENERAL MOTORS CORP.
Callout Component Name
600 3-4 Clutch Boost (5) Spring Assembly
601 Thrust Washer - Pump to Drum
602 2-4 Band Assembly - Model Dependent
603 Reverse Input Clutch Bushing - Front
605 Reverse Input Clutch Housing and Drum Assembly
606 Reverse Input Clutch Bushing - Rear
607 Reverse Input Clutch Piston Assembly
608a Reverse Input Clutch Seal - Inner
608b Reverse Input Clutch Seal - Outer
609 Reverse Input Clutch Spring Assembly
610 Reverse Input Clutch Spring Retainer Ring
611 Reverse Input Clutch Plate - Belleville
612a Reverse Input Clutch Turbulator Plate - Steel
612b Reverse Input Clutch Plate Assembly - Fiber
613 Reverse Input Clutch Backing Plate - Selective
614 Reverse Input Clutch Retaining Ring
615 Stator Shaft/Selective Washer Bearing Assembly
616 Thrust Washer - Selective
617 Check Valve Retainer and Ball Assembly
618 O-Ring Seal - Location Model Dependent
619 Oil Seal Ring - Solid
620 Retainer and Checkball Assembly
621 Input Housing and Shaft Assembly - Model Dependent
622 O-Ring Input to Forward Clutch Housing Seal
623 3rd and 4th Clutch Piston
625 3rd and 4th Clutch Ring - Apply
626 3rd and 4th Clutch Spring Assembly
627 Forward Clutch Housing Retainer and Ball Assembly
628 Forward Clutch Housing
630 Forward Clutch Piston
632 Overrun Clutch Piston
633 Overrun Clutch Ball
634 Overrun Clutch Spring Assembly
635 Overrun Clutch Spring Retainer Snap Ring
636 Input Housing to Output Shaft Seal
637 Input Sun Gear Bearing Assembly
638 Overrun Clutch Hub Retaining Snap Ring
639 Overrun Clutch Hub
640 Forward Sprag Clutch Inner Race and Input Sun Gear Assembly
642 Forward Sprag Assembly
643 Sprag Assembly Retainer Ring
643 Sprag Assembly Retainer Ring
644 Forward Clutch Race - Outer
645a Overrun Clutch Plate - Steel
645b Overrun Clutch Plate Assembly - Fiber
646 Forward Clutch Plate - Apply
648 Forward Clutch Plate - Waved
649a Forward Clutch Plate - Steel
649b Forward Clutch Plate Assembly - Fiber
650 Forward Clutch Backing Plate - Selective
651 Forward Clutch Backing Plate Retainer Ring
653 3rd and 4th Clutch Apply Plate - Stepped
653 3rd and 4th Clutch Apply Plate - Stepped
653 3rd and 4th Clutch Apply Plate - Stepped
654a 3rd and 4th Clutch Plate Assembly - Fiber - Quantity Model Dependent 5, 6 or 7 Plates
654b 3rd and 4th Clutch Plate - Steel - Quantity Model Dependent
655 3rd and 4th Clutch Backing Plate - Selective - Model Dependent
655 3rd and 4th Clutch Backing Plate - Selective - Model Dependent
655 3rd and 4th Clutch Backing Plate - Selective - Model Dependent
656 3rd and 4th Clutch Backing Plate Retainer Ring
657 Input Sun Gear Front Bushing
659 Input Sun Gear Rear Bushing
688 Cup Plug
698 Orificed Cup Plug
Fig 7: Identifying Internal Parts (2 of 2)
GM1960163Courtesy of GENERAL MOTORS CORP.
Callout Component Name
661 Output Shaft to Input Carrier Retainer
662 Input Carrier Assembly - 4 or 5 Pinion-Model Dependent
662 Input Carrier Assembly
663 Thrust Bearing Assembly - Input Carrier to Reaction Shaft
664 Input Internal Gear
665 Reaction Carrier Shaft Front Bushing
666 Reaction Carrier Shaft
667 Reaction Carrier Shaft Rear Bushing
668 Reaction Shaft/Internal Gear Retainer Ring
669 Thrust Bearing Assembly - Reaction Shaft Shell
670 Reaction Sun Shell
671 Reaction Sun Gear Retainer Ring
672 Reaction Sun Bushing
673 Reaction Sun Gear
674 Thrust Washer - Race/Reaction Shell
675 Low and Reverse Roller Clutch Race
676 Low and Reverse Support to Case Retainer Ring
677 Low and Reverse Roller Assembly Retainer Ring - Cam
677 Low and Reverse Roller Assembly Retainer Ring - Cam
678 Low and Reverse Roller Clutch Assembly
679 Low and Reverse Clutch Support Assembly
680 Low and Reverse Clutch Support Retainer Spring
681 Reaction Carrier Assembly - 4 or 5 Pinion-Model Dependent
681 Reaction Carrier Assembly - 4 or 5 Pinion-Model Dependent
682a Low and Reverse Clutch Plate - Waved
682b Spacer Low and Reverse Clutch Plate - Selective
682c Low and Reverse Clutch Plate Assembly - Fiber
682d Low and Reverse Clutch Turbulator Plate - Steel
683 Thrust Bearing Assembly - Reaction Carrier/Support
684 Internal Reaction Gear - Model Dependent
685 Internal Reaction Gear Support - Model Dependent
686 Reaction Gear/Support Retainer Ring
687 Output Shaft - Model Dependent
690 Output Shaft Sleeve - Model Dependent 2WD only
691 Output Shaft Seal - Model Dependent 2WD only
692 Reaction Gear Support to Case Bearing
693 Low and Reverse Clutch Retainer Ring
694 Low and Reverse Clutch Spring Assembly
695 Low and Reverse Clutch Piston
696a Low and Reverse Clutch Seal - Outer
696b Low and Reverse Clutch Seal - Center
696c Low and Reverse Clutch Seal - Inner
697 Oil Deflector - High Output Models Only
699 Internal Transmission Speed Sensor Rotor
Fig 8: Parking Lock and Manual Shift Detent Lever with Shaft Position Switch Assembly
GM2035527Courtesy of GENERAL MOTORS CORP.
Callout Component Name
78 Steel Cup Plug
79 Parking Brake Pawl Shaft
80 Parking Pawl Return Spring
81 Parking Brake Pawl
82 Manual Shaft Seal
84 Manual Shaft - Model Dependent
85 Parking Lock Actuator Assembly
86 Parking Lock Bracket
87 Parking Lock Bracket Bolt
88 Manual Shift Detent Lever with Shaft Position Switch Assembly
89 Manual Valve Link
92 Manual Shift Detent Lever Hub Pin