lemon-mirror:
Home >> Hummer >> 2010 >> H3 Base, Automatic >> Repair and Diagnosis >> Electrical >> Component Locations >> Component Locations - Electrical Center Identification Views >> Electrical Center Identification Views

Electrical Center Identification Views

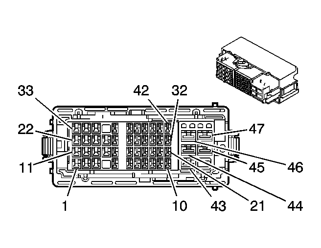
Fig 1: Fuse Block - Underhood, Label (without BRM)
GM2272004Courtesy of GENERAL MOTORS CORP.
No. Device Rating Description
1 HTD SEATS Fuse 20A Heater Seat Control - Driver (KA1)
Heated Seat Control Module - Passenger (KA1)
2 SPO GRILLE GUARD Fuse 20A Not Used (Dealer Installed Off Road Grille Lamp Relay) (UNR)
3 EMPTY - Not Used (SUV)
STOP Fuse 15A Stop Lamp Switch (Truck)
4 SPO ROOF RACK LIGHTS Fuse 20A Not Used (Dealer Installed Off Road Roof Lamp Relay) (UNJ)
5 BATT IGN SW Fuse 10A Ignition Switch (All), Theft Deterrent Module (BAE)
6 FRT WPR Fuse 25A ON/OFF WPR Relay, HI/LOW WPR Relay, Windshield Wiper Motor
7 RVC PWR Fuse 10A Generator Battery Control Module
8 PWR LCKS Fuse 20A Door Lock/Window Switch - Driver
9 S/ROOF FRT WPR PUMP Fuse 15A Sunroof Module (CF5), Turn Signal/Multifunction Switch, Automatic Transmission Floor Shift Control (M30)
10 SPO 10A Not Used
11 EMPTY - Not Used
12 TCCM Fuse 30A Transfer Case Shift Control Module
13 RDO Fuse 10A Radio, HVAC Control Module
14 BCM Fuse 10A Body Control Module (BCM)
15 REAR WPR MTR Fuse 15A Rear Window Wiper/Washer Module (SUV)
16 REAR WPR SWTCH/PUMP Fuse 15A Rear Window/Wiper Washer Switch, Rear Window Washer Fluid Pump (SUV)
17 AIR PUMP RLY/TCM Fuse 10A Secondary Air Injection (AIR) Pump Relay (LLR with K18), Transmission Control Module (TCM) (LLR with M30)
TCM Fuse 10A Transmission Control Module (TCM) (LH9)
18 REAR VISION Fuse 10A Rearview Camera Image Display Module (UVC)
19 CLSTR Fuse 10A Instrument Panel Cluster (IPC)
20 REAR TRN/HAZRD Fuse 20A Body Control Module (BCM)
21 PCM-1 Fuse 10A Engine Control Module (ECM)
22 ERLS Fuse 15A Evaporative Emission (EVAP) Canister Purge Solenoid Valve, Mass Air Flow (MAF)/Intake Air Temperature (IAT) Sensor
23 INJ Fuse 15A Fuel Injectors (LLR)
INJ/V8 COIL 20A Ignition Coils - Even (LH9)
Fuel Injectors - Even (LH9)
24 FOG LAMP Fuse 15A Fog Lamp - Left
Fog Lamp - Right
25 PCM-B Fuse 10A Engine Control Module (ECM)
26 TCM Fuse 10A Transmission Control Module (TCM) (M30)
27 AIRBAG Fuse 10A Inflatable Restraint Vehicle Rollover Sensor, Multifunction I/P Switch, Inflatable Restraint Sensing and Diagnostic Module (SDM), Inflatable Restraint Front Passenger Presence System (PPS) Sensor
28 EMPTY - Not Used
29 ABS/VSES Fuse 10A Electronic Brake Control Module (EBCM)
Fuel Pump Flow Control Module
30 REAR DEFOG Fuse 20A Rear Window Defogger
31 CNSTR VENT Fuse 10A Evaporative Emission (EVAP) Canister Vent Solenoid Valve
32 RVC SNSR Fuse 10A Generator Battery Control Module
33 IGN 1 Fuse 15A Ignition Coils (LLR)
IGN 1 Fuse 20A Ignition Coils - Odd, Fuel Injectors - Odd (LH9)
34 TRANS Fuse 10A Automatic Transmission (M30)
35 CRUISE/MISC Fuse 10A Inside Rearview Mirror, Turn Signal/Multifunction Switch, Cruise Control Release Switch
36 HORN Fuse 10A Horn
37 LR PRK Fuse 10A Tail/Stop and Turn Signal Lamp - Left, Body Control Module (BCM)
38 AMP Fuse 25A Audio Amplifier (UQA)
39 DRL Fuse 10A DRL Relay
40 RT HDLP Fuse 10A Headlamp - Right
41 LT HDLP Fuse 10A Headlamp - Left
42 TRLR BCK/UP Fuse 10A Trailer Connector (UY7)
43 FRT PRK Fuse 10A Marker Lamp - Left Front, Marker Lamp - Right Front, Park/Turn Signal Lamp Left Front, Park/Turn Signal Lamp Right Front, Door Lock/Window Switch - Driver/Passenger (All); Roof Clearance Lamps (UNH)
44 AIR SOL Fuse 15A AIR SOL Relay, Secondary Air Injection Pump (AIR) Solenoid (K18)
45 AUX PWR 2/CIG LTR Fuse 20A Accessory Power Outlet - Front (All), Accessory Power Outlet - Rear (SUV)
46 ETC Fuse 15A Engine Control Module (ECM)
47 O2 SNSR Fuse 15A Heated Oxygen Sensor (HO2S) 1 (LLR), Heated Oxygen Sensor (HO2S) 2 (LLR), Heated Oxygen Sensor (HO2S) Bank 1 Sensor 1 (LH9), Heated Oxygen Sensor (HO2S) Bank 1 Sensor 2 (LH9), Heated Oxygen Sensor (HO2S) Bank 2 Sensor 1 (LH9), Heated Oxygen Sensor (HO2S) Bank 2 Sensor 2 (LH9)
48 A/C CLUTCH Fuse 10A A/C Compressor Clutch, A/C CLUTCH Diode
49 RR PRK Fuse 10A Tail/Stop and Turn Signal Lamp - Right, License Lamp
50 STOP Fuse 15A Stop Lamp Switch
51 AUX PWR 1/CIG LTR Fuse 20A Cigar Lighter, Data Link Connector (DLC)
52 VSES/ABS Fuse 10A Electronic Brake Control Module (EBCM), Steering Wheel Position Sensor, Yaw and Latereral Accelerometer Sensor
53 PWR HTR SWTCH Fuse 10A Lumbar Adjuster Switch - Driver/Passenger (AG1)
54 FSCM Fuse 15A Fuel Pump Flow Control Module
55 TRLR Fuse 10A Trailer Connector (UY7)
56 FRT TRN/HAZRD/CTSY MIR Fuse 15A Body Control Module (BCM)
57 PWR S/ROOF Fuse 30A Sunroof Motor (CF5)
58 TCCM SWTCH Fuse 10A Multifunction I/P Switch
59 HVAC CNTRL HD Fuse 10A HVAC Control Module
60 BCK/UP Fuse 15A BCK/UP Relay
61 PWR SEATS Fuse 40A Power Seat Switches (AG1)
62 AIR PUMP Fuse 60A Secondary Air Injection (AIR) Pump Relay (K18)
63 RT PWR WNDW Fuse 30A Door Lock/Window Switch - Passenger (Left Hand Drive), Door Lock/Window Switch - Driver (Right Hand Drive), Door Window Switch - Right Rear
64 ABS/VSES2-SOL Fuse 30A Electronic Brake Control Module (EBCM)
65 WPR Diode - Cathode-WIPER ON/OFF RELAY, Anode-WIPER HI/LO RELAY
66 EMPTY - Not Used (SUV)
STOP Relay - STOP Fuse (Truck)
67 ABS/VSES1-MTR Fuse 40A Electronic Brake Control Module (EBCM)
68 LT PWR WNDW Fuse 30A Door Lock/Window Switch - Driver (Left Hand Drive), Door Lock/Window Switch - Passenger (Right Hand Drive), Door Window Switch - Left Rear
69 FOG LAMP Relay - Fog Lamp Fuse
70 BEAM SELECT Relay - HI Beam Headlamps, Low Beam Headlamps
71 REAR DEFOG Relay - REAR DEFOG Fuse
72 ON/OFF WPR Relay - HI/LOW WPR Relay
73 HI/LOW WPR Relay - Windshield Wiper Motor
74 HORN Relay - HORN Fuse
75 HDLP Relay - LH HDLP, and RH HDLP Fuses
76 A/C CLUTCH Relay - A/C CLUTCH Fuse
77 PCM CNTRL (STARTER) Relay - Starter Solenoid
78 RUN/CRNK Relay - AIRBAG, CRUISE/MISC, IGN1, TRANS, BCK/UP, ABS/VSES, ENG CNTRL SYS, PCM-I, and INJ Fuses
79 DRL Relay - Headlamps
80 AIR SOL Relay - Engine Control Module (ECM)
81 PWR/TRN Relay - O2 SNSR, and ETC Fuses
82 HVAC BLWR Fuse 30A Blower Motor, High Speed Blower Motor Relay
83 E-BRAKE Fuse 30A Electronic Brake Module (Blunt Cut)
84 TRLR B+ Fuse 30A Trailer Connector (UY7)
85 STRTR Fuse 30A PCM CNTRL Relay, Starter Motor
86 BCK/UP Relay - Backup Lamps
87 IGN-3 (HVAC) Relay - HVAC BLWR, HVAC CNTRL HD, PWR HTR SWTCH, TCCM SWTCH, and VSES/ABS Fuses
88 RAP/ACCY Relay - LT PWR WNDW, RT PWR WNDW, S/ROOF FRT/WPR, REAR WPR SWTCH/PUMP, SPO, and REAR/WPR MTR Fuses
89 PARK LAMP Relay - LR PRK, RR PRK, FRT/PRK, and TRLR Fuses
90 A/C CLUTCH Diode - A/C Clutch Diode
91 GEN 125A Generator
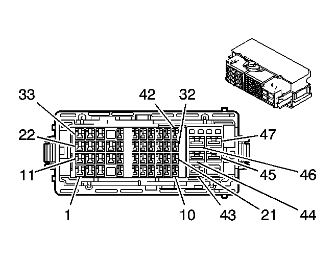
Fig 2: Fuse Block - Underhood, Label (BRM)
GM2272013Courtesy of GENERAL MOTORS CORP.
No. Device Rating Description
1 HTD SEATS Fuse 20A Heater Seat Control - Driver (KA1)
Heated Seat Control Module - Passenger (KA1)
2 SPO GRILLE GUARD Fuse 20A Not Used (Dealer Installed Off Road Grille Lamp Relay) (UNR)
3 EMPTY - Not Used (without LVC)
FUEL PUMP Fuse 15A Fuel Pump (LVC)
4 SPO ROOF RACK LIGHTS Fuse 20A Not Used (Dealer Installed Off Road Roof Lamp Relay) (UNJ)
5 BATT IGN SW Fuse 10A Serial Data Gateway Module (SDGM) (LVC), Theft Deterrent Module (BAE), Ignition Switch
6 FRT WPR Fuse 25A ON/OFF WPR Relay, HI/LOW WPR Relay, Windshield Wiper Motor
7 RVC PWR Fuse 10A Generator Battery Control Module
8 PWR LCKS Fuse 20A Door Lock/Window Switch - Driver
9 S/ROOF FRT WPR PUMP Fuse 15A Sunroof Module (CF5), Turn Signal/Multifunction Switch, Automatic Transmission Floor Shift Control (MD8 or M30)
10 HD LMP LEVELING Fuse 10A Headlamp Switch, Headlamp Leveling Actuators - Left and Right
11 EMPTY - Not Used
12 TCCM Fuse 30A Transfer Case Shift Control Module
13 RDO Fuse 10A Radio, HVAC Control Module
14 BCM Fuse 10A Body Control Module (BCM)
15 REAR WPR MTR Fuse 15A Rear Window Wiper/Washer Module
16 REAR WPR SW/PUMP Fuse 15A Rear Window/Wiper Washer Switch, Rear Window Washer Fluid Pump
17 AIR PUMP RLY/TCM Fuse 10A Secondary Air Injection (AIR) Pump Relay (K18), Transmission Control Module (TCM) (MD8 or LLR with M30)
TCM Fuse 10A Transmission Control Module (TCM) (LH9)
18 REAR VISION Fuse 10A Rearview Camera (UVC)
19 CLSTR Fuse 10A Instrument Panel Cluster (IPC)
20 REAR TRN/HAZRD Fuse 20A Body Control Module (BCM)
21 PCM-1 Fuse 10A Engine Control Module (ECM) (without LVC)
22 ERLS Fuse 15A Evaporative Emission (EVAP) Canister Purge Solenoid Valve (without LVC), Mass Air Flow (MAF)/Intake Air Temperature (IAT) Sensor
23 INJ Fuse 15A Fuel Injectors (LLR)
INJ/V8 COIL 20A Fuel Injectors - Even (LH9), Ignition Coils - Even (LH9)
24 FRT FOG LAMP Fuse 15A Front Fog Lamp - Left and Right
25 PCM-B Fuse 10A Engine Control Module (ECM) (without LVC), Serial Data Gateway Module (LVC)
26 TCM Fuse 10A Transmission Control Module (TCM) (MD8 or M30)
27 SIR Fuse 10A Inflatable Restraint Vehicle Rollover Sensor, Multifunction I/P Switch, Inflatable Restraint Sensing and Diagnostic Module (SDM), Inflatable Restraint Front Passenger Presence System (PPS) Sensor
28 EMPTY - Not Used (without LVC)
PCM-I Fuse 10A Engine Control Module (ECM) (LVC)
29 ABS/VSES Fuse 10A Electronic Brake Control Module (EBCM)
Fuel Pump Flow Control Module
30 REAR DEFOG Fuse 20A Rear Window Defogger
31 CNSTR VENT Fuse 10A Evaporative Emission (EVAP) Canister Vent Solenoid Valve
32 RVC VSENSE Fuse 10A Generator Battery Control Module
33 IGN-1 Fuse 15A Ignition Coils (LLR)
IGN-1 Fuse 20A Ignition Coils - Odd, Fuel Injectors - Odd (LH9)
34 TRANS Fuse 10A Automatic Transmission (MD8 or M30)
35 CRUISE/MISC Fuse 10A Inside Rearview Mirror, Turn Signal/Multifunction Switch, Cruise Control Release Switch
36 REAR FOG Fuse 10A Rear Fog Lamps (T79)
37 LR PARK Fuse 10A Tail/Stop and Turn Signal Lamp - Left, Body Control Module (BCM)
38 AMP Fuse 25A Audio Amplifier (UQA)
39 HORN Fuse 10A Horn Relay
40 RT HDLP Fuse 10A Headlamp - Right
41 LT HDLP Fuse 10A Headlamp - Left
42 TRLR BCK/UP Fuse 10A Trailer Connector (UY7)
43 FRT PRK Fuse 10A Marker Lamp - Left Front, Marker Lamp - Right Front, Park/Turn Signal Lamp Left Front, Park/Turn Signal Lamp Right Front, Door Lock/Window Switch - Driver/Passenger (All); Roof Clearance Lamps (UNH)
44 AIR SOL Fuse 15A AIR SOL Relay
45 AUX PWR-2 /CIG LTR Fuse 20A Accessory Power Outlet - Front (All), Accessory Power Outlet - Rear
46 ETC Fuse 15A Engine Control Module (ECM) (without LVC), Exhaust Gas Recirculation (EGR) Vacuum control Solenoid (LVC), Exhaust Gas Recirculation (EGR) Cooler Control Valve Solenoid (LVC), Fuel Heater Relay (LVC), Glow Plug Control Module (GPCM) (LVC), Heated Oxygen Sensor (HO2S) (LVC), Throttle Body (LVC), Turbocharger Vane Position Control Solenoid Valve (LVC), Water in Fuel Sensor (LVC)
47 O2 SNSR Fuse 15A Heated Oxygen Sensor (HO2S) 1 (LLR), Heated Oxygen Sensor (HO2S) 2 (LLR), Heated Oxygen Sensor (HO2S) Bank 1 Sensor 1 (LH9), Heated Oxygen Sensor (HO2S) Bank 1 Sensor 2 (LH9), Heated Oxygen Sensor (HO2S) Bank 2 Sensor 1 (LH9), Heated Oxygen Sensor (HO2S) Bank 2 Sensor 2 (LH9)
O2 SNSR Fuse 20A Engine Control Module (ECM) (LVC)
48 A/C CLTCH Fuse 10A A/C Compressor Clutch, A/C CLUTCH Diode
49 RR PRK Fuse 10A Tail/Stop and Turn Signal Lamp - Right, License Lamp
50 STOP Fuse 15A Stop Lamp Switch, Stop Lamp Relay
51 AUX PWR-1 /CIG LTR Fuse 20A Cigar Lighter, Data Link Connector (DLC)
52 VSES/ABS Fuse 10A Electronic Brake Control Module (EBCM), Steering Wheel Position Sensor, Yaw and Latereral Accelerometer Sensor
53 PWR HTR SW Fuse 10A Lumbar Adjuster Switch - Driver/Passenger (AG1)
54 FSCM Fuse 15A Fuel Pump Flow Control Module (without LVC), Fuel Heater Relay (LVC)
55 TRLR Fuse 10A Trailer Connector (B16 or UY7)
56 FRT TRN/HAZRD/CTSY MIR Fuse 15A Body Control Module (BCM)
57 PWR S/ROOF Fuse 30A Sunroof Motor (CF5)
58 TCCM SW Fuse 10A Multifunction I/P Switch
59 HVAC (CNTRL HD) Fuse 10A HVAC Control Module
60 BCK/UP Fuse 15A BCK/UP Relay
61 PWR SEATS Fuse 40A Power Seat Switches (AG1)
62 AIR PUMP Fuse 60A Secondary Air Injection (AIR) Pump Relay (K18)
COOL FANS Fuse 40A Fuse Block - Underhood Secondary (V08)
GLOW PLUG Fuse 60A Glow Plug Control Module (GPCM) (LVC)
63 RT PWR WNDW Fuse 30A Door Lock/Window Switch - Passenger (Left Hand Drive), Door Lock/Window Switch - Driver (Right Hand Drive), Door Window Switch - Right Rear
64 ABS/VSES-2 SOL Fuse 30A Electronic Brake Control Module (EBCM)
65 WPR Diode - Cathode-WIPER ON/OFF RELAY, Anode-WIPER HI/LO RELAY
66 EMPTY - Not Used (without LVC)
Fuel Pump Relay - Fuel Pump Fuse (LVC)
67 ABS/VSES-1MTR Fuse 40A Electronic Brake Control Module (EBCM)
68 LT PWR WNDW Fuse 30A Door Lock/Window Switch - Driver (Left Hand Drive), Door Lock/Window Switch - Passenger (Right Hand Drive), Door Window Switch - Left Rear
69 FRT FOG LAMP Relay - FRT FOG Fuse
70 BEAM SELECT Relay - HI Beam Headlamps, Low Beam Headlamps
71 REAR DEFOG Relay - REAR WINDOW DEFOG Fuse
72 ON/OFF WPR Relay - HI/LOW WPR Relay
73 HI/LO WPR Relay - Windshield Wiper Motor
74 REAR FOG LAMP Relay - REAR FOG Fuse
75 HDLP Relay - LH HDLP, and RH HDLP Fuses
76 A/C CLTCH Relay - A/C CLUTCH Fuse
77 PCM CNTRL (STARTER) Relay - Starter Solenoid
78 RUN/CRNK Relay - AIRBAG, CRUISE/MISC, IGN1, TRANS, BCK/UP, ABS/VSES, ENG CNTRL SYS, PCM-I, and INJ Fuses
79 Horn Relay - Horns
80 AIR SOL Relay - Auxiliary Heater Clutch (NT4), Secondary Air Injection (AIR) pump Solenoid (K18)
81 PWR/TRN Relay - AIR SOL Relay, O2 SNSR, and ETC Fuses
82 HVAC (BLWR) Fuse 30A Blower Motor, High Speed Blower Motor Relay
83 E-BRAKE Fuse 30A Electronic Brake Module (Blunt Cut)
84 TRLR B+ Fuse 30A Trailer Connector (B16 or UY7)
85 STRTR Fuse 30A PCM CNTRL (STARTER) Relay
86 BCK/UP Relay - Backup Lamps, Electronic Brake Control Module, Inside Rearview Mirror, TRLR BCK/UP Fuse
87 IGN-3 (HVAC) Relay - HVAC BLWR, HVAC CNTRL HD, PWR HTR SWTCH, TCCM SWTCH, and VSES/ABS Fuses
88 RAP/ACCY Relay - LT PWR WNDW, RT PWR WNDW, S/ROOF FRT/WPR, REAR WPR SWTCH/PUMP, SPO, and REAR/WPR MTR Fuses
89 PARK LAMP Relay - LR PRK, RR PRK, FRT/PRK, and TRLR Fuses
90 A/C CLTCH Diode - A/C Clutch Diode
91 GEN Fuse 125A Generator
Fig 3: Fuse Block - Underhood, Top View
GM2076826Courtesy of GENERAL MOTORS CORP.
Fig 4: Fuse Block - Underhood, Bottom View
GM2076825Courtesy of GENERAL MOTORS CORP.
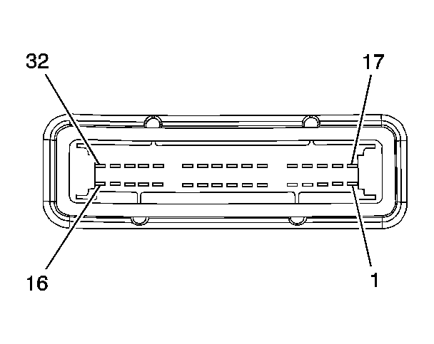
Fig 5: Fuse Block - Underhood X1
GM1566789Courtesy of GENERAL MOTORS CORP.
Fuse Block - Underhood X1

Pin Wire Circuit Function
1-2 - - Not Used
3 0.35 OG 640 Headlamp Supply Voltage (without BRM)
1.0 D-GN 1329 Battery Positive Voltage (BRM)
4 0.35 WH/BK 5991 Powertrain Relay Control
5 0.5 OG 3140 Battery Positive Voltage
6 0.35 BN/WH 2609 Right Rear Park Lamp Control (SUV)
7 0.5 BN/WH 2609 Right Rear Park Lamp Control
8 0.5 YE 1139 Ignition Voltage
9 0.5 BN 9 Park Lamp Control
10 0.35 BN 9 Park Lamp Control
11 0.35 D-BU/WH 339 Ignition Voltage (without BRM)
0.35 PK 339 Ignition Voltage
12 0.8 RD/WH 1940 Battery Positive Voltage (without LVC)
RD 342 Battery Positive Voltage (LVC)
13 0.8 OG 2240 Battery Positive Voltage (KA1)
14 0.35 BN 441 Ignition Voltage
15 - - Not Used
16 0.35 RD/BK 1594 Ignition Relay Coil Control
17 0.5 YE 1139 Ignition Voltage (ASF)
18 0.5 YE 1139 Ignition Voltage (ASF)
19 0.35 BN 41 Ignition Voltage
20 0.35 YE 1139 Ignition Voltage
21 0.5 L-GN 24 Backup Lamp Control
22 0.35 PK 339 Ignition Voltage
23 0.8 OG 40 Battery Positive Voltage
24 0.5 BN 241 Ignition Voltage
25 0.5 OG 3040 Battery Positive Voltage
26 1 OG 1140 Battery Positive Voltage
27 0.35 OG 1440 Battery Positive Voltage
28 0.5 PK/BK 415 Air Injection Reaction Solenoid Control (K18)
0.5 PK/BK 415 Auxiliary Heater Clutch Supply Voltage (NT4)
29 0.5 BN 2509 Left Rear Park Lamp Control
30 0.5 OG 2440 Battery Positive Voltage
31 0.8 OG 140 Battery Positive Voltage
32 0.5 OG 1340 Battery Positive Voltage
33 2 OG 2140 Battery Positive Voltage (CF5)
34 - - Not Used
35 0.8 L-GN 24 Backup Lamp Supply Voltage
36 0.35 BK 755 RAP Relay Coil Control
37 0.5 D-BU 338 Ignition Voltage
38 0.35 OG 440 Battery Positive Voltage
39 0.35 D-BU 39 Ignition Voltage
40 0.35 PU 421 Air Solenoid Relay Control
41 0.8 BN 2109 Trailer Park Lamps Control
42 0.35 BN/WH 301 Park Lamp Relay Control
43 3 RD 242 Battery Positive Voltage
44 2 YE 643 Accessory Voltage
45 3 OG 1840 Battery Positive Voltage (AG1)
46 3 RD 742 Battery Positive Voltage
47 3 BN 141 Ignition Voltage
Connector Part Information 
  • Harness: Body
  • OEM: 6098-5503
  • Service: 89046975
  • Description: 47-Way F LIF 1.5 mm/2.8 mm/6.3 mm (GY)
Terminal Part Information 
  • Pins: 1-2, 11-14, 22-24
  • Terminal/Tray: 15304711 / 8
  • Core/Insulation Crimp: Pins 1, 11-13, 22, 23: 2 / A
  • Core/Insulation Crimp: Pins 2, 14, 24: E / A
  • Release Tool/Test Probe: 15315247/J-35616-4A (PU)
  • Pins: 4-10, 16-20, 26-32, 36-72
  • Terminal/Tray: 12191812 / 19
  • Core/Insulation Crimp: Pins 4-10, 16-20, 27-32, 36-38, 42: E / C
  • Core/Insulation Crimp: Pins 21, 26, 41: C / A
  • Release Tool/Test Probe: 15315247/J-35616-2A (GY)
  • Pins: 33
  • Terminal/Tray: 15304713 / 19
  • Core/Insulation Crimp: 4 / 4
  • Release Tool/Test Probe: 15315247/J-35616-4A (PU)
  • Pins: 43, 45-47
  • Terminal/Tray: 7116-4122-02 / 10
  • Core/Insulation Crimp: A / B
  • Release Tool/Test Probe: 12094430/J-35616-42 (RD)
  • Pins: 44
  • Terminal/Tray: 7116-4121-02 / 10
  • Core/Insulation Crimp: C / B
  • Release Tool/Test Probe: 12094430/J-35616-42 (RD)
Fig 6: Fuse Block - Underhood X2
GM1566788Courtesy of GENERAL MOTORS CORP.
Fuse Block - Underhood X2

Pin Wire Circuit Function
1 2 OG 1140 Battery Positive Voltage (UQA)
2 0.35 BN 341 Ignition Voltage (KA1)
3 - - Not Used
4 0.35 PU 544 DRL Relay Control (without BRM)
0.35 BK 28 Horn Relay Control (BRM)
5 0.5 PU 34 Front Fog Lamp Control
6 0.35 PK 1439 Ignition Voltage
7 0.35 PK 1439 Ignition Voltage
8 0.5 OG 640 Headlamp Supply Voltage
9 0.35 D-GN 1329 Horn Supply Voltage (without BRM)
0.35 OG 122 Rear Fog Lamp Supply Voltage (BRM)
10 0.5 L-GN 24 Backup Lamp Control
11 - - Not Used
12 0.35 OG 1740 Battery Positive Voltage
13 3 BK 293 Rear Defog Element Control
14 1 GY 120 Fuel Pump Control (LVC)
0.8 L-BU 20 Stop Lamp Supply Voltage (Truck)
15 0.5 YE 243 Accessory Voltage
16 1 YE 143 Accessory Voltage
17 0.35 PK 639 Ignition Voltage (without LVC)
18 0.5 PK 739 Ignition Voltage (without LVC)
0.5 PK/BK 5294 Ignition Voltage (LVC)
19 0.35 BK/WH 1969 Headlamp High Beam Relay Control
20 0.5 D-BU 1201 Low Beam Switched Ground
21 0.35 BK 28 Horn Relay Control (without BRM)
0.35 YE 1977 Rear Fog Lamp Relay Control (BRM)
22 0.8 OG 1240 Battery Positive Voltage
23 1 D-GN 95 Windshield Wiper Motor Low Speed Control
24 0.5 OG 2040 Battery Positive Voltage
25 1 OG 840 Battery Positive Voltage
26 0.5 YE 343 Accessory Voltage (SUV)
27 0.5 YE 343 Accessory Voltage (SUV)
28 0.5 PK 1339 Ignition Voltage (UVC)
0.5 L-GN 6851 Ignition Voltage (UVF)
29 0.35 YE 317 Fog Lamp Relay Control
30 0.5 PK 1200 High Beam Switched Ground
31 0.35 OG 1540 Battery Positive Voltage
32 0.35 PK/WH 1970 Headlamp Relay Control
33 1 PU 92 Windshield Wiper Motor High Speed Control
34 1 BK 850 Ground
35 0.8 OG 240 Battery Positive Voltage
36 0.5 L-BU 20 Stop Lamp Supply Voltage (Truck)
0.5 D-GN/WH 465 Fuel Pump Relay Control (LVC)
37 0.35 D-GN 113 Windshield Wiper Switch Signal 1
38 0.5 D-GN/WH 459 A/C Compressor Clutch Relay Control
39 0.35 YE/BK 625 Starter Enable Relay Control
40 0.35 WH 193 Rear Defog Relay Control
41 0.35 GY 91 ON/OFF Wiper Relay Control
42 0.5 OG 740 Headlamp Supply Voltage
43 2 OG 2340 Battery Positive Voltage
44 3 OG 540 Battery Positive Voltage
45 3 OG 1640 Battery Positive Voltage
46 3 OG 540 Battery Positive Voltage
47 2.0 YE 443 Accessory Voltage
Connector Part Information 
  • Harness: Body
  • OEM: 6098-5502
  • Service: 88988708
  • Description: 47-Way F LIF Series (NA)
Terminal Part Information 
  • Pins: 1, 13
  • Terminal/Tray: 15304713 / 19
  • Core/Insulation Crimp: Pin 1: 4 / 4
  • Core/Insulation Crimp: Pin 13: F / D
  • Release Tool/Test Probe: 15315247/J-35616-4A (PU)
  • Pins: 2, 12-14, 22-25, 33, 35
  • Terminal/Tray: 15304711 / 8
  • Core/Insulation Crimp: Pins 2, 12, 24: E / A
  • Core/Insulation Crimp: Pins 14, 22, 25, 33-35: 2 / A
  • Release Tool/Test Probe: 15315247/J-35616-4A (PU)
  • Pins: 5-10, 15-21, 26-32, 36-42
  • Terminal/Tray: 12191812 / 19
  • Core/Insulation Crimp: Pins 5, 7-9, 15, 17-21, 26-32, 36-42: E / C
  • Core/Insulation Crimp: Pins 10, 16: C / A
  • Release Tool/Test Probe: 15315247/J-35616-2A (GY)
  • Pins: 43, 47
  • Terminal/Tray: 7116-4121-02 / 10
  • Core/Insulation Crimp: C / B
  • Release Tool/Test Probe: 12094430/J-35616-42 (RD)
  • Pins: 44-46
  • Terminal/Tray: 7116-4122-02 / 10
  • Core/Insulation Crimp: A / B
  • Release Tool/Test Probe: 12094430/J-35616-42 (RD)
Fig 7: Fuse Block - Underhood X3
GM1566779Courtesy of GENERAL MOTORS CORP.
Fuse Block - Underhood X3

Pin Wire Circuit Function
1 0.5 PK 139 Ignition Voltage (MD8 or M30)
2 0.5 PK 639 Ignition Voltage (LVC)
3 0.5 PK 439 Ignition Voltage
4 0.5 PK 439 Ignition Voltage
5 0.5 D-GN 59 A/C Compressor Clutch Control
6 0.5 BK 550 Ground
7 0.5 PK 239 Ignition Voltage (LLR)
8 0.8 PK 239 Ignition Voltage (without LVC)
9 0.5 PK 239 Ignition Voltage (LLR)
10 0.5 PK 239 Ignition Voltage (LLR)
11 0.8 PK 239 Ignition Voltage (without LVC)
12 0.5 PK 239 Ignition Voltage (LLR)
13-14 - - Not Used
15 0.5 PK 1639 Ignition Voltage (LH9)
0.5 PK 1639 Ignition Voltage (LH9)
0.5 PK 414 Ignition Voltage (LLR)
0.8 GY/WH 2220 Ignition Voltage (LVC)
16 0.5 PK 1539 Ignition Voltage (LH9)
0.5 PK 1539 Ignition Voltage (LH9)
0.5 PK 414 Ignition Voltage (LLR)
0.8 GY/WH 2220 Ignition Voltage (LVC)
17 0.8 BK 550 Ground (without LVC)
2.0 BK 550 Ground (LVC)
18 0.5 BK 550 Ground
19 0.5 BK 550 Ground
20 0.5 BK 550 Ground
0.5 BK 550 Ground (LLR with LHD)
21 0.5 PK 439 Ignition Voltage
0.35 PK 439 Ignition Voltage (LLR with M30)
22 0.8 PK 839 Ignition Voltage (without LVC)
23 0.5 BK 550 Ground
0.5 BK 550 Ground (LVC)
24 0.5 BK 550 Ground (LLR or LVC)
0.5 BK 550 Ground (LVC)
25 0.5 BK 550 Ground (LLR or LVC)
26 0.5 BK 550 Ground (LLR or NT4)
27-28 - - Not Used
29 0.5 BK/WH 451 Ground (M30)
0.5 BK/WH 451 Ground (M30)
2.0 BK 550 Ground (MD8)
30 0.5 BK/WH 451 Ground (without LVC)
0.5 BK/WH 451 Ground (without LVC)
2.0 BK 550 Ground (LVC)
31 2 BK/WH 451 Ground (without LVC)
0.5 BK/WH 451 Ground (LLR with RHD)
2.0 BK 550 Ground (LVC)
32 2.0 BK/WH 451 Ground
2.0 BK 550 Ground (LVC)
Connector Part Information 
  • Harness: Engine
  • OEM: 6098-2450
  • Service: Pending
  • Description: 32-Way F LIF 090 (WH)
Terminal Part Information 
  • Pins: 1-14, 15 (without LVC), 16 (without LVC), 17-30
  • Terminal/Tray: 8240-4882 / 22
  • Core/Insulation Crimp: E / C
  • Release Tool/Test Probe: 15315247/J-35616-18 (BK)
  • Pins:15 (LVC), 16 (LVC), 31-32
  • Terminal/Tray: 8240-4942 / 22
  • Core/Insulation Crimp: 2 / 1 Pins: 31-32
  • Core/Insulation Crimp: E/4 Pins:15 (LVC), 16 (LVC)
  • Release Tool/Test Probe: 15315247/J-35616-18 (BK)
Fig 8: Fuse Block - Underhood X4
GM1664494Courtesy of GENERAL MOTORS CORP.
Fuse Block - Underhood X4

Pin Wire Circuit Function
1 3 PU 6 Starter Solenoid Crank Voltage
2 5 RD 78 Air Pump Control (K18)
5 RD 78 Glow Plug Supply Voltage (LVC)
5 GN 7625 Battery Positive Voltage (V08)
Connector Part Information 
  • Harness: Engine
  • OEM: 6098-1104
  • Service: 88988637
  • Description: 2-Way F TS (NA)
Terminal Part Information 
  • Pin: 1
  • Terminal/Tray: 8100-2493 / 6
  • Core/Insulation Crimp: F / B
  • Release Tool/Test Probe: 15315247/J-35616-44 (YE)
  • Pin: 2
  • Terminal/Tray: See Terminal Kit
  • Core/Insulation Crimp: See Terminal Kit
  • Release Tool/Test Probe: See Terminal Kit
Fig 9: Fuse Block - Underhood X5 (BRM)
GM1567051Courtesy of GENERAL MOTORS CORP.
Fuse Block - Underhood X5 (BRM)

Pin Wire Circuit Function
1 - - Not Used
2 0.5 OG 6852 Accessory Voltage
3-5 - - Not Used
6 0.5 YE 543 Ignition Voltage
0.5 YE 543 Ignition Voltage
7 0.5 YE 543 Ignition Voltage
8 - - Not Used
Connector Part Information 
  • Harness: Body
  • OEM: 6098-4787
  • Service: 88988653
  • Description: 8-Way F (WH)
Terminal Part Information 
  • Terminal/Tray: 15304711/8
  • Core/Insulation Crimp: 2/A
  • Release Tool/Test Probe: 15315247/J-35616-4A (PU)
Fig 10: Fuse Block - Underhood X5 (UNH/UNJ/UNR)
GM1567051Courtesy of GENERAL MOTORS CORP.
Fuse Block - Underhood X5 (UNH/UNJ/UNR)

Pin Wire Circuit Function
1 0.8 RD 9 Park Lamp Control (UNH)
2 0.8 L-BU - Ignition Voltage (UNR)
3 0.8 RD - Battery Positive Voltage (UNJ)
4 - - Not Used
5 0.8 D-BU - Battery Positive Voltage (UNR)
6-8 - - Not Used
Fuse Block - Underhood X6

Terminal Part Information 
  • Harness: Engine (LH9)
  • Harness: Battery (LLR or LVC)
  • Terminal: 12146713
  • Core/Insulation Crimp: N/A
  • Description: Ring Terminal
Fuse Block - Underhood X6

Pin Wire Circuit Function
A 13 RD 1 Battery Positive Voltage
Fuse Block - Underhood X7

Terminal Part Information 
  • Harness: Engine (LH9)
  • Harness: Battery (LLR or LVC)
  • Terminal: 15417265
  • Core/Insulation Crimp: N/A
  • Description: Ring Terminal
Fuse Block - Underhood X7

Pin Wire Circuit Function
A 13 RD 2 Battery Positive Voltage
Connector Part Information 
  • Harness: Off Road Grille Lamp (UNR)
  • Harness: Off Road Roof Lamp (UNJ)
  • Harness: Roof Clearance Lamp (UNH)
  • OEM: 6098-4787
  • Service: 88988653
  • Description: 8-Way F (WH)
Terminal Part Information 
  • Terminal/Tray: 15304711/8
  • Core/Insulation Crimp: 2/A
  • Release Tool/Test Probe: 15315247/J-35616-4A (PU)
Fig 11: Fuse Block - Underhood Secondary (V08)
GM2272010Courtesy of GENERAL MOTORS CORP.
Fuse Block - Underhood Secondary (V08), Usage

No. Device Rating Description
1 Fuse 1 20A Relay 1, Relay 3
2 Fuse 2 20A Relay 2
3 Relay 1 - Engine Cooling Fan - Left/Right
4 Relay 2 - Engine Cooling Fan - Right/Left, Relay 1
5 Relay 3 - Engine Cooling Fan - Left
Fig 12: Fuse Block - Underhood Secondary Wire Entry (V08)
GM2272012Courtesy of GENERAL MOTORS CORP.
Fuse Block - Underhood Secondary Wire Entry (V08)

Pin Wire Circuit Function
1 0.5 D-GN 335 Low Speed Cooling Fan Relay Control
2 1.0 PU 5128 Battery Positive Voltage
3 - - Not Used
4 1.0 L-BU 409 Cooling Fan Motor Supply Voltage
5 1.0 PU 5128 Battery Positive Voltage
6 1.0 WH 2368 Battery Positive Voltage
7 1.0 BK 250 Ground
8 1.0 GY 532 Cooling Fan Motor Supply Voltage
9 1.0 YE 5358 Auxiliary Cooling Fan Motor Supply Voltage
10 0.5 BU 473 High Speed Cooling Fan Relay Control
11 1.0 WH 2368 Battery Positive Voltage
12 1.0 GY 532 Cooling Fan Motor Supply Voltage
13 - - Not Used
14 1.0 WH 2368 Battery Positive Voltage
15 0.5 D-BU 473 High Speed Cooling Fan Relay Control
16-19 - - Not Used
20 3.0 GN 7625 Battery Positive Voltage
21 1.0 PU 5128 Battery Positive Voltage
22-23 - - Not Used
24 3.0 GN 7625 Battery Positive Voltage
25 1.0 WH 2368 Battery Positive Voltage
26-27 - - Not Used
Connector Part Information 
  • Harness: Auxiliary Cooling Fan
  • OEM: E-5211
  • Service: Service by Harness. See Part Catalog.
  • Description: 27-Way F Fuse Block

Terminal Part Information 
  • Pins: 1, 2, 4-12, 14, 15
  • Terminal/Tray: Pending
  • Core/Insulation Crimp: Pending
  • Release Tool/Test Probe: Pending
  • Pins:20, 24
  • Terminal/Tray: 771016-HK200/7
  • Core/Insulation Crimp: D/G
  • Release Tool/Test Probe: 12094430/J-35616-4A (PU)
  • Pins: 21, 25
  • Terminal/Tray: 771416-HK200/7
  • Core/Insulation Crimp: A/D
  • Release Tool/Test Probe: 12094430/J-35616-4A (PU)
Fig 13: Inline Fuse - OnStar (UE1 or U2K)
GM2260759Courtesy of GENERAL MOTORS CORP.
Inline Fuse - OnStar (UE1 or U2K)

Pin Wire Circuit Function
1 3 RD 1 Battery Positive Voltage
2 3 OG 340 Battery Positive Voltage
Connector Part Information 
  • Harness: Engine (LH9)
  • Harness: Battery (LLR)
  • OEM: 0FHM0002ZXJB-F10 (LH9)
  • OEM: 01530036Z (LLR)
  • Service: 19116350
  • Description: 2-Way F Fuse Holder
Fig 14: Inline Fuse - Digital Video Disc (DVD) Control Module (SPO DVD)
GM1743144Courtesy of GENERAL MOTORS CORP.
Inline Fuse - Digital Video Disc (DVD) Control Module (SPO DVD)

Pin Wire Circuit Function
1 0.5 RD - Accessory Voltage (SPO DVD 1)
0.5 YE 339 Ignition 1 Voltage (SPO DVD 2)
2 0.5 RD - Accessory Voltage (SPO DVD 1)
0.5 YE 339 Ignition 1 Voltage (SPO DVD 2)
Connector Part Information 
  • Harness: SPO Accessory Power Jumper
  • OEM: Not Available
  • Service: Service by Harness - See Part Catalog
  • Description: 2-Way F Fuse Holder (BK)
Terminal Part Information 
  • Terminal/Tray: Service by Harness - See Part Catalog
  • Core/Insulation Crimp: Not Available
  • Release Tool/Test Probe: Not Available
Fig 15: Inline Fuse - Power Seat (AG1)
GM1796141Courtesy of GENERAL MOTORS CORP.
Inline Fuse - Power Seat (AG1)

Pin Wire Circuit Function
1 1 OG 1040 Battery Positive Voltage
2 3 OG 1840 Battery Positive Voltage
Connector Part Information 
  • Harness: Driver Seat
  • Description: 2-Way F Fuse Holder