lemon-mirror:
Home >> Hyundai >> 2002 >> XG350 Base >> Repair and Diagnosis >> Body & Frame >> Mirrors >> Driver's Position Memory System >> Component Tests >> Anti-Theft Function >> Arm Function

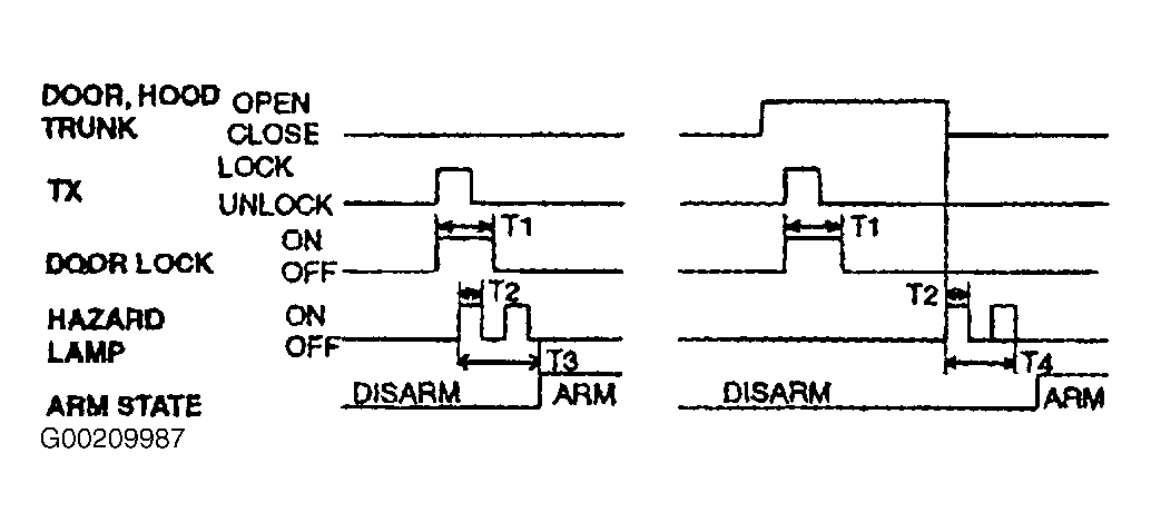
Arm Function

Time specification:

T1: 0.5 sec.

T2: 0.4-0.6 sec.

T3: 2 sec.

T4: Max. 2 sec. See Fig 1 .

Fig 1: Checking Arm Function
G00209987Courtesy of HYUNDAI MOTOR CO.