lemon-mirror:
Home >> Hyundai >> 2003 >> Santa Fe Base, Automatic >> Repair and Diagnosis >> Brakes >> Traction Control >> Anti-Lock Brake System >> Abs (Anti-Lock Brake System) >> Anti-Lock Braking System Control Module >> HECU Block Diagram

HECU Block Diagram

Fig 1: ABS ECU Block Diagram
G00789545Courtesy of HYUNDAI MOTOR CO.
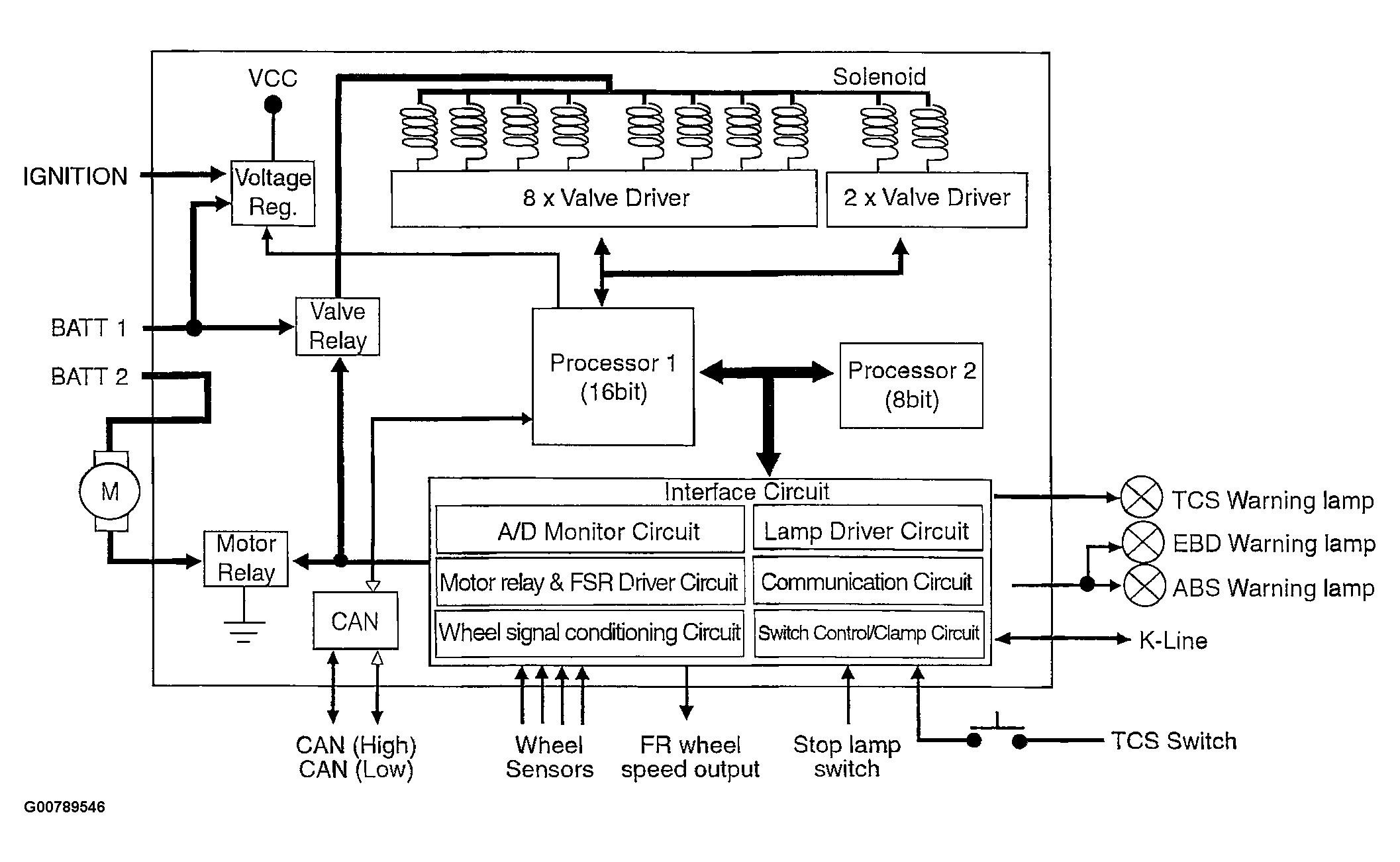
Fig 2: TCS ECU Block Diagram
G00789546Courtesy of HYUNDAI MOTOR CO.