lemon-mirror:
Home >> Hyundai >> 2003 >> XG350 Base >> Repair and Diagnosis >> Electrical >> Component Locations >> Electrical Component Locator >> Component Location Graphics

Component Location Graphics

NOTE: Figures may show multiple component locations. Refer to appropriate table for proper figure references.
Fig 1: Engine Compartment
G00150958Courtesy of HYUNDAI MOTOR CO.
Fig 2: Upper Front Of Engine
G00027506Courtesy of HYUNDAI MOTOR CO.
Fig 3: Lower Front Of Engine
G00027507Courtesy of HYUNDAI MOTOR CO.
Fig 4: Passenger Compartment
G00028364Courtesy of HYUNDAI MOTOR CO.
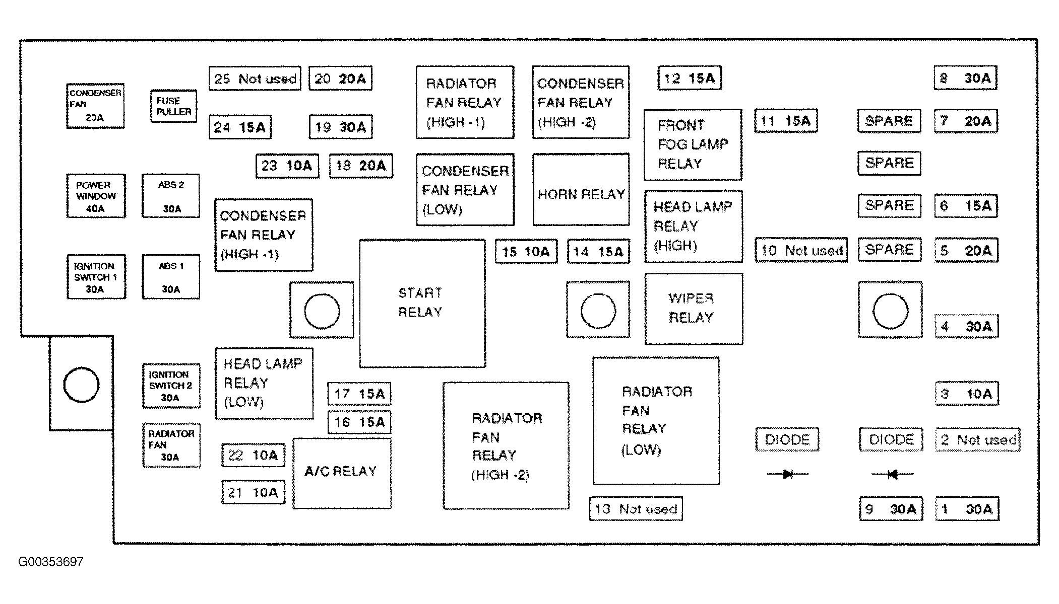
Fig 5: Engine Compartment Junction Box Relays And Fuses
G00353697Courtesy of HYUNDAI MOTOR CO.
Fig 6: Passenger Compartment Junction Block Relays
G00353691Courtesy of HYUNDAI MOTOR CO.
Fig 7: Passenger Compartment Relay Box Components
G00109933Courtesy of HYUNDAI MOTOR CO.