lemon-mirror:
Home >> Hyundai >> 2004 >> Accent Base >> Repair and Diagnosis >> Brakes >> Traction Control >> Anti-Lock Brake System >> Bleeding Brake System

Bleeding Brake System

This procedure should be followed to ensure adequate bleeding of air and filling of the ABS unit, brake lines and master cylinder with brake fluid.

  1. Remove the reservoir cap and fill the brake reservoir with brake fluid.
    CAUTION: If there is any brake fluid on any painted surface, wash it off immediately.
    NOTE: When pressure bleeding, do not depress the brake pedal.
    Recommended fluid: DOT3 or DOT4
  2. Connect a clear plastic tube to the wheel cylinder bleeder plug and insert the other end of the tube into a half filled clear plastic bottle.
    Fig 1: Connecting Clear Plastic Tube To Wheel Cylinder Bleeder Plug & Inserting Other End Of Tube Into Half Filled Clear Plastic Bottle
    G00334618Courtesy of HYUNDAI MOTOR CO.
  3. Connect the Hi-Scan (Pro) to the data link connector located underneath the dash panel.
    Fig 2: Connecting Hi-Scan (Pro) To Data Link Connector
    G00334619Courtesy of HYUNDAI MOTOR CO.
  4. Select and operate according to the instructions on the Hi-Scan (Pro) screen.
    CAUTION: You must obey the maximum operating time of the ABS motor with the Hi-Scan (Pro) to prevent the motor pump from burning.
    1. Select Hyundai vehicle diagnosis.
    2. Select vehicle name.
    3. Select Anti-Lock Brake system.
    4. Select air bleeding mode.
    5. Press 'YES' to operate motor pump and solenoid valve.
    6. Wait 60 sec. before operating the air bleeding. (If not, you may damage the motor.)
    7. Pump the brake pedal several times, and then loosen the bleeder screw until fluid starts to run out without bubbles. Then close the bleeder screw.
    8. Repeat step 5 until there are no more bubbles in the fluid for each wheel.
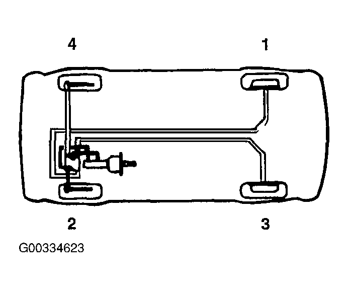
      Fig 3: Identifying Bleeding Sequence
      G00334623Courtesy of HYUNDAI MOTOR CO.
    9. Tighten the bleeder screw.

      Bleed screw tightening torque: 

      7 ~ 13 Nm (70 ~ 130 kg.cm, 5 ~ 9.5 lb.ft)