lemon-mirror:
Home >> Hyundai >> 2004 >> Accent Base >> Repair and Diagnosis >> Engine Performance >> Engine Control Systems >> Fuel System >> Fuel Delivery System >> Accelerator Pedal >> Installation

Accelerator Pedal: Installation

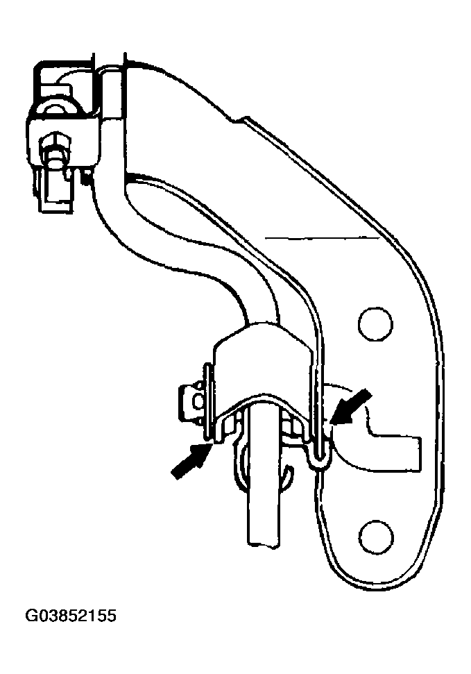
  1. When installing the return spring and accelerator arm, apply multi-purpose grease around each moving point of the accelerator arm.
    Fig 1: Identifying Greasing Point Of Accelerator Arm
    G03852155Courtesy of HYUNDAI MOTOR CO.
  2. Apply sealant to the bolt mounting hole, and tighten the accelerator arm bracket.

    Tightening torque 

    Accelerator arm bracket bolts:

    8~12 Nm (80~120 kg.cm, 5.8~7.2 lb.ft)

    Fig 2: Applying Sealant To Bolt Mounting Hole
    G03852156Courtesy of HYUNDAI MOTOR CO.
  3. Securely install the resin bushing of the accelerator cable on the end of the accelerator arm.
  4. Apply multipurpose grease around the cable end.
    Fig 3: Applying Multipurpose Grease Around Cable End
    G03852157Courtesy of HYUNDAI MOTOR CO.