lemon-mirror:
Home >> Hyundai >> 2004 >> Accent Base >> Repair and Diagnosis >> Engine Performance >> Engine Control Systems >> Fuel System >> Gasoline Engine Control System >> Diagnosis Module - Tank Leakage (Dm-TL) >> Troubleshooting Hints

Troubleshooting Hints

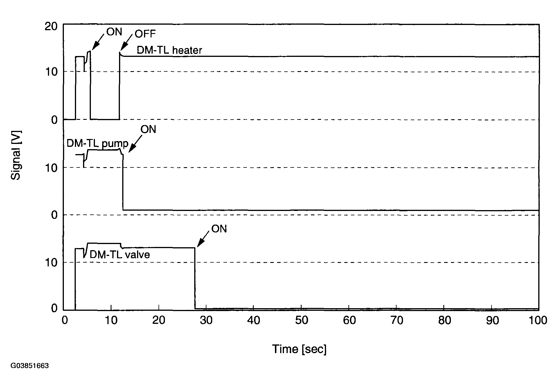
  1. DM-TL control signal
    Fig 1: Identifying DM-TL Control Signal WAVE FORM
    G03851663Courtesy of HYUNDAI MOTOR CO.
  2. DM-TL operating conditions.
  1. DM-TL monitoring operation starts only after all the conditions below are met.
    • Vehicle soaking over 4 hours and 30 minutes.
    • Engine coolant temperature over 2.3°C (36.1°F) when starting.
    • Ambient temperature between 1.5°C (34.7°F) and 40.5°C (104.9°F).
    • 6.4L or more gasoline in the fuel tank.
    • Over 20 minutes driving after starting.
    • During Air Bag is not working.
  2. And also you can check the DM-TL operation with simulation mode of HI-SCAN.