lemon-mirror:
Home >> Hyundai >> 2004 >> Tiburon Base, Automatic >> Repair and Diagnosis >> Engine Performance >> Engine Control Systems >> Fuel System (2.0L) >> Fuel Delivery System >> Accelerator Pedal >> Installation

Accelerator Pedal: Installation

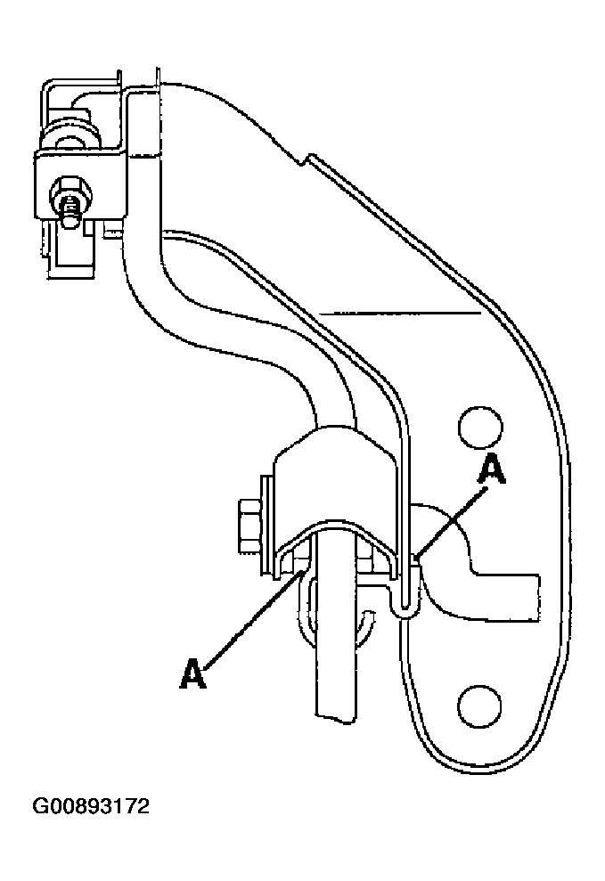
  1. When installing the return spring and accelerator pedal, apply multi-purpose grease around each moving point (A) of the accelerator pedal.
    Fig 1: Locating Moving Points Of Accelerator Pedal
    G00893172Courtesy of HYUNDAI MOTOR CO.
  2. Apply sealant to the bolt mounting holes (A), and tighten the accelerator pedal bracket.

    Tightening torque 

    Accelerator pedal bracket bolts:

    8~12Nm (80~120 kg°Cm, 5.8~7.2 lb.ft)

    Fig 2: Applying Sealant To Accelerator Pedal Bolt Mounting Holes
    G00893173Courtesy of HYUNDAI MOTOR CO.
  3. Securely install the resin bushing of the accelerator cable on the end of the accelerator pedal.
  4. Apply multipurpose grease around the cable end (A).
Fig 3: Applying Multipurpose Grease Around Accelerator Cable End
G00893174Courtesy of HYUNDAI MOTOR CO.