lemon-mirror:
Home >> Hyundai >> 2005 >> Sonata GLS >> Repair and Diagnosis >> Transmission >> Automatic Trans >> Automatic Transaxle System >> Basic Inspection Item >> Automatic Transaxle Fluid Check >> A/T Control Component Check

A/T Control Component Check

  1. THROTTLE POSITION SENSOR CHECK

    The TP Sensor is a variable resistor type that rotates with the throttle body shaft to sense the throttle valve angle. As the throttle shaft rotates, the output voltage of the TP Sensor changes. The ECM detects the throttle valve opening based on voltage change. (Refer to FUEL SYSTEM (G6BA-GSL 2.7) ).

    Fig 1: Identifying Throttle Sensor
    G03858268Courtesy of HYUNDAI MOTOR CO.
  2. OIL TEMPERATURE SENSOR CHECK
    1. Remove the oil temperature sensor.
    2. Measure the resistance between terminals No. 1 and No. 2 of the oil temperature sensor connector.

    STANDARD VALUE 

    OIL TEMPERATURE SENSOR RESISTANCE

    Oil temperature (°C) Resistance (kohm)
    0 16.7 ~ 20.5
    100 0.57 ~ 0.69
    Fig 2: Measuring Resistance Between Terminals
    G03858269Courtesy of HYUNDAI MOTOR CO.
  3. VEHICLE SPEED SENSOR CHECK
    1. Remove the vehicle speed sensor and connect a 3-10 kohm resistance as shown in the illustration.
    2. Turn the shaft of the vehicle speed sensor and check that there is voltage between terminals 1-2 (1 turn = 4 pulses).
    Fig 3: Measuring Voltage Between VSS Terminals
    G03858270Courtesy of HYUNDAI MOTOR CO.
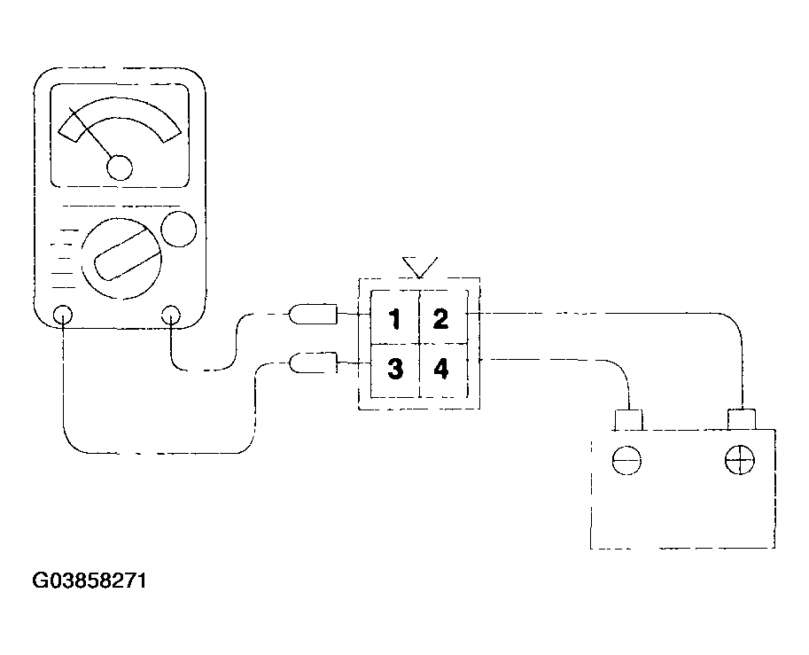
  4. A/T CONTROL RELAY CHECK
    1. Remove the A/T control relay.
    2. Use jumper wires to connect A/T control relay terminal (2) to the battery(+) terminal and terminal (4) to the battery(-) terminal.
    3. Check the continuity between terminal (1) and terminal (3) of the A/T control relay when the jumper wires are connected to and disconnected from the battery.
    4. If there is a problem, replace the A/T control relay.
    A/T RELAY CONTINUITY

    Jumper wire Continuity between terminal No.1
    Connected Continuity
    Disconnected No continuity
    Fig 4: Testing A/T Control Relay
    G03858271Courtesy of HYUNDAI MOTOR CO.
  5. SOLENOID VALVE CHECK
    1. Remove the valve body cover.
    2. Disconnect the connectors of each solenoid valve.
      Fig 5: Identifying Solenoid Valve Connectors
      G03858272Courtesy of HYUNDAI MOTOR CO.
    3. Measure the resistance between terminals 1 and 2 of each solenoid valve.
      SOLENOID VALVE RESISTANCE

      Name Resistance
      Damper clutch solenoid valve 2.7 ~ 3.4ohm (at 20°C)
      Low and reverse solenoid valve
      Second solenoid valve
      Underdrive solenoid valve
      Overdrive solenoid valve
      Fig 6: Measuring Resistance Between Solenoid Valve Terminals 1 And 2
      G03858273Courtesy of HYUNDAI MOTOR CO.
    4. If the resistance is outside the standard value, replace the solenoid valve.
      NOTE: Resistance of the solenoid valve connector.
      RESISTANCE OF THE SOLENOID VALVE CONNECTOR

      Terminal No. Name Resistance
      7 & 10 Damper clutch solenoid valve 2.7 - 3.4ohm (at 20°C)
      10 & 6 Low and reverse solenoid valve
      9 & 4 Second solenoid valve
      9 & 3 Underdrive solenoid valve
      9 & 5 Overdrive solenoid valve
      Fig 7: Identifying Solenoid Valve Connector
      G03858274Courtesy of HYUNDAI MOTOR CO.