lemon-mirror:
Home >> Hyundai >> 2005 >> Tucson GLS, 4WD >> Repair and Diagnosis >> Transmission >> Transfer Case Assembly >> Coupling Assembly >> Disassembly

Coupling Assembly: Disassembly

  1. Remove the coupling (A) flange (B) mounting nut (C)
    Fig 1: Removing Coupling Flange Mounting Nut
    G03763177Courtesy of HYUNDAI MOTOR CO.
  2. Remove the flange spacer (A).
    Fig 2: Removing Flange Spacer
    G03763178Courtesy of HYUNDAI MOTOR CO.
  3. Remove the coupling flange oil seal (A).
    Fig 3: Removing Coupling Flange Oil Seal
    G03763179Courtesy of HYUNDAI MOTOR CO.
  4. Using a general tool, 3-way puller (A), remove the flange assembly (B) from the coupling (C).
    Fig 4: Removing Flange Assembly From Coupling
    G03763180Courtesy of HYUNDAI MOTOR CO.
  5. Remove the flange oil seal (A) using special tool (09-432-33200).
    Fig 5: Removing Flange Oil Seal Using Special Tool (09-432-33200)
    G03763181Courtesy of HYUNDAI MOTOR CO.
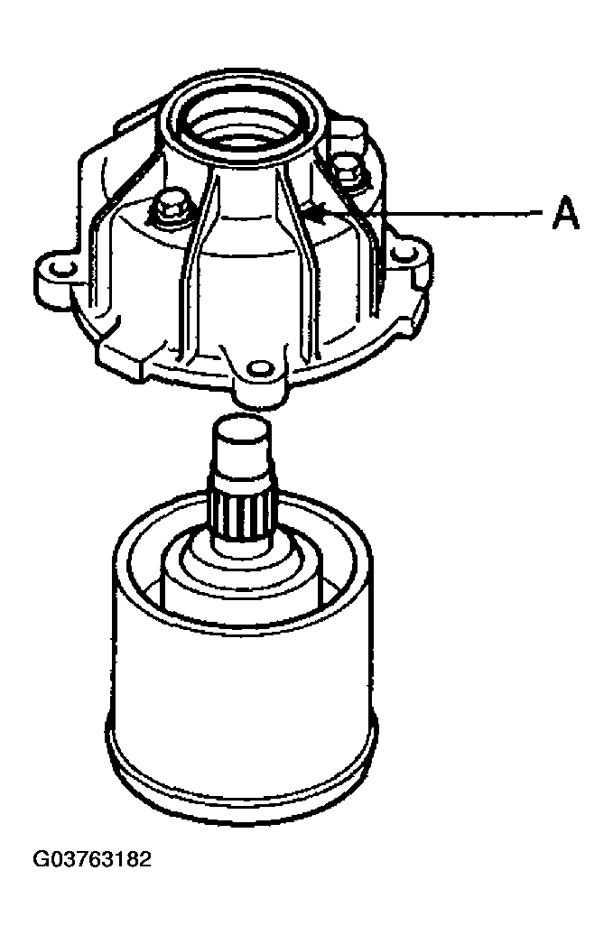
  6. Remove the coupling case assembly (A).
    Fig 6: Removing Coupling Case Assembly
    G03763182Courtesy of HYUNDAI MOTOR CO.
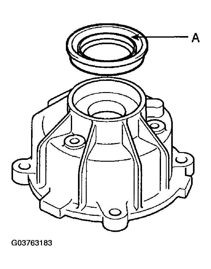
    1. Remove the coupling case oil seal (A)
      NOTE: Insert the (-) driver between the oil seal and the clutch housing, then remove the oil seal
      Fig 7: Removing Coupling Case Oil Seal
      G03763183Courtesy of HYUNDAI MOTOR CO.
    2. Remove the snap ring.
    3. Remove the Electric Magnetic clutch mounting nuts (A-3EA).
      Fig 8: Removing Electric Magnetic Clutch Mounting Nuts (1 Of 2)
      G03763184Courtesy of HYUNDAI MOTOR CO.
      Fig 9: Removing Electric Magnetic Clutch Mounting Nuts (2 Of 2)
      G03763185Courtesy of HYUNDAI MOTOR CO.
  7. Remove the wave spring (B) for fixing the back plate (A) and the secondary clutch assembly.
    Fig 10: Removing Wave Spring
    G03763186Courtesy of HYUNDAI MOTOR CO.
  8. Remove the snap ring (A).
    Fig 11: Removing Snap Ring
    G03763187Courtesy of HYUNDAI MOTOR CO.
  9. After removing the oil seal, remove the snap ring (A).
    Fig 12: Removing Snap Ring
    G03763188Courtesy of HYUNDAI MOTOR CO.
  10. Remove the back plate and the secondary clutch (A) assembly simultaneously using special tool (09478-26100).
    Fig 13: Removing Back Plate And Secondary Clutch Assembly
    G03763189Courtesy of HYUNDAI MOTOR CO.
    1. Separate the back plate (A) from the input shaft.
      Fig 14: Separating Back Plate From Input Shaft
      G03763190Courtesy of HYUNDAI MOTOR CO.
    2. Remove the plates (A-10EA) and the discs (B-1-OEA).
      Fig 15: Removing Plates And Discs
      G03763191Courtesy of HYUNDAI MOTOR CO.
    3. Remove the armature (A).
      Fig 16: Removing Armature
      G03763192Courtesy of HYUNDAI MOTOR CO.
    4. Remove the input shaft (A).
      Fig 17: Removing Input Shaft
      G03763193Courtesy of HYUNDAI MOTOR CO.
  11. Remove the steel balls (A-6EA) on the base cam.
    Fig 18: Removing Steel Balls On Base Cam
    G03763194Courtesy of HYUNDAI MOTOR CO.
  12. Remove the base cam (A).
    Fig 19: Removing Base Cam
    G03763195Courtesy of HYUNDAI MOTOR CO.
  13. Remove the thrust washer (A).
    Fig 20: Removing Thrust Washer
    G03763196Courtesy of HYUNDAI MOTOR CO.
  14. Remove the thrust race.
    Fig 21: Removing Thrust Race
    G03763197Courtesy of HYUNDAI MOTOR CO.
  15. Remove the snap ring (A).
    Fig 22: Removing Snap Ring
    G03763198Courtesy of HYUNDAI MOTOR CO.
  16. Remove the disk (A) of the primary clutch.
    Fig 23: Removing Disk Of Primary Clutch
    G03763199Courtesy of HYUNDAI MOTOR CO.
  17. Remove the plate (A) of the primary clutch.
    Fig 24: Removing Plate Of Primary Clutch
    G03763200Courtesy of HYUNDAI MOTOR CO.
    NOTE: Additionally remove each 2EA discs and plates alternately.