lemon-mirror:
Home >> Hyundai >> 2005 >> Tucson GLS, 4WD >> Repair and Diagnosis >> Transmission >> Transfer Case Assembly >> Coupling Assembly >> Reassembly

Coupling Assembly: Reassembly

  1. When reassembling the back plate oil seal (A), reassemble it using a suitable tool (B).
    Fig 1: Installing Back Plate Oil Seal
    G03763201Courtesy of HYUNDAI MOTOR CO.
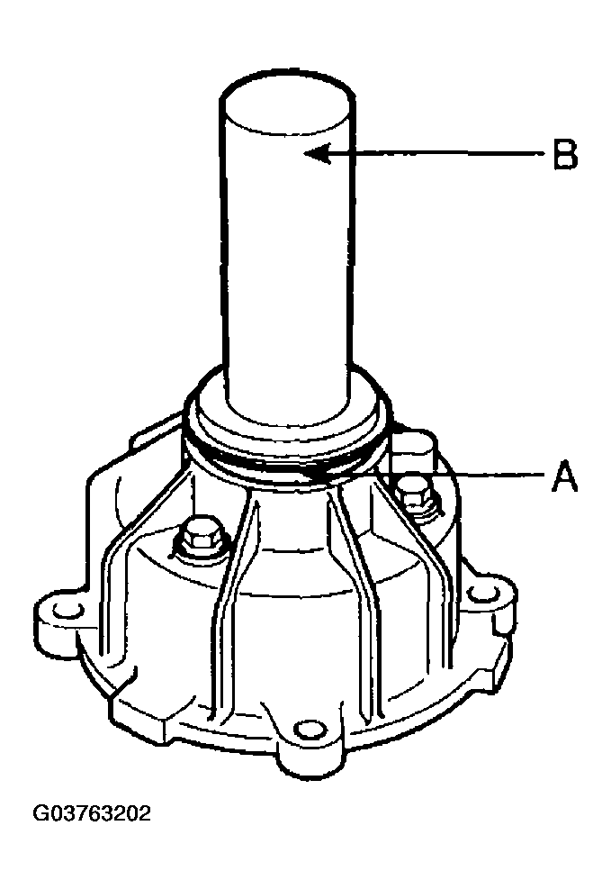
  2. In case of the coupling case oil seal (A), too, reassemble it using a suitable tool (B).
    Fig 2: Installing Coupling Case Oil Seal
    G03763202Courtesy of HYUNDAI MOTOR CO.
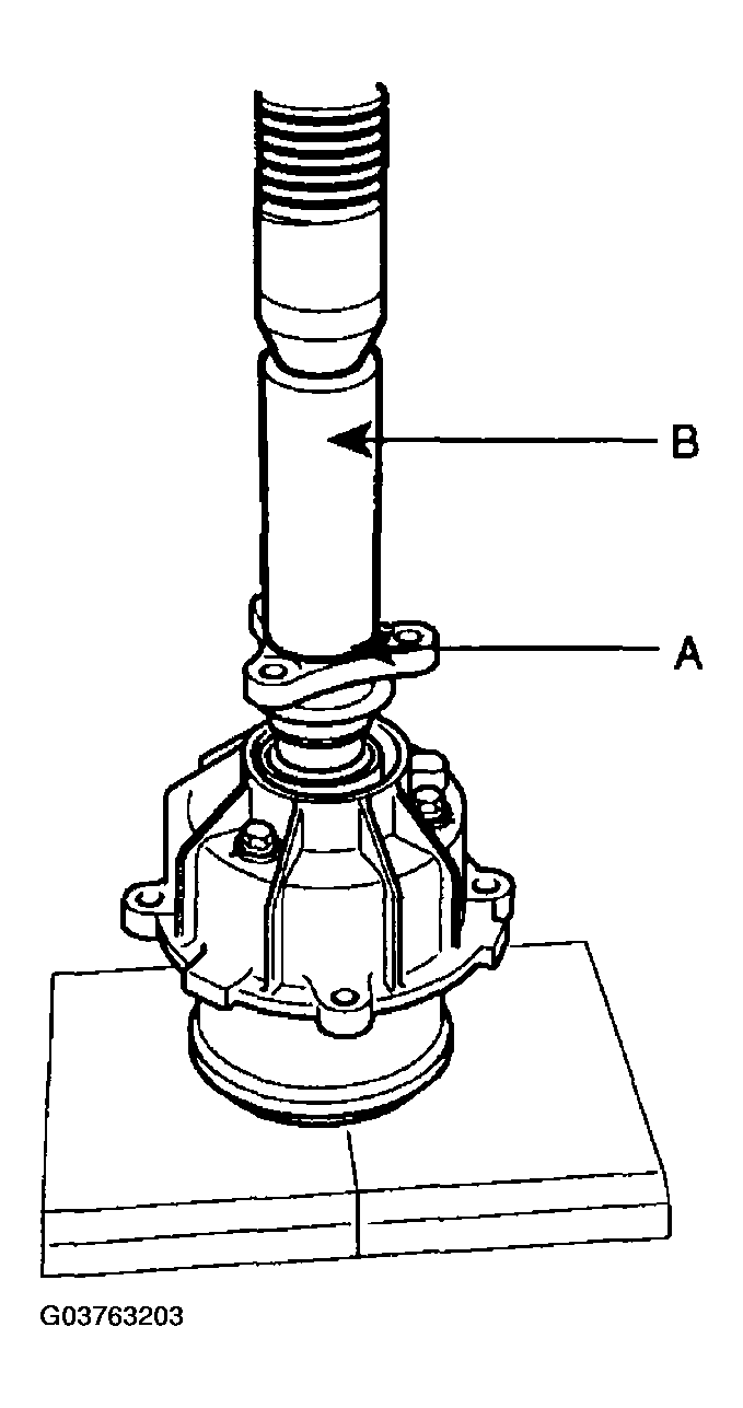
  3. When reassembling the 4WD coupling assembly and the flange (A), too, reassemble them using a suitable tool (B).
    Fig 3: Assembling 4WD Coupling Assembly And Flange
    G03763203Courtesy of HYUNDAI MOTOR CO.
  4. Install the flange (A) oil seal (B) using special tool (09-478-26000).
    Fig 4: Installing Flange Oil Seal
    G03763204Courtesy of HYUNDAI MOTOR CO.