lemon-mirror:
Home >> Hyundai >> 2005 >> Tucson GLS, 4WD >> Repair and Diagnosis >> Transmission >> Transfer Case Assembly >> Coupling Assembly >> Removal

Coupling Assembly: Removal

  1. Remove the 4WD coupling bolts (A-3EA) mounted to the rear propeller shaft.
    Fig 1: Identifying Coupling Bolts
    G03763170Courtesy of HYUNDAI MOTOR CO.
  2. Using a flat tool (A), separate the propeller shaft (C) from 4WD coupling (B).
    Fig 2: Separating Propeller Shaft Using Flat Tool (1 Of 2)
    G03763171Courtesy of HYUNDAI MOTOR CO.
    Fig 3: Separating Propeller Shaft Using Flat Tool (2 Of 2)
    G03763172Courtesy of HYUNDAI MOTOR CO.
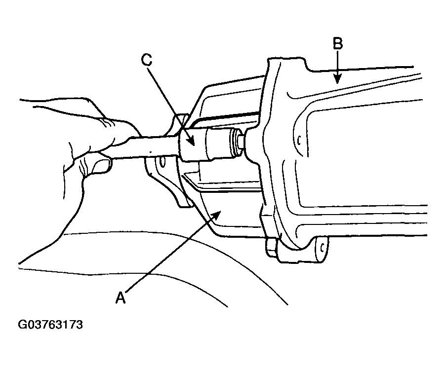
  3. Remove the rear axle (B-Differential carrier) bolts mounted to the 4WD coupling (A) by a socket (C).
    Fig 4: Removing Rear Axle Bolts Mounted To 4WD Coupling
    G03763173Courtesy of HYUNDAI MOTOR CO.
  4. Remove the electric magnetic clutch connector (A).
    Fig 5: Removing Electric Magnetic Clutch Connector
    G03763174Courtesy of HYUNDAI MOTOR CO.
  5. Using a flat tool (A), separate the 4WD coupling assembly (B) from the rear differential carrier (C).
    Fig 6: Separating 4WD Coupling Assembly From Rear Differential Carrier
    G03763175Courtesy of HYUNDAI MOTOR CO.
  6. Remove the 4WD coupling assembly (A).
    Fig 7: Removing 4WD Coupling Assembly
    G03763176Courtesy of HYUNDAI MOTOR CO.