lemon-mirror:
Home >> Hyundai >> 2007 >> Azera GLS >> Repair and Diagnosis >> Body & Frame >> Windows >> Exterior >> Sun Roof >> Replacement >> Guide Assembly Replacement

Guide Assembly Replacement

  1. Remove the sunroof assembly (See SUNROOF ASSEMBLY REPLACEMENT  ).
  2. Remove the motor (See MOTOR REPLACEMENT  ).
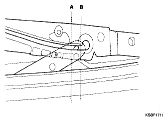
  3. Remove a guide assembly (A) after lowering a guide thoroughly by pushing a slide (B) to rear.
    Fig 1: Identifying Guide Assembly
    G04881129Courtesy of HYUNDAI MOTOR CO.
  4. Remove the guide (A) and slide (B).
    Fig 2: Identifying Guide And Slide
    G04881130Courtesy of HYUNDAI MOTOR CO.
  5. Installation is the reverse of removal.
    NOTE:
    • Make sure to align the slide with the center of "A" and "B"
    • Make sure to initialize the motor.
      Fig 3: Aligning Slide
      G04881131Courtesy of HYUNDAI MOTOR CO.