lemon-mirror:
Home >> Hyundai >> 2007 >> Entourage GLS >> Repair and Diagnosis >> Engine Performance >> Tune-Up >> Engine Electrical System - Ignition System >> Ignition System >> On-Vehicle Inspection >> Inspect Spark Plug

Inspect Spark Plug

  1. Remove the ignition coil connector (A).
    Fig 1: Identifying Ignition Coil Connector
    G04879418Courtesy of HYUNDAI MOTOR CO.
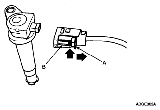
    NOTE: When removing the ignition coil connector, pull the lock pin (A) and push the clip (B).
    Fig 2: Identifying Lock Pin And Clip
    G04801405Courtesy of HYUNDAI MOTOR CO.
  2. Remove the ignition coil (B).

    Remove bolt holding down the ignition coil.

    Remove ignition coil from engine.

  3. Using a spark plug socket, remove the spark plug.
    CAUTION: Be careful that no contaminates enter through the spark plug holes.
  4. Inspect the electrodes (A) and ceramic insulator (B).
    Fig 3: Identifying Electrodes And Ceramic Insulator
    G04801406Courtesy of HYUNDAI MOTOR CO.

    INSPECTION OF ELECTRODES 

    ELECTRODE SPECIFICATIONS

    Condition Dark deposits White deposits
    Causes
    • Fuel mixture too rich
    • Low air intake
    • Fuel mixture too lean
    • Advanced ignition timing
    • Insufficient plug tightening torque
  5. Check the electrode gap (A).

Standard :

Unleaded : 1.0 ~ 1.1 mm (0.0394 ~ 0.0433 in.)

Fig 4: Checking Electrode Gap
G04879716Courtesy of HYUNDAI MOTOR CO.