lemon-mirror:
Home >> Hyundai >> 2008 >> Azera GLS >> Repair and Diagnosis >> Body & Frame >> Door Locks >> Immobilizer Control System >> System Block Diagram

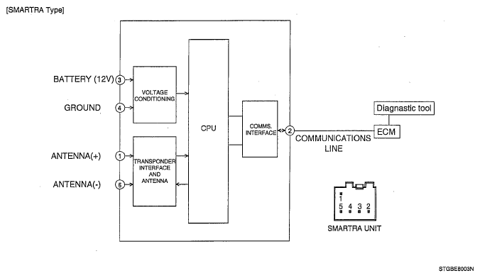
System Block Diagram

Fig 1: System Block Diagram
G05536932Courtesy of HYUNDAI MOTOR CO.