lemon-mirror:
Home >> Hyundai >> 2009 >> Azera GLS >> Repair and Diagnosis >> Engine Performance >> Engine Control Systems >> General Information - Fuel System >> General >> Basic Troubleshooting >> Electrical Circuit Inspection Procedure

Electrical Circuit Inspection Procedure

• CHECK OPEN CIRCUIT 

  1. Procedures for Open Circuit
    • Continuity Check
    • Voltage Check

    If an open circuit occurs (as seen in Fig 1), it can be found by performing Step 2 (Continuity Check Method) or Step 3 (Voltage Check Method) as shown below.

    Fig 1: Checking Open Circuit
    G04801496Courtesy of HYUNDAI MOTOR CO.
  2. Continuity Check Method
    NOTE: When measuring for resistance, lightly shake the wire harness above and below or from side to side.

    Specification (Resistance)

    1Ω or less → Normal Circuit

    1 MΩ or Higher → Open Circuit

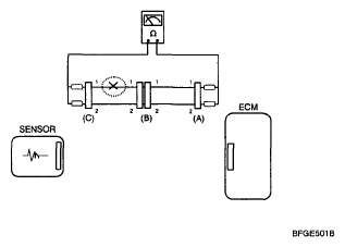
    1. Disconnect connectors (A), (C) and measure resistance between connector (A) and (C) as shown in Fig 2.

      In the measured resistance of line 1 and 2 is higher than 1 MΩ and below 1 Ω respectively. Specifically the open circuit is line 1 (Line 2 is normal). To find exact break point, check sub line of line 1 as described in next step.

      Fig 2: Measuring Resistance Between Connector (A) And (C)
      G04801497Courtesy of HYUNDAI MOTOR CO.
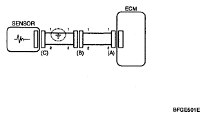
    2. Disconnect connector (B), and measure for resistance between connector (C) and (B1) and between (B2) and (A) as shown in Fig 3.

      In this case the measured resistance between connector (C) and (B1) is higher than 1 MΩ and the open circuit is between terminal 1 of connector (C) and terminal 1 of connector (B1).

      Fig 3: Measuring For Resistance Between Connector (C) And (B1)
      G04801498Courtesy of HYUNDAI MOTOR CO.
  3. Voltage Check Method
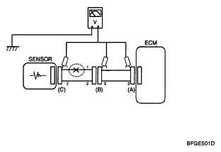
    1. With each connector still connected, measure the voltage between the chassis ground and terminal 1 of each connectors (A), (B) and (C) as shown in Fig 4.

      The measured voltage of each connector is 5V, 5V and 0V respectively. So the open circuit is between connector (C) and (B).

      Fig 4: Measuring Voltage Between Chassis Ground And Terminal 1
      G04801499Courtesy of HYUNDAI MOTOR CO.

    • CHECK SHORT CIRCUIT 

  4. Test Method for Short to Ground Circuit
    • Continuity Check with Chassis Ground

      If short to ground circuit occurs as shown in Fig 5, the broken point can be found by performing below Step 2 (Continuity Check Method with Chassis Ground) as shown below.

      Fig 5: Checking Short Circuit
      G05536163Courtesy of HYUNDAI MOTOR CO.
  5. Continuity Check Method (with Chassis Ground)
    NOTE: Lightly shake the wire harness above and below, or from side to side when measuring the resistance.

    Specification (Resistance)

    1Ω or less → Short to Ground Circuit

    1MΩ or Higher → Normal Circuit

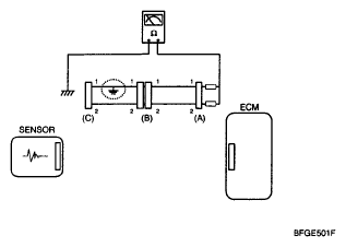
    1. Disconnect connectors (A), (C) and measure for resistance between connector (A) and Chassis Ground as shown in Fig 6.

      The measured resistance of line 1 and 2 in this example is below 1 Ω and higher than 1MΩ respectively. Specifically the short to ground circuit is line 1 (Line 2 is normal). To find exact broken point, check the sub line of line 1 as described in the following step.

      Fig 6: Measuring Resistance Between Connector (A) And Chassis Ground
      G04801501Courtesy of HYUNDAI MOTOR CO.
    2. Disconnect connector (B), and measure the resistance between connector (A) and chassis ground, and between (B1) and chassis ground as shown in Fig 7.

      The measured resistance between connector (B1) and chassis ground is 1Ω or less. The short to ground circuit is between terminal 1 of connector (C) and terminal 1 of connector (B1).

      Fig 7: Measuring Resistance Between Connector (A) And Chassis Ground
      G04801502Courtesy of HYUNDAI MOTOR CO.