lemon-mirror:
Home >> Hyundai >> 2010 >> Elantra GLS >> Repair and Diagnosis >> Engine Performance >> Ignition System >> General Information - Engine Electrical System >> Specifications >> Specification >> Charging System

Charging System

CHARGING SYSTEM SPECIFICATIONS

Items Specification
Alternator Rate voltage 13.5 V, 90A
Speed in use 1,000 ~ 18,000 rpm
Regulator setting voltage 14.4 ± 0.1 V
Temperature compensation -3.5 ± 2 mV/°C
Battery Type 48-23GL
Cold cranking amperage [at -18°C (-0.4°F)] 550 A
Reserve capacity 92 min
Specific gravity [at 20°C (68°F)] 1.280 ± 0.01
CAUTION:
  • COLD CRANKING AMPERAGE is the amperage a battery can deliver for 30 seconds and maintain a terminal voltage of 7.2V or greater at a specified temperature.
  • RESERVE CAPACITY RATING is amount of time a battery can deliver 25A and maintain a minimum terminal voltage of 10.5V at 26.7°C (80.1°F).
    Fig 1: Battery Type Notation Diagram
    G06863034Courtesy of HYUNDAI MOTOR CO.
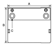
    Fig 2: Identifying Battery Length And Width With Terminal Location
    G06863035Courtesy of HYUNDAI MOTOR CO.