lemon-mirror:
Home >> Hyundai >> 2011 >> Azera GLS >> Repair and Diagnosis >> Engine Performance >> Tune-Up >> Ignition System >> Repair Procedures >> Removal >> Ignition Coil

Ignition Coil

  1. Remove the engine cover.
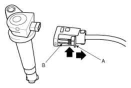
  2. Disconnect the ignition coil connector (A).
    Fig 1: Locating Ignition Coil Connector
    G00509999Courtesy of HYUNDAI MOTOR CO.
    NOTE: When removing the ignition coil connector, pull the lock pin (A) and push the clip (B).
    Fig 2: Pulling Ignition Coil Connector Lock Pin And Push Clip
    G06804938Courtesy of HYUNDAI MOTOR CO.
  3. Remove the ignition coil (B).
  4. Installation is the reverse of removal.