lemon-mirror:
Home >> Hyundai >> 2011 >> Equus Ultimate >> Repair and Diagnosis >> Engine Performance >> Engine Control Systems >> Engine Control System Components >> Injector >> Description and Operation >> Description

Description and Operation: Description

Based on information from various sensors, the ECM can calculate the fuel amount to be injected. The fuel injector is a solenoid-operated valve and the fuel injection amount is controlled by length of injection time. The ECM controls each injector by grounding the control circuit. When the ECM energizes the injector by grounding the control circuit, the circuit voltage should be low (theoretically 0V) and the fuel is injected. When the ECM de-energizes the injector by opening control circuit, the fuel injector is closed and circuit voltage should momentarily peak.

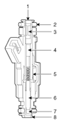
Fig 1: Identifying Injector And Related Components
G07311546Courtesy of HYUNDAI MOTOR CO.
CALLOUTS FOR FUEL INJECTOR
1 Fuel inlet
2 O-ring
3 Filter
4 Inlet tube
5 Coil
6 Needle
7 Ball
8 Spray hole plate