lemon-mirror:
Home >> Hyundai >> 2012 >> Azera >> Repair and Diagnosis >> Engine Performance >> Fuel Delivery >> Fuel Delivery System >> Fuel Pressure Regulator >> Repair Procedures >> Removal

Repair Procedures: Removal

  1. Remove the fuel pump.

    (Refer to "FUEL PUMP ")

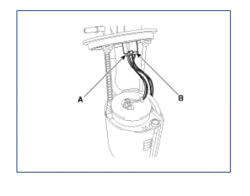
  2. Disconnect the electric pump wiring connector (A) and the fuel sender connector (B).
    Fig 1: Identifying Electric Pump Wiring And Fuel Sender Connector
    G08809787Courtesy of HYUNDAI MOTOR AMERICA
  3. Remove the cushion pipe fixing clip (A), and then separate the head assembly (B) from reservoir cup.
    Fig 2: Identifying Head Assembly And Cushion Pipe Fixing Clip
    G08809788Courtesy of HYUNDAI MOTOR AMERICA
  4. Remove the return nozzle (B) after releasing the fixing hook (A).
    Fig 3: Identifying Return Nozzle And Fixing Hook
    G08812243Courtesy of HYUNDAI MOTOR AMERICA
  5. Remove the reservoir-cup (B) after releasing the fixing hooks (A).
    Fig 4: Identifying Reservoir-Cup And Fixing Hooks
    G08809789Courtesy of HYUNDAI MOTOR AMERICA
  6. Remove the pre-filter (C) after releasing the fixing hooks (A, B)
    Fig 5: Identifying Pre-Filter And Fixing Hooks
    G08809790Courtesy of HYUNDAI MOTOR AMERICA
    CAUTION: Be careful of O-ring.
  7. Remove the fuel pressure regulator (A) in the direction.
    Fig 6: Removing Fuel Pressure Regulator
    G08809791Courtesy of HYUNDAI MOTOR AMERICA
    Fig 7: Identifying Fuel Pressure Regulator
    G08809792Courtesy of HYUNDAI MOTOR AMERICA