lemon-mirror:
Home >> Hyundai >> 2012 >> Azera >> Repair and Diagnosis >> Engine Performance >> Fuel Delivery >> Fuel Delivery System >> Fuel Pump Motor >> Repair Procedures >> Removal

Repair Procedures: Removal

  1. Remove the fuel pump.

    (Refer to "FUEL PUMP ")

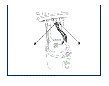
  2. Disconnect the electric pump wiring connector (A) and the fuel sender connector (B).
    Fig 1: Identifying Electric Pump Wiring And Fuel Sender Connector
    G08809777Courtesy of HYUNDAI MOTOR AMERICA
  3. Remove the cushion pipe fixing clip (A), and then separate the head assembly (B) from reservoir cup.
    Fig 2: Identifying Head Assembly And Cushion Pipe Fixing Clip
    G08809778Courtesy of HYUNDAI MOTOR AMERICA
  4. Remove the return nozzle (B) after releasing the fixing hook (A).
    Fig 3: Identifying Return Nozzle And Fixing Hook
    G08809779Courtesy of HYUNDAI MOTOR AMERICA
  5. Remove the reservoir-cup (B) after releasing the fixing hooks (A).
    Fig 4: Identifying Reservoir-Cup And Fixing Hooks
    G08809780Courtesy of HYUNDAI MOTOR AMERICA
  6. Remove the pre-filter (C) after releasing the fixing hooks (A, B)
    Fig 5: Identifying Pre-Filter And Fixing Hooks
    G08809781Courtesy of HYUNDAI MOTOR AMERICA
    CAUTION: Be careful of O-ring.
  7. Separate the electric pump motor (A) from the fuel filter (B).
    Fig 6: Identifying Electric Pump Motor And Fuel Filter
    G08809782Courtesy of HYUNDAI MOTOR AMERICA
    Fig 7: Identifying Electric Pump Motor
    G08809783Courtesy of HYUNDAI MOTOR AMERICA