lemon-mirror:
Home >> Hyundai >> 2012 >> Genesis 5.0 >> Repair and Diagnosis >> Body & Frame >> Windows >> Interior >> Crash Pad >> Repair Procedures >> Replacement >> Audio Assembly Replacement

Audio Assembly Replacement

  1. Remove the crash pad side cover.
  2. Remove the lower panel.
  3. Remove the cluster facial panel.
  4. Remove the crash pad side garnish.
  5. Remove the center facial panel.
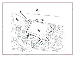
  6. After loosening the audio assembly mounting screws, then remove the audio assembly (A).
  7. Disconnect the connectors (B).
    Fig 1: Identifying Center Facia Connector
    G08853045Courtesy of HYUNDAI MOTOR AMERICA
  8. Installation is the reverse of removal.
    NOTE:
    • Make sure the connector is plugged in properly.