lemon-mirror:
Home >> Hyundai >> 2012 >> Tucson GL, Automatic Trans >> Repair and Diagnosis >> Electrical >> Starter >> Button Engine Start System >> Fob Holder >> Components and Components Location >> Component

Components and Components Location: Component

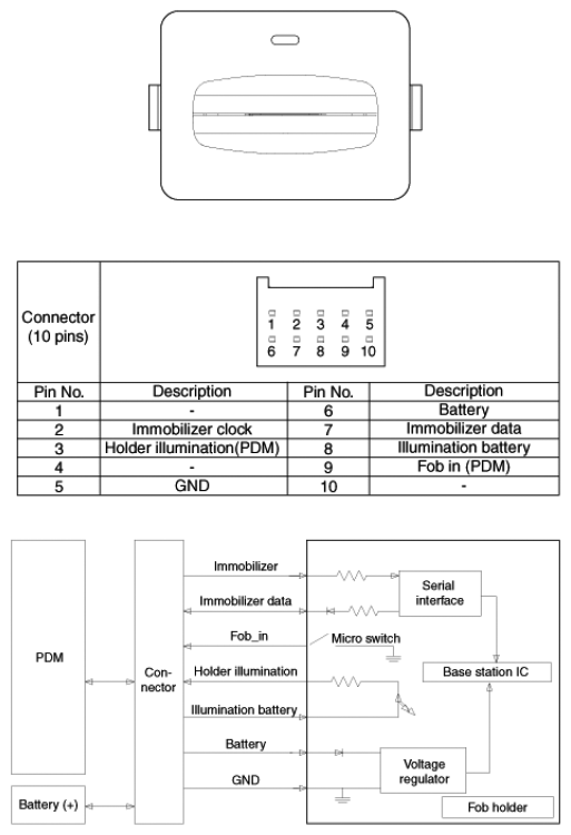
Fig 1: Identifying Fob Holder With Connector Terminals Description Chart
G06873846Courtesy of HYUNDAI MOTOR CO.