lemon-mirror:
Home >> Hyundai >> 2012 >> Tucson GL, Automatic Trans >> Repair and Diagnosis >> Engine Performance >> Engine Control Systems >> Engine Control System >> Canister Close Valve (CCV) >> Repair Procedures >> Removal

Repair Procedures: Removal

  1. Turn the ignition switch OFF and disconnect the battery negative (-) cable.
  2. Lift the vehicle.
  3. Disconnect the canister close valve connector (A).
  4. Disconnect the ventilation hose (B, C) from the fuel tank air filter and canister close valve.
    Fig 1: Identifying Canister Close Valve Connector And Ventilation Hose
    G06872249Courtesy of HYUNDAI MOTOR CO.
  5. Remove the fuel tank air filter and canister close valve assembly (A) after removing the mounting nut (B).
    Fig 2: Identifying Fuel Tank Air Filter And Canister Close Valve Assembly With Mounting Nut
    G06872250Courtesy of HYUNDAI MOTOR CO.
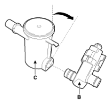
  6. Release the lever (A), and then separate the canister close valve (B) from the fuel tank air filter (C) after rotating it in the direction of the arrow in the figure.
    Fig 3: Identifying Lever
    G06872251Courtesy of HYUNDAI MOTOR CO.
    Fig 4: Identifying Canister Close Valve And Fuel Tank Air Filter
    G06872252Courtesy of HYUNDAI MOTOR CO.